ГОСТ 13496.20-2014
МЕЖГОСУДАРСТВЕННЫЙ СТАНДАРТ
КОРМА, КОМБИКОРМА, КОМБИКОРМОВОЕ СЫРЬЕ
Метод определения остаточных количеств пестицидов
Feeds, mixed feeds and raw material. Method for determining residual quantities of pesticides
МКС 65.120
Дата введения 2016-01-01
Предисловие
Цели, основные принципы и общие правила проведения работ по межгосударственной стандартизации установлены ГОСТ 1.0 "Межгосударственная система стандартизации. Основные положения" и ГОСТ 1.2 "Межгосударственная система стандартизации. Стандарты межгосударственные, правила и рекомендации по межгосударственной стандартизации. Правила разработки, принятия, обновления и отмены"
Сведения о стандарте
1 РАЗРАБОТАН Открытым акционерным обществом "Всероссийский научно-исследовательский институт комбикормовой промышленности" (ОАО "ВНИИКП")
2 ВНЕСЕН Межгосударственным техническим комитетом по стандартизации МТК 4 "Комбикорма, белково-витаминные добавки, премиксы"
3 ПРИНЯТ Межгосударственным советом по стандартизации, метрологии и сертификации (протокол от 14 ноября 2014 г. N 72-П)
За принятие проголосовали:
Краткое наименование страны по МК (ИСО 3166) 004-97 | Код страны по | Сокращенное наименование национального органа по стандартизации |
Армения | AM | Минэкономики Республики Армения |
Киргизия | KG | Кыргызстандарт |
Россия | RU | Росстандарт |
4 Приказом Федерального агентства по техническому регулированию и метрологии от 17 ноября 2014 г. N 1586-ст межгосударственный стандарт ГОСТ 13496.20-2014 введен в действие в качестве национального стандарта Российской Федерации с 1 января 2016 г.
5 ВЗАМЕН ГОСТ 13496.20-87
6 ИЗДАНИЕ (август 2020 г.) с Изменением N 1 (ИУС 11-2017)
Информация о введении в действие (прекращении действия) настоящего стандарта и изменений к нему на территории указанных выше государств публикуется в указателях национальных стандартов, издаваемых в этих государствах, а также в сети Интернет на сайтах соответствующих национальных органов по стандартизации.
В случае пересмотра, изменения или отмены настоящего стандарта соответствующая информация будет опубликована на официальном интернет-сайте Межгосударственного совета по стандартизации, метрологии и сертификации в каталоге "Межгосударственные стандарты"
1 Область применения
Настоящий стандарт распространяется на корма, комбикорма и комбикормовое сырье и устанавливает метод определения в них остаточных количеств хлорорганических пестицидов изомеров ГХЦГ (-ГХЦГ,
-ГХЦГ,
-ГХЦГ) и метаболитов ДДТ (ДДТ, ДДД, ДДЕ) с применением тонкослойной хроматографии.
Нижние пределы обнаружения и количественного определения пестицидов составляют 0,01 мг/кг для бета-изомера ГХЦГ и 0,02 мг/кг для альфа-, гамма-изомеров ГХЦГ и метаболитов ДДТ.
(Измененная редакция, Изм. N 1).
2 Нормативные ссылки
В настоящем стандарте использованы нормативные ссылки на следующие межгосударственные стандарты:
ГОСТ 12.1.004 Система стандартов безопасности труда. Пожарная безопасность. Общие требования
ГОСТ 12.1.005 Система стандартов безопасности труда. Общие санитарно-гигиенические требования к воздуху рабочей зоны
ГОСТ 12.1.007 Система стандартов безопасности труда. Вредные вещества. Классификация и общие требования безопасности
ГОСТ 12.1.019 Система стандартов безопасности труда. Электробезопасность. Общие требования и номенклатура видов защиты
ГОСТ 12.2.007.0 Система стандартов безопасности труда. Изделия электротехнические. Общие требования безопасности
ГОСТ 12.4.009 Система стандартов безопасности труда. Пожарная техника для защиты объектов. Основные виды. Размещение и обслуживание
ГОСТ 12.4.021 Система стандартов безопасности труда. Системы вентиляционные. Общие требования
ГОСТ 334 Бумага масштабно-координатная. Технические условия
ГОСТ 892 Калька бумажная. Технические условия
ГОСТ 1277 Реактивы. Серебро азотнокислое. Технические условия
ГОСТ 1770 (ИСО 1042-83, ИСО 4788-80) Посуда мерная лабораторная стеклянная. Цилиндры, мензурки, колбы, пробирки. Общие технические условия
ГОСТ 2603 Реактивы. Ацетон. Технические условия
ГОСТ 3760 Реактивы. Аммиак водный. Технические условия
ГОСТ 3956 Силикагель технический. Технические условия
ГОСТ 4166 Реактивы. Натрий сернокислый. Технические условия
ГОСТ 4204 Реактивы. Кислота серная. Технические условия
ГОСТ 6709 Вода дистиллированная. Технические условия
ГОСТ 9147 Посуда и оборудование лабораторные фарфоровые. Технические условия
ГОСТ 12026 Бумага фильтровальная лабораторная. Технические условия
ГОСТ 13496.0 Комбикорма, комбикормовое сырье. Методы отбора проб
ГОСТ 13586.3 Зерно. Правила приемки и методы отбора проб
ГОСТ 13979.0 Жмыхи, шроты и горчичный порошок. Правила приемки и методы отбора проб
ГОСТ 17681 Мука животного происхождения. Методы испытаний
ГОСТ 19908 Тигли, чаши, стаканы, колбы, воронки, пробирки и наконечники из прозрачного кварцевого стекла. Общие технические условия
ГОСТ 20363 Бумага чертежная прозрачная. Технические условия
ГОСТ 25336 Посуда и оборудование лабораторные стеклянные. Типы, основные параметры и размеры
ГОСТ 27668 Мука и отруби. Приемка и методы отбора проб
ГОСТ 28311 Дозаторы медицинские лабораторные. Общие технические требования и методы испытаний
ГОСТ 29227 (ИСО 835-1-81) Посуда лабораторная стеклянная. Пипетки градуированные. Часть 1. Общие требования
ГОСТ OIML R 76-1 Государственная система обеспечения единства измерений. Весы неавтоматического действия. Часть 1. Метрологические и технические требования. Испытания
ГОСТ ISO 6497 Корма. Отбор проб
ГОСТ ISO 6498 Корма, комбикорма. Подготовка проб для испытаний
ГОСТ ИСО 5725-1 Точность (правильность и прецизионность) методов и результатов измерений. Часть 1. Основные положения и определения*
________________
* В Российской Федерации действует ГОСТ Р ИСО 5725-1-2002 "Точность (правильность и прецизионность) методов и результатов измерений. Часть 1. Основные положения и определения".
ГОСТ ИСО 5725-2 Точность (правильность и прецизионность) методов и результатов измерений. Часть 2. Основной метод определения повторяемости и воспроизводимости стандартного метода измерений**
________________
** В Российской Федерации действует ГОСТ Р ИСО 5725-2-2002 "Точность (правильность и прецизионность) методов и результатов измерений. Часть 2. Основной метод определения повторяемости и воспроизводимости стандартного метода измерений".
ГОСТ ИСО 5725-6 Точность (правильность и прецизионность) методов и результатов измерений. Часть 6. Использование значений точности на практике***
________________
*** В Российской Федерации действует ГОСТ Р ИСО 5725-6-2002 "Точность (правильность и прецизионность) методов и результатов измерений. Часть 6. Использование значений точности на практике".
Примечание - При пользовании настоящим стандартом целесообразно проверить действие ссылочных стандартов и классификаторов на официальном интернет-сайте Межгосударственного совета по стандартизации, метрологии и сертификации (www.easc.by) или по указателям национальных стандартов, издаваемым в государствах, указанных в предисловии, или на официальных сайтах соответствующих национальных органов по стандартизации. Если на документ дана недатированная ссылка, то следует использовать документ, действующий на текущий момент, с учетом всех внесенных в него изменений. Если заменен ссылочный документ, на который дана датированная ссылка, то следует использовать указанную версию этого документа. Если после принятия настоящего стандарта в ссылочный документ, на который дана датированная ссылка, внесено изменение, затрагивающее положение, на которое дана ссылка, то это положение применяется без учета данного изменения. Если ссылочный документ отменен без замены, то положение, в котором дана ссылка на него, применяется в части, не затрагивающей эту ссылку.
(Измененная редакция, Изм. N 1).
3 Сущность метода
Сущность метода заключается в экстракции пестицидов из анализируемой пробы ацетоном, очистке экстракта на хроматографической колонке с силикагелем, дополнительной очистке концентрированной серной кислотой и хроматографировании на пластинках для тонкослойной хроматографии с использованием гексана в качестве подвижной фазы.
4 Требования техники безопасности
4.1 При выполнении испытаний необходимо соблюдать требования техники безопасности при работе с химическими реактивами по ГОСТ 12.1.007, требования электробезопасности при работе с электроприборами по ГОСТ 12.1.019 и ГОСТ 12.2.007.0, а также требования, изложенные в технической документации на используемые приборы.
4.2 Работа с химическими реактивами должна проводиться в вытяжном шкафу.
4.3 Помещение должно быть оснащено вентиляционными системами по ГОСТ 12.4.021, соответствовать требованиям пожаробезопасности по ГОСТ 12.1.004 и иметь средства пожаротушения по ГОСТ 12.4.009.
4.4 Содержание вредных веществ в воздухе не должно превышать допустимых значений по ГОСТ 12.1.005.
5 Условия проведения испытаний
При подготовке и проведении испытаний должны быть соблюдены следующие условия:
- температура окружающей среды | от 15°С до 25°С; |
- относительная влажность воздуха, не более | 80%; |
- атмосферное давление | (97±10) кПа. |
6 Средства измерений, вспомогательное оборудование, материалы и реактивы
6.1 Средства измерений
6.1.1 Весы неавтоматического действия с пределами допускаемой абсолютной погрешности ±0,0001 г и ±0,01 г по ГОСТ OIML R 76-1 или нормативным документам, действующим на территории государства, принявшего стандарт.
6.1.2. Цилиндры мерные 1(2, 2а, 3, 4) - 50(100) -2 по ГОСТ 1770.
6.1.3 Колбы мерные 2-25(50, 100) -1 по ГОСТ 1770.
6.1.4 Пробирки мерные П-2-10-0,1 ХС по ГОСТ 1770.
6.1.5 Пипетки градуированные 1(2)-1(1а, 2, 2а)-1-1(10) по ГОСТ 29227.
6.1.6 Дозаторы пипеточные одноканальные переменного объема 10-100 мм, 100-1000 мм
по ГОСТ 28311.
Примечания
1 Средства измерений должны быть проверены в установленные сроки.
2 Допускается использование других средств измерений, имеющих аналогичные или лучшие метрологические характеристики.
6.2 Вспомогательное оборудование, посуда и материалы
6.2.1 Аппарат для встряхивания.
6.2.2 Мельница лабораторная.
6.2.3 Шкаф сушильный лабораторный с регулируемой температурой.
6.2.4 Баня водяная лабораторная с регулируемой температурой.
6.2.5 Камера для хроматографирования.
6.2.6 Испаритель вакуумный ротационный.
6.2.7 Прибор для УФ-облучения.
6.2.8 Пластинки хроматографические, размером 150x150 мм или стеклянные (см. приложение А).
6.2.9 Пипетки Пастера или микрошприцы.
6.2.10 Воронки стеклянные В-56(100) ХС по ГОСТ 25336.
6.2.11 Воронки делительные ВД-1(2, 3) -250 ХС по ГОСТ 25336.
6.2.12 Колбы конические Кн-1-250-29/32(34/35) -ТХС по ГОСТ 25336.
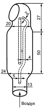
6.2.13 Колонки хроматографические стеклянные (см. рисунок 1).
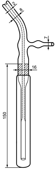
6.2.14 Пульверизатор стеклянный (см. рисунки 2, 3).
|
|
|
Рисунок 1 | Рисунок 2 | Рисунок 3 |
6.2.15 Силикагель технический АСКГ по ГОСТ 3956.
6.2.16 Кварцевые чаши 50(100) по ГОСТ 19908 или выпарительные чашки 2 по ГОСТ 9147.
6.2.17 Сита с размером стороны квадратной ячейки 1,00 и 0,15 мм.
6.2.18 Штатив лабораторный ШЛ.
6.2.19 Палочки стеклянные с оплавленными концами.
6.2.20 Бумага масштабно-координатная по ГОСТ 334.
6.2.21 Бумага универсальная индикаторная.
6.2.22 Фильтры обеззоленные по ГОСТ 12026.
6.2.23 Калька бумажная натуральная по ГОСТ 892 или бумага чертежная прозрачная по ГОСТ 20363.
6.2.24 Вата гигроскопическая.
6.2.25 Груша резиновая.
Примечание - Допускается использование вспомогательного оборудования с аналогичными техническими характеристиками и материалов по качеству не ниже указанных.
6.3 Реактивы
6.3.1 Ацетон по ГОСТ 2603, ч.д.а.
6.3.2 Гексан, ч.
6.3.3 Кислота серная по ГОСТ 4204, х.ч.
6.3.4 Натрий сернокислый безводный по ГОСТ 4166, х.ч.
6.3.5 Вода дистиллированная по ГОСТ 6709.
6.3.6 Аммиак водный по ГОСТ 3760, ч.д.а.
6.3.7 Серебро азотнокислое по ГОСТ 1277, х.ч.
6.3.8 Межгосударственные стандартные образцы пестицидов:
- ДДТ (4,4'-Дихлордифенилтрихлорэтан),
- ДДД (4,4'-Дихлордифенилдихлорэтан),
- ДДЕ (4,4'-Дихлордифенилтрихлорэтилен),
- -ГХЦГ (
-изомер гексахлорциклогексана),
- -ГХЦГ (
-изомер гексахлорциклогексана),
- -ГХЦГ (
-изомер гексахлорциклогексана).
Примечание - Допускается использование реактивов по качеству не хуже указанных, в том числе импортных.
7 Отбор проб
Отбор проб - по ГОСТ 13496.0, ГОСТ 13586.3, ГОСТ 13979.0, ГОСТ 17681, ГОСТ 27668, ГОСТ ISO 6497.
(Измененная редакция, Изм. N 1).
8 Подготовка проб
Подготовка проб к испытанию - по ГОСТ ISO 6498.
(Измененная редакция, Изм. N 1).
9 Подготовка к проведению испытаний
9.1 Приготовление основных стандартных растворов пестицидов массовой концентрации 200 мкг/см
В мерную колбу вместимостью 50 см (см. 6.1.3) помещают 0,01 г межгосударственного стандартного образца пестицида (см. 6.3.8), взвешенного на весах (см. 6.1.1) с погрешностью ±0,0001 г, добавляют гексан (см. 6.3.2), перемешивают и гексаном доводят объем раствора до метки.
Срок хранения растворов в плотно закрытой стеклянной емкости при температуре от 4°С до 6°С - не более одного года.
9.2 Приготовление рабочих стандартных растворов пестицидов массовой концентрации 20 мкг/см
В мерную пробирку вместимостью 10 см (см. 6.1.4) помещают дозатором (см. 6.1.6) или пипеткой (см. 6.1.5) 1 см основного стандартного раствора пестицида (см. 9.1) и гексаном (см. 6.3.2) доводят объем раствора до метки.
В 0,1 см приготовленного раствора содержится 2 мкг пестицида.
Срок хранения растворов при температуре от 4°С до 6°С - не более 2 мес.
9.3 Приготовление проявляющего реактива
В мерную колбу вместимостью 100 см (см. 6.1.3) помещают 0,5 г азотнокислого серебра (см. 6.3.7), добавляют 5 см
дистиллированной воды (см. 6.3.5), перемешивают, добавляют 7 см
аммиака (см. 6.3.6) и ацетоном (см. 6.3.1) доводят объем раствора до метки.
Срок хранения проявляющего реактива в темном месте - не более 3 сут.
На одну хроматографическую пластинку расходуется 8-10 см проявляющего реактива.
9.4 Подготовка пластинок для хроматографии
Пластинки для хроматографии (см. 6.2.8) перед употреблением промывают дистиллированной водой (см. 6.3.5). Для этого в камеру для хроматографирования (см. 6.2.5) наливают дистиллированную воду на высоту 5-7 мм и помещают в нее пластинку в вертикальном положении. После того как линия фронта подвижного растворителя, в данном случае воды, поднимется на высоту 10 мм от верхнего края пластинки, ее вынимают и высушивают на воздухе.
Перед использованием пластинку активируют в сушильном шкафу (см. 6.2.3) при температуре 65°С в течение 4-5 мин, а затем с вертикальных сторон отрезают полосы шириной 3 мм, что способствует выравниванию фронта растворителя и улучшает разделение веществ.
9.5 Очистка силикагеля АСКГ
В стеклянную емкость насыпают силикагель (см. 6.2.15), заливают его гексаном (см. 6.3.2) и перемешивают стеклянной палочкой (см. 6.2.19), гексан сливают. Промывку повторяют два-три раза. Промытый силикагель сушат на воздухе в вытяжном шкафу. Хранят в плотно закрытой стеклянной емкости.
9.6 Очистка ваты
В стеклянную емкость помещают вату (см. 6.2.24), заливают ее гексаном (см. 6.3.2), выдерживают 5-10 мин, гексан сливают. Операцию повторяют два-три раза. Очищенную вату помещают в стеклянную воронку (см. 6.2.10) и сушат на воздухе в вытяжном шкафу. Хранят в закрытой стеклянной емкости.
9.7 Подготовка хроматографической колонки
В нижнюю часть хроматографической колонки (см. 6.2.13) помещают кусочек очищенной по 9.6 ваты, насыпают промытый по 9.5 силикагель АСКГ на высоту 70 мм (100 мм - для комбикормов, содержащих травяную муку), уплотняют постукиванием по колонке деревянной палочкой, затем насыпают безводный сернокислый натрий (см. 6.3.4) слоем в 10 мм.
Через колонку пропускают 20 см гексана (см. 6.3.2) и удаляют гексан, продувая колонку с помощью резиновой груши.
10 Проведение испытаний
10.1 Экстракция
20,00 г анализируемой пробы, взвешенной с погрешностью ±0,01 г, помещают в коническую колбу с притертой пробкой вместимостью 250 см (см. 6.2.12), заливают 50 см
ацетона (см. 6.3.1) и перемешивают на аппарате для встряхивания (см. 6.2.1) в течение 1 ч.
Экстракт фильтруют через воронку (см. 6.2.10) с бумажным фильтром (см. 6.2.22) в колбу для отгонки ротационного испарителя (см. 6.2.6) или выпарительную чашку (см. 6.2.16). Затем повторяют экстракцию пробы таким же количеством ацетона и фильтруют экстракт. Экстракты объединяют. Фильтр промывают двумя порциями ацетона по 5-10 см.
Допускается экстракцию проводить следующим способом: залитую ацетоном анализируемую пробу оставляют на 12-15 ч (как правило, на ночь) и экстрагируют, встряхивая на аппарате в течение 1 ч.
Ацетон из объединенного экстракта испаряют на вакуумном ротационном испарителе (см. 6.2.6). Допускается испарять ацетон под тягой в вытяжном шкафу при комнатной температуре или, для ускорения испарения, на водяной бане (см. 6.2.4) при температуре не выше 50°С.
Маслянистый остаток растворяют в 5 см гексана и количественно переносят содержимое в хроматографическую колонку, подготовленную по 9.7, омывая чашку еще тремя порциями гексана по 3-5 см
. Колонку продувают с помощью резиновой груши, прошедший через колонку гексан отбрасывают.
Затем пестициды извлекают (элюируют), пропуская 100 см гексана через колонку порциями по 10-20 см
. Элюат концентрируют до объема нескольких капель на вакуумном ротационном испарителе или под тягой вытяжного шкафа.
10.2 Очистка экстракта
Если концентрированный элюат маслянистый или темный, то его очищают концентрированной серной кислотой. Для этого его количественно переносят в делительную воронку (см. 6.2.11), омывая колбу (чашку) двумя-тремя порциями гексана по 2-3 см, добавляют концентрированную серную кислоту (см. 6.3.3) порциями по 20 см
, каждый раз интенсивно встряхивая воронку в течение 1 мин.
После расслоения нижний (кислотный) слой отбрасывают.
Очистку повторяют от двух до шести раз до прекращения окрашивания нижнего слоя (серной кислоты) в желтый цвет.
Удалив кислоту, элюат промывают дистиллированной водой до нейтральной реакции промывных вод, контроль рН проводят по индикаторной бумаге (см. 6.2.21). Промытый элюат фильтруют через воронку с сернокислым натрием (см. 6.3.4) в колбу (или чашку). Делительную воронку и сернокислый натрий промывают двумя порциями гексана по 5 см.
Очищенный элюат концентрируют до объема нескольких капель.
10.3 Хроматографическая идентификация пестицидов
Концентрированный элюат наносят пипеткой Пастера или микрошприцем (см. 6.2.9) на подготовленную хроматографическую пластинку (см. 9.4) на расстоянии 15 мм (линия старта) от ее нижнего края. Диаметр пятна не должен превышать 5 мм. Чашку (колбу) смывают тремя порциями гексана по 0,2 см, которые наносят в центр этого же пятна периодическими прикосновениями пипетки. Справа и слева на расстоянии 20 мм от пробы наносят в три точки рабочие стандартные растворы, содержащие 4,0; 1,0; 0,5 мкг пестицида. Допускается наносить рабочие стандартные растворы другой концентрации пестицида.
На дно хроматографической камеры (см. 6.2.5) наливают гексан на высоту 5-7 мм. Через 30 мин в камеру помещают пластинку с нанесенными растворами.
После того как линия фронта подвижного растворителя (гексана) поднимется на 100 мм от линии старта, пластинку вынимают из камеры и дают испариться растворителю в течение 1-2 мин. Затем пластинку снова помещают в эту же камеру и дают опять подняться растворителю на высоту 100 мм от линии старта. Пластинку вынимают, высушивают на воздухе, опрыскивают с помощью пульверизатора (см. 6.2.14) проявляющим реактивом (см. 9.3), высушивают и помещают под УФ-лучи ртутно-кварцевой лампы (см. 6.2.7) на 10-15 мин.
При наличии хлорорганических пестицидов на пластинке появляются пятна серо-черного цвета на белом фоне, которые располагаются в следующем порядке (снизу вверх): -ГХЦГ,
-ГХЦГ, ДДД,
-ГХЦГ, ДДТ, ДДЕ.
Для количественного определения пестицида проводят измерение площадей пятна пробы и пятен стандарта пестицида, учитывая визуально интенсивность их окрасок.
Окрашенные пятна копируют на кальку (см. 6.2.23), их площадь вычисляют с помощью масштабно-координатной бумаги (см. 6.2.20).
Примечание - Каждый разделенный пестицид можно количественно определить другими методами. Для этого необходимо снять с хроматографической пластины слой сорбента окрашенного пятна соответствующего пестицида, экстрагировать из него пестицид и определить его содержание методом спектрофотометрии, люминесцентным, флуоресцентным или другим методом.
(Измененная редакция, Изм. N 1).
11 Обработка результатов
Массовую долю каждого пестицида в пробе X, мг/кг, вычисляют по формуле
, (1)
где - количество пестицида в нанесенном на пластинку рабочем стандартном растворе, мкг;
- площадь пятна анализируемой пробы, мм
;
- коэффициент потерь пестицида в процессе обработки пробы;
- масса анализируемой пробы, г;
- площадь пятна рабочего стандартного раствора, мм
.
За окончательный результат измерения принимают среднеарифметическое значение двух параллельных определений, выполненных в условиях повторяемости и удовлетворяющих условию приемлемости 12.2.
12 Контроль точности результатов испытаний
12.1 Контроль точности результатов испытаний должен соответствовать ГОСТ ИСО 5725-1*, ГОСТ ИСО 5725-2* и ГОСТ ИСО 5725-6*.
12.2 Приемлемость результатов испытаний, полученных в условиях повторяемости (сходимости)
________________
* Доступ к международным и зарубежным документам, упомянутым в тексте, можно получить, обратившись в Службу поддержки пользователей. - .
Абсолютное расхождение между результатами двух отдельных независимых испытаний, полученными одним и тем же методом на одной лабораторной пробе в одной и той же лаборатории одним и тем же оператором на одном и том же экземпляре оборудования в течение короткого промежутка времени при доверительной вероятности P=0,95, не должно превышать предела повторяемости (сходимости) , приведенного в таблице 1.
Таблица 1 - Метрологические характеристики определения остаточных количеств пестицидов
Наименование пестицида | Содержание пестицида в пробе, мг/кг | Допускаемое расхождение между результатами двух параллельных испытаний (предел повторяемости) r, мг/кг | Допускаемое расхождение между результатами испытаний в двух разных лабораториях (предел воспроизводимости) R, мг/кг |
Метаболиты ДДТ | От 0,02 до 0,05 включ. | 0,01 | 0,02 |
Св. 0,05 | 0,02 | 0,04 | |
Бета-изомер ГХЦГ | От 0,01 до 0,02 включ. | 0,005 | 0,0075 |
Альфа-, бета-, гамма-изомеры ГХЦГ | Св. 0,02 до 0,05 включ. | 0,01 | 0,02 |
" 0,05 " 0,10 " | 0,02 | 0,04 | |
" 0,10 " 0,20 " | 0,03 | 0,06 | |
" 0,20 | 0,04 | 0,08 |
(Измененная редакция, Изм. N 1).
Если расхождение между результатами параллельных испытаний превышает предел повторяемости, то испытание повторяют, начиная со взятия анализируемой пробы.
Если расхождение между результатами параллельных испытаний вновь превышает предел повторяемости, выясняют и устраняют причины плохой повторяемости результатов испытаний.
Допускается визуальное определение наличия пестицида сравнением интенсивности окраски пятен пестицида межгосударственного стандартного образца и пробы на пластинке.
12.3 Приемлемость результатов испытаний, полученных в условиях воспроизводимости
Абсолютное расхождение между результатами двух отдельных испытаний, полученными одним и тем же методом на идентичных пробах в разных лабораториях разными операторами на различных экземплярах оборудования при доверительной вероятности P=0,95, не должно превышать предела воспроизводимости R, приведенного в таблице 1.
При выполнении этого условия приемлемы оба результата испытаний, и в качестве окончательного может быть использовано их среднеарифметическое значение. Если это условие не соблюдается, могут быть использованы методы оценки приемлемости результатов измерений согласно ГОСТ ИСО 5725-6.
Приложение А
(справочное)
Подготовка стеклянных пластинок
Стеклянную пластинку размером 90x120 или 130x180 мм тщательно промывают содой, хромовой смесью, дистиллированной водой. Высушенную пластинку промывают этиловым спиртом или эфиром и покрывают сорбционной массой.
Для приготовления сорбционной массы в фарфоровой ступке смешивают 50 г окиси алюминия, просеянной через сито со стороной ячейки 0,15 мм, с 5 г сернокислого кальция, прибавляют 75 см дистиллированной воды и перемешивают до образования однородной массы.
Сорбционную массу готовят также из силикагеля, сернокислого кальция и дистиллированной воды. Силикагель предварительно очищают от примесей. Для этого его заливают на 18-20 ч раствором соляной кислоты, разбавленной в соотношении 1:1 по объему, раствор кислоты сливают, промывают силикагель водой и кипятят 2-3 ч с раствором азотной кислоты, разбавленной в соотношении 1:1 по объему, промывают проточной водопроводной, затем дистиллированной водой до нейтральной реакции промывных вод, сушат в сушильном шкафу 4-6 ч при температуре 130°С. Силикагель дробят и просеивают через сито со стороной ячейки 0,15 мм. 35 г просеянного силикагеля смешивают с 2 г сернокислого кальция и 90 см дистиллированной воды.
10 г сорбционной массы равномерно распределяют по всей поверхности стеклянной пластинки путем ее покачивания. Сушат пластинки при комнатной температуре 18-20 ч. Допускается сушить пластинки 20 мин при комнатной температуре, а затем 45 мин в сушильном шкафу при температуре 110°С.
УДК 636.085.3:006.354 | МКС 65.120 |
Ключевые слова: корма, комбикорма, комбикормовое сырье, хлорорганические пестициды (ДДТ, ДДД, ДДЕ, | |
Электронный текст документа
и сверен по:
, 2020


