ГОСТ 8882-2021
МЕЖГОСУДАРСТВЕННЫЙ СТАНДАРТ
Подшипники качения
ПОДШИПНИКИ ШАРИКОВЫЕ РАДИАЛЬНЫЕ ОДНОРЯДНЫЕ С УПЛОТНЕНИЯМИ
Общие технические требования
Rolling bearings. Single-row deep groove ball bearings with seals. General technical requirements
МКС 21.100.20
Дата введения 2022-03-01
Предисловие
Цели, основные принципы и общие правила проведения работ по межгосударственной стандартизации установлены ГОСТ 1.0 "Межгосударственная система стандартизации. Основные положения" и ГОСТ 1.2 "Межгосударственная система стандартизации. Стандарты межгосударственные, правила и рекомендации по межгосударственной стандартизации. Правила разработки, принятия, обновления и отмены"
Сведения о стандарте
1 РАЗРАБОТАН Открытым акционерным обществом "Управляющая компания ЕПК" (ОАО "УК ЕПК")
2 ВНЕСЕН Межгосударственным техническим комитетом по стандартизации МТК 307 "Подшипники качения"
3 ПРИНЯТ Межгосударственным советом по стандартизации, метрологии и сертификации (протокол от 24 декабря 2021 г. N 146-П)
За принятие проголосовали:
Краткое наименование страны по МК (ИСО 3166) 004-97 | Код страны по МК (ИСО 3166) 004-97 | Сокращенное наименование национального органа по стандартизации |
Азербайджан | AZ | Азстандарт |
Армения | AM | ЗАО "Национальный орган по стандартизации и метрологии" Республики Армения |
Беларусь | BY | Госстандарт Республики Беларусь |
Казахстан | KZ | Госстандарт Республики Казахстан |
Киргизия | KG | Кыргызстандарт |
Россия | RU | Росстандарт |
Туркмения | TM | Главгосслужба "Туркменстандартлары" |
Узбекистан | UZ | Узстандарт |
(Поправка. ИУС № 9-2025), (Поправка. ИУС № 11-2025).
4 Приказом Федерального агентства по техническому регулированию и метрологии от 13 января 2022 г. N 8-ст межгосударственный стандарт ГОСТ 8882-2021 введен в действие в качестве национального стандарта Российской Федерации с 1 марта 2022 г.
5 ВЗАМЕН ГОСТ 8882-75
Информация о введении в действие (прекращении действия) настоящего стандарта и изменений к нему на территории указанных выше государств публикуется в указателях национальных стандартов, издаваемых в этих государствах, а также в сети Интернет на сайтах соответствующих национальных органов по стандартизации.
В случае пересмотра, изменения или отмены настоящего стандарта соответствующая информация будет опубликована на официальном интернет-сайте Межгосударственного совета по стандартизации, метрологии и сертификации в каталоге "Межгосударственные стандарты"
ВНЕСЕНЫ: поправка, опубликованная в ИУС № 9, 2025 год; поправка, опубликованная в ИУС № 11, 2025 год
Поправиа внесены изготовителем базы данных
1 Область применения
Настоящий стандарт распространяется на шариковые радиальные однорядные подшипники с одним или двумя уплотнениями, изготовленные по ГОСТ 520, включая подшипники с канавкой под установочное пружинное кольцо (далее - подшипники) и устанавливает их номинальные присоединительные размеры, конструктивные исполнения и указания по применению и эксплуатации.
Настоящий стандарт устанавливает общие технические требования к данной группе однородной продукции в дополнение к техническим требованиям ГОСТ 520.
2 Нормативные ссылки
В настоящем стандарте использованы нормативные ссылки на следующие межгосударственные стандарты:
ГОСТ 520 Подшипники качения. Общие технические условия
ГОСТ 2893 Подшипники качения. Канавки под упорные пружинные кольца. Кольца упорные пружинные. Размеры
ГОСТ 3189 Подшипники шариковые и роликовые. Система условных обозначений
ГОСТ 3325 Подшипники качения. Поля допусков и технические требования к посадочным поверхностям валов и корпусов. Посадки
ГОСТ 3478 Подшипники качения. Присоединительные размеры
ГОСТ 18855 (ISO 281:2007) Подшипники качения. Динамическая грузоподъемность и номинальный ресурс
ГОСТ 24955 Подшипники качения. Термины и определения
ГОСТ 25256 Подшипники качения. Допуски. Термины и определения
Примечание - При пользовании настоящим стандартом целесообразно проверить действие ссылочных стандартов на официальном интернет-сайте Межгосударственного совета по стандартизации, метрологии и сертификации (www.easc.by) или по указателям национальных стандартов, издаваемым в государствах, указанных в предисловии, или на официальных сайтах соответствующих национальных органов по стандартизации. Если на документ дана недатированная ссылка, то следует использовать документ, действующий на текущий момент, с учетом всех внесенных в него изменений. Если заменен ссылочный документ, на который дана датированная ссылка, то следует использовать указанную версию этого документа. Если после принятия настоящего стандарта в ссылочный документ, на который дана датированная ссылка, внесено изменение, затрагивающее положение, на которое дана ссылка, то это положение применяется без учета данного изменения. Если ссылочный документ отменен без замены, то положение, в котором дана ссылка на него, применяется в части, не затрагивающей эту ссылку.
3 Термины и определения
В настоящем стандарте применены термины по ГОСТ 24955 и ГОСТ 25256, а также следующие термины с соответствующими определениями:
3.1 шарик (ball): Тело качения со сферической поверхностью.
3.2 номинальный угол контакта (nominal contact angle): Угол между радиальной плоскостью и номинальной линией действия силы, являющейся результирующей сил, передаваемых кольцом подшипника на тело качения.
3.3 шариковый радиальный подшипник (deep groove ball bearing): Подшипник качения с шариками в качестве тел качения, предназначенный для восприятия преимущественно радиальной нагрузки, имеющий номинальный угол контакта 0°.
3.4 шариковый радиальный однорядный подшипник (single-row deep groove ball bearing): Шариковый радиальный подшипник с одним рядом тел качения.
3.5 уплотнение (seal): Кольцеобразное устройство, состоящее из одной или нескольких деталей, прикрепленное к наружному кольцу подшипника и контактирующее с внутренним кольцом или образующее с ним узкий лабиринтный зазор.
Примечание - Уплотнение служит для предотвращения утечки смазочного материала и препятствует проникновению загрязнений и влаги внутрь подшипника.
3.6 предварительно смазанный подшипник (prelubricated bearing): Подшипник качения, заполненный смазочным материалом на предприятии-изготовителе.
4 Обозначения
В настоящем стандарте применены следующие обозначения:
B | - номинальная ширина подшипника; |
d | - номинальный диаметр отверстия подшипника; |
D | - номинальный наружный диаметр подшипника; |
r | - размер монтажной фаски; |
- размер монтажной фаски наружного кольца со стороны канавки под установочное пружинное кольцо; | |
- наименьший единичный размер монтажной фаски; | |
| - наименьший единичный размер монтажной фаски наружного кольца со стороны канавки под установочное пружинное кольцо. |
5 Классификация
5.1 Условное обозначение подшипника
5.1.1 Условное обозначение подшипника - по ГОСТ 3189.
5.1.2 При заказе подшипников следует указывать: слово "Подшипник", условное обозначение подшипника и (через пробел) ГОСТ 520-2011.
Примеры
1 Подшипник с номинальным диаметром отверстия 6 мм (обозначение диаметра 6), с номинальным наружным диаметром 19 мм (серии диаметров 2), с внутренним диаметром до 10 мм (цифра 0), шариковый радиальный (типа 0), однорядный с двумя уплотнениями (конструктивного исполнения 18), номинальной шириной 6 мм (серии ширин 0), класса точности нормальный, изготовленный по ГОСТ 520-2011:
Подшипник 180026 ГОСТ 520-2011.
2 Подшипник с номинальным диаметром отверстия 90 мм (обозначение диаметра 18), с номинальным наружным диаметром 160 мм (серии диаметров 2), шариковый радиальный (типа 0), однорядный с двумя уплотнениями и с канавкой под установочное пружинное кольцо (конструктивного исполнения 75), номинальной шириной 30 мм (серии ширин 0), с заложенной смазкой Литол-24 по ГОСТ 21150-2017 (обозначение смазочного материала С17), класса точности нормальный, изготовленный по ГОСТ 520-2011:
Подшипник 750218С17 ГОСТ 520-2011.
5.2 Конструктивные исполнения
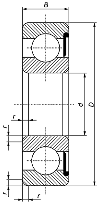
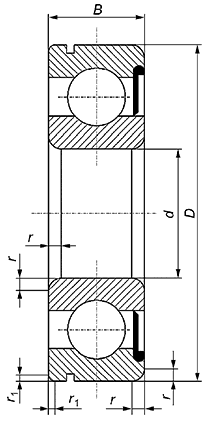
5.2.1 Конструктивное исполнение подшипников характеризуется количеством защитных уплотнений и наличием канавки под установочное пружинное кольцо.
5.2.2 Конструктивные исполнения подшипников указаны в таблице 1 и на рисунках 1-4.
Таблица 1 - Конструктивные исполнения подшипников
Обозначение конструктивного исполнения | Описание конструктивного исполнения | Рисунок* |
16 | С одним уплотнением | 1 |
18 | С двумя уплотнениями | 2 |
25 | С одним уплотнением и с канавкой под установочное пружинное кольцо | 3 |
75 | С двумя уплотнениями и с канавкой под установочное пружинное кольцо | 4 |
* Рисунки поясняют главные особенности конструктивного исполнения, но не определяют точную внутреннюю конструкцию подшипника. Уплотнения изображены условно. Изображения сепараторов на рисунках отсутствуют. | ||
|
Рисунок 1 - Конструктивное исполнение 16
|
Рисунок 2 - Конструктивное исполнение 18
|
Рисунок 3 - Конструктивное исполнение 25
|
Рисунок 4 - Конструктивное исполнение 75
5.3 Класс точности
Класс точности - по ГОСТ 520.
5.4 Присоединительные размеры
5.4.1 Номинальный диаметр отверстия, номинальный наружный диаметр, номинальная ширина подшипника, наименьший единичный размер монтажной фаски и наименьший единичный размер монтажной фаски наружного кольца со стороны канавки под установочное пружинное кольцо должны соответствовать значениям, указанным в таблицах 2-9.
5.4.2 Наибольший единичный размер монтажных фасок - по ГОСТ 3478.
Примечание - Определяют в соответствии с минимальным размером соответствующей монтажной фаски и номинальным диаметром отверстия подшипника.
5.4.3 Наибольший единичный размер монтажных фасок наружного кольца со стороны канавки под установочное пружинное кольцо - по ГОСТ 2893.
Примечание - Определяют в соответствии с минимальным размером соответствующей монтажной фаски и номинальным наружным диаметром подшипника.
Таблица 2 - Серия диаметров 1, серия ширин 0
Основное условное обозначение подшипника конструктивного исполнения | d | D | B |
| ||||
16 | 18 | 25 | 75 | мм | ||||
16001/1,5
| 18001/1,5 | - | - | 1,5 | 6 | 2,5 | 0,15 | - |
160012
| 180012 | - | - | 2,0 | 7 | 2,8 | 0,15 | - |
16001/2,5
| 18001/2,5 | - | - | 2,5 | 8 | 2,8 | 0,15 | - |
160013
| 180013 | - | - | 3 | 9 | 3 | 0,15 | - |
160014
| 180014 | - | - | 4 | 12 | 4 | 0,2 | - |
160015
| 180015 | - | - | 5 | 14 | 5 | 0,2 | - |
160016
| 180016 | - | - | 6 | 17 | 6 | 0,3 | - |
160017
| 180017 | 250017 | 750017 | 7 | 19 | 6 | 0,3 | 0,3 |
160018
| 180018 | 250018 | 750018 | 8 | 22 | 7 | 0,3 | 0,3 |
160019
| 180019 | 250019 | 750019 | 9 | 24 | 7 | 0,3 | 0,3 |
160100
| 180100 | 250100 | 750100 | 10 | 26 | 8 | 0,3 | 0,3 |
160101
| 180101 | 250101 | 750101 | 12 | 28 | 8 | 0,3 | 0,3 |
160102
| 180102 | 250102 | 750102 | 15 | 32 | 9 | 0,3 | 0,3 |
160103
| 180103 | 250103 | 750103 | 17 | 35 | 10 | 0,3 | 0,3 |
160104
| 180104 | 250104 | 750104 | 20 | 42 | 12 | 0,6 | 0,5 |
1601/22
| 1801/22 | 2501/22 | 7501/22 | 22 | 44 | 12 | 0,6 | 0,5 |
160105
| 180105 | 250105 | 750105 | 25 | 47 | 12 | 0,6 | 0,5 |
1601/28
| 1801/28 | 2501/28 | 7501/28 | 28 | 52 | 12 | 0,6 | 0,5 |
160106
| 180106 | 250106 | 750106 | 30 | 55 | 13 | 1,0 | 0,5 |
1601/32
| 1801/32 | 2501/32 | 7501/32 | 32 | 58 | 13 | 1,0 | 0,5 |
160107
| 180107 | 250107 | 750107 | 35 | 62 | 14 | 1,0 | 0,5 |
160108
| 180108 | 250108 | 750108 | 40 | 68 | 15 | 1,0 | 0,5 |
160109
| 180109 | 250109 | 750109 | 45 | 75 | 16 | 1,0 | 0,5 |
160110
| 180110 | 250110 | 750110 | 50 | 80 | 16 | 1,0 | 0,5 |
160111
| 180111 | 250111 | 750111 | 55 | 90 | 18 | 1,1 | 0,5 |
160112
| 180112 | 250112 | 750112 | 60 | 95 | 18 | 1,1 | 0,5 |
160113
| 180113 | 250113 | 750113 | 65 | 100 | 18 | 1,1 | 0,5 |
160114
| 180114 | 250114 | 750114 | 70 | 110 | 20 | 1,1 | 0,5 |
160115
| 180115 | 250115 | 750115 | 75 | 115 | 20 | 1,1 | 0,5 |
160116
| 180116 | 250116 | 750116 | 80 | 125 | 22 | 1,1 | 0,5 |
160117
| 180117 | 250117 | 750117 | 85 | 130 | 22 | 1,1 | 0,5 |
160118
| 180118 | 250118 | 750118 | 90 | 140 | 24 | 1,5 | 0,5 |
160119
| 180119 | 250119 | 750119 | 95 | 145 | 24 | 1,5 | 0,5 |
160120
| 180120 | 250120 | 750120 | 100 | 150 | 24 | 1,5 | 0,5 |
160121
| 180121 | 250121 | 750121 | 105 | 160 | 26 | 2,0 | 0,5 |
160122
| 180122 | 250122 | 750122 | 110 | 170 | 28 | 2,0 | 0,5 |
160124 | 180124 | 250124 | 750124 | 120 | 180 | 28 | 2,0 | 0,5 |
* Значения действительны только для подшипников конструктивных исполнений 25 и 75. | ||||||||
Таблица 3 - Серия диаметров 2, серия ширин 0
Основное условное обозначение подшипника конструктивного исполнения | d | D | B |
| ||||
16 | 18 | 25 | 75 | мм | ||||
160023
| 180023 | - | - | 3 | 10 | 4 | 0,15 | - |
160024
| 180024 | 250024 | 750024 | 4 | 13 | 5 | 0,2 | 0,2 |
160025
| 180025 | 250025 | 750025 | 5 | 16 | 5 | 0,3 | 0,2 |
160026
| 180026 | 250026 | 750026 | 6 | 19 | 6 | 0,3 | 0,3 |
160027
| 180027 | 250027 | 750027 | 7 | 22 | 7 | 0,3 | 0,3 |
160028
| 180028 | 250028 | 750028 | 8 | 24 | 8 | 0,3 | 0,3 |
160029
| 180029 | 250029 | 750029 | 9 | 26 | 8 | 0,3 | 0,3 |
160200
| 180200 | 250200 | 750200 | 10 | 30 | 9 | 0,6 | 0,5 |
160201
| 180201 | 250201 | 750201 | 12 | 32 | 10 | 0,6 | 0,5 |
160202
| 180202 | 250202 | 750202 | 15 | 35 | 11 | 0,6 | 0,5 |
160203
| 180203 | 250203 | 750203 | 17 | 40 | 12 | 0,6 | 0,5 |
160204
| 180204 | 250204 | 750204 | 20 | 47 | 14 | 1,0 | 0,5 |
1602/22
| 1802/22 | 2502/22 | 7502/22 | 22 | 50 | 14 | 1,0 | 0,5 |
160205
| 180205 | 250205 | 750205 | 25 | 52 | 15 | 1,0 | 0,5 |
1602/28
| 1802/28 | 2502/28 | 7502/28 | 28 | 58 | 16 | 1,0 | 0,5 |
160206
| 180206 | 250206 | 750206 | 30 | 62 | 16 | 1,0 | 0,5 |
1602/32
| 1802/32 | 2502/32 | 7502/32 | 32 | 65 | 17 | 1,0 | 0,5 |
160207
| 180207 | 250207 | 750207 | 35 | 72 | 17 | 1,1 | 0,5 |
160208
| 180208 | 250208 | 750208 | 40 | 80 | 18 | 1,1 | 0,5 |
160209
| 180209 | 250209 | 750209 | 45 | 85 | 19 | 1,1 | 0,5 |
160210
| 180210 | 250210 | 750210 | 50 | 90 | 20 | 1,1 | 0,5 |
160211
| 180211 | 250211 | 750211 | 55 | 100 | 21 | 1,5 | 0,5 |
160212
| 180212 | 250212 | 750212 | 60 | 110 | 22 | 1,5 | 0,5 |
160213
| 180213 | 250213 | 750213 | 65 | 120 | 23 | 1,5 | 0,5 |
160214
| 180214 | 250214 | 750214 | 70 | 125 | 24 | 1,5 | 0,5 |
160215
| 180215 | 250215 | 750215 | 75 | 130 | 25 | 1,5 | 0,5 |
160216
| 180216 | 250216 | 750216 | 80 | 140 | 26 | 2,0 | 0,5 |
160217
| 180217 | 250217 | 750217 | 85 | 150 | 28 | 2,0 | 0,5 |
160218
| 180218 | 250218 | 750218 | 90 | 160 | 30 | 2,0 | 0,5 |
160219
| 180219 | 250219 | 750219 | 95 | 170 | 32 | 2,1 | 0,5 |
160220
| 180220 | 250220 | 750220 | 100 | 180 | 34 | 2,1 | 0,5 |
160221
| 180221 | 250221 | 750221 | 105 | 190 | 36 | 2,1 | 0,5 |
160222
| 180222 | 250222 | 750222 | 110 | 200 | 38 | 2,1 | 0,5 |
160224 | 180224 | 250224 | 750224 | 120 | 215 | 40 | 2,1 | 0,5 |
* Значения действительны только для подшипников конструктивных исполнений 25 и 75. | ||||||||
Таблица 4 - Серия диаметров 5, серия ширин 0
Основное условное обозначение подшипника конструктивного исполнения | d | D | B |
| ||||
16 | 18 | 25 | 75 | мм | ||||
160500
| 180500 | 250500 | 750500 | 10 | 30 | 14 | 0,6 | 0,5 |
160501
| 180501 | 250501 | 750501 | 12 | 32 | 14 | 0,6 | 0,5 |
160502
| 180502 | 250502 | 750502 | 15 | 35 | 14 | 0,6 | 0,5 |
160503
| 180503 | 250503 | 750503 | 17 | 40 | 16 | 0,6 | 0,5 |
160504
| 180504 | 250504 | 750504 | 20 | 47 | 18 | 1,0 | 0,5 |
160/22
| 180/22 | 250/22 | 750/22 | 22 | 50 | 18 | 1,0 | 0,5 |
160505
| 180505 | 250505 | 750505 | 25 | 52 | 18 | 1,0 | 0,5 |
160/28
| 180/28 | 250/28 | 750/28 | 28 | 58 | 19 | 1,0 | 0,5 |
160506
| 180506 | 250506 | 750506 | 30 | 62 | 20 | 1,0 | 0,5 |
160/32
| 180/32 | 250/32 | 750/32 | 32 | 65 | 21 | 1,0 | 0,5 |
160507
| 180507 | 250507 | 750507 | 35 | 72 | 23 | 1,1 | 0,5 |
160508
| 180508 | 250508 | 750508 | 40 | 80 | 23 | 1,1 | 0,5 |
160509
| 180509 | 250509 | 750509 | 45 | 85 | 23 | 1,1 | 0,5 |
160510
| 180510 | 250510 | 750510 | 50 | 90 | 23 | 1,1 | 0,5 |
160511
| 180511 | 250511 | 750511 | 55 | 100 | 25 | 1,5 | 0,5 |
160512
| 180512 | 250512 | 750512 | 60 | 110 | 28 | 1,5 | 0,5 |
160513
| 180513 | 250513 | 750513 | 65 | 120 | 31 | 1,5 | 0,5 |
160514
| 180514 | 250514 | 750514 | 70 | 125 | 31 | 1,5 | 0,5 |
160515
| 180515 | 250515 | 750515 | 75 | 130 | 31 | 1,5 | 0,5 |
160516
| 180516 | 250516 | 750516 | 80 | 140 | 33 | 2,0 | 0,5 |
160517
| 180517 | 250517 | 750517 | 85 | 150 | 36 | 2,0 | 0,5 |
160518
| 180518 | 250518 | 750518 | 90 | 160 | 40 | 2,0 | 0,5 |
160519
| 180519 | 250519 | 750519 | 95 | 170 | 43 | 2,1 | 0,5 |
160520
| 180520 | 250520 | 750520 | 100 | 180 | 46 | 2,1 | 0,5 |
160521
| 180521 | 250521 | 750521 | 105 | 190 | 50 | 2,1 | 0,5 |
160522
| 180522 | 250522 | 750522 | 110 | 200 | 53 | 2,1 | 0,5 |
160524 | 180524 | 250524 | 750524 | 120 | 215 | 58 | 2,1 | 0,5 |
* Значения действительны только для подшипников конструктивных исполнений 25 и 75. | ||||||||
Таблица 5 - Серия диаметров 2, серия ширин 3
Основное условное обозначение подшипника конструктивного исполнения | d | D | B |
| ||||
16 | 18 | 25 | 75 | мм | ||||
3160023
| 3180023 | - | - | 3 | 10 | 5,0 | 0,15 | - |
3160024
| 3180024 | 3250024 | 3750024 | 4 | 13 | 7,0 | 0,2 | 0,2 |
3160025
| 3180025 | 3250025 | 3750025 | 5 | 16 | 8,0 | 0,3 | 0,2 |
3160026
| 3180026 | 3250026 | 3750026 | 6 | 19 | 10,0 | 0,3 | 0,3 |
3160027
| 3180027 | 3250027 | 3750027 | 7 | 22 | 11,0 | 0,3 | 0,3 |
3160028
| 3180028 | 3250028 | 3750028 | 8 | 24 | 12,0 | 0,3 | 0,3 |
3160029
| 3180029 | 3250029 | 3750029 | 9 | 26 | 13,0 | 0,3 | 0,3 |
3160200
| 3180200 | 3250200 | 3750200 | 10 | 30 | 14,3 | 0,6 | 0,5 |
3160201
| 3180201 | 3250201 | 3750201 | 12 | 32 | 15,9 | 0,6 | 0,5 |
3160202
| 3180202 | 3250202 | 3750202 | 15 | 35 | 15,9 | 0,6 | 0,5 |
3160203
| 3180203 | 3250203 | 3750203 | 17 | 40 | 17,5 | 0,6 | 0,5 |
3160204
| 3180204 | 3250204 | 3750204 | 20 | 47 | 20,6 | 1,0 | 0,5 |
31602/22
| 31802/22 | 32502/22 | 37502/22 | 22 | 50 | 20,6 | 1,0 | 0,5 |
3160205
| 3180205 | 3250205 | 3750205 | 25 | 52 | 20,6 | 1,0 | 0,5 |
31602/28
| 31802/28 | 32502/28 | 37502/28 | 28 | 58 | 23,0 | 1,0 | 0,5 |
3160206
| 3180206 | 3250206 | 3750206 | 30 | 62 | 23,8 | 1,0 | 0,5 |
31602/32
| 31802/32 | 32502/32 | 37502/32 | 32 | 65 | 25,0 | 1,0 | 0,5 |
3160207
| 3180207 | 3250207 | 3750207 | 35 | 72 | 27,0 | 1,1 | 0,5 |
3160208
| 3180208 | 3250208 | 3750208 | 40 | 80 | 30,2 | 1,1 | 0,5 |
3160209
| 3180209 | 3250209 | 3750209 | 45 | 85 | 30,2 | 1,1 | 0,5 |
3160210
| 3180210 | 3250210 | 3750210 | 50 | 90 | 30,2 | 1,1 | 0,5 |
3160211
| 3180211 | 3250211 | 3750211 | 55 | 100 | 33,3 | 1,5 | 0,5 |
3160212
| 3180212 | 3250212 | 3750212 | 60 | 110 | 36,5 | 1,5 | 0,5 |
3160213
| 3180213 | 3250213 | 3750213 | 65 | 120 | 38,1 | 1,5 | 0,5 |
3160214
| 3180214 | 3250214 | 3750214 | 70 | 125 | 39,7 | 1,5 | 0,5 |
3160215
| 3180215 | 3250215 | 3750215 | 75 | 130 | 41,3 | 1,5 | 0,5 |
3160216
| 3180216 | 3250216 | 3750216 | 80 | 140 | 44,4 | 2,0 | 0,5 |
3160217
| 3180217 | 3250217 | 3750217 | 85 | 150 | 49,2 | 2,0 | 0,5 |
3160218
| 3180218 | 3250218 | 3750218 | 90 | 160 | 52,4 | 2,0 | 0,5 |
3160219
| 3180219 | 3250219 | 3750219 | 95 | 170 | 55,6 | 2,1 | 0,5 |
3160220
| 3180220 | 3250220 | 3750220 | 100 | 180 | 60,3 | 2,1 | 0,5 |
3160221
| 3180221 | 3250221 | 3750221 | 105 | 190 | 65,1 | 2,1 | 0,5 |
3160222
| 3180222 | 3250222 | 3750222 | 110 | 200 | 69,8 | 2,1 | 0,5 |
3160224 | 3180224 | 3250224 | 3750224 | 120 | 215 | 76,0 | 2,1 | 0,5 |
* Значения действительны только для подшипников конструктивных исполнений 25 и 75. | ||||||||
Таблица 6 - Серия диаметров 3, серия ширин 0
Основное условное обозначение подшипника конструктивного исполнения | d | D | B |
| ||||
16 | 18 | 25 | 75 | мм | ||||
160033
| 180033 | 250033 | 750033 | 3 | 13 | 5 | 0,2 | 0,2 |
160034
| 180034 | 250034 | 750034 | 4 | 16 | 5 | 0,3 | 0,2 |
160035
| 180035 | 250035 | 750035 | 5 | 19 | 6 | 0,3 | 0,3 |
160036
| 180036 | 250036 | 750036 | 6 | 22 | 7 | 0,3 | 0,3 |
160037
| 180037 | 250037 | 750037 | 7 | 26 | 9 | 0,3 | 0,3 |
160038
| 180038 | 250038 | 750038 | 8 | 28 | 9 | 0,3 | 0,3 |
160039
| 180039 | 250039 | 750039 | 9 | 30 | 10 | 0,6 | 0,5 |
160300
| 180300 | 250300 | 750300 | 10 | 35 | 11 | 0,6 | 0,5 |
160301
| 180301 | 250301 | 750301 | 12 | 37 | 12 | 1,0 | 0,5 |
160302
| 180302 | 250302 | 750302 | 15 | 42 | 13 | 1,0 | 0,5 |
160303
| 180303 | 250303 | 750303 | 17 | 47 | 14 | 1,0 | 0,5 |
160304
| 180304 | 250304 | 750304 | 20 | 52 | 15 | 1,1 | 0,5 |
1603/22
| 1803/22 | 2503/22 | 7503/22 | 22 | 56 | 16 | 1,1 | 0,5 |
160305
| 180305 | 250305 | 750305 | 25 | 62 | 17 | 1,1 | 0,5 |
1603/28
| 1803/28 | 2503/28 | 7503/28 | 28 | 68 | 18 | 1,1 | 0,5 |
160306
| 180306 | 250306 | 750306 | 30 | 72 | 19 | 1,1 | 0,5 |
1603/32
| 1803/32 | 2503/32 | 7503/32 | 32 | 75 | 20 | 1,1 | 0,5 |
160307
| 180307 | 250307 | 750307 | 35 | 80 | 21 | 1,5 | 0,5 |
160308
| 180308 | 250308 | 750308 | 40 | 90 | 23 | 1,5 | 0,5 |
160309
| 180309 | 250309 | 750309 | 45 | 100 | 25 | 1,5 | 0,5 |
160310
| 180310 | 250310 | 750310 | 50 | 110 | 27 | 2,0 | 0,5 |
160311
| 180311 | 250311 | 750311 | 55 | 120 | 29 | 2,0 | 0,5 |
160312
| 180312 | 250312 | 750312 | 60 | 130 | 31 | 2,1 | 0,5 |
160313
| 180313 | 250313 | 750313 | 65 | 140 | 33 | 2,1 | 0,5 |
160314
| 180314 | 250314 | 750314 | 70 | 150 | 35 | 2,1 | 0,5 |
160315
| 180315 | 250315 | 750315 | 75 | 160 | 37 | 2,1 | 0,5 |
160316
| 180316 | 250316 | 750316 | 80 | 170 | 39 | 2,1 | 0,5 |
160317
| 180317 | 250317 | 750317 | 85 | 180 | 41 | 3,0 | 0,5 |
160318
| 180318 | 250318 | 750318 | 90 | 190 | 43 | 3,0 | 0,5 |
160319
| 180319 | 250319 | 750319 | 95 | 200 | 45 | 3,0 | 0,5 |
160320
| 180320 | 250320 | 750320 | 100 | 215 | 47 | 3,0 | 0,5 |
160322 | 180322 | 250322 | 750322 | 110 | 240 | 50 | 3,0 | 0,5 |
* Значения действительны только для подшипников конструктивных исполнений 25 и 75. | ||||||||
Таблица 7 - Серия диаметров 6, серия ширин 0
Основное условное обозначение подшипника конструктивного исполнения | d | D | B | ||
16 | 18 | мм | |||
160066
| 180066 | 6 | 22 | 11 | 0,3 |
160067
| 180067 | 7 | 26 | 13 | 0,3 |
160068
| 180068 | 8 | 28 | 13 | 0,3 |
160069
| 180069 | 9 | 30 | 14 | 0,6 |
160600
| 180600 | 10 | 35 | 17 | 0,6 |
160601
| 180601 | 12 | 37 | 17 | 1,0 |
160602
| 180602 | 15 | 42 | 17 | 1,0 |
160603
| 180603 | 17 | 47 | 19 | 1,0 |
160604
| 180604 | 20 | 52 | 21 | 1,1 |
1606/22
| 1806/22 | 22 | 56 | 21 | 1,1 |
160605
| 180605 | 25 | 62 | 24 | 1,1 |
1606/28
| 1806/28 | 28 | 68 | 24 | 1,1 |
160606
| 180606 | 30 | 72 | 27 | 1,1 |
1606/32
| 1806/32 | 32 | 75 | 28 | 1,1 |
160607
| 180607 | 35 | 80 | 31 | 1,5 |
160608
| 180608 | 40 | 90 | 33 | 1,5 |
160609
| 180609 | 45 | 100 | 36 | 1,5 |
160610
| 180610 | 50 | 110 | 40 | 2,0 |
160611
| 180611 | 55 | 120 | 43 | 2,0 |
160612
| 180612 | 60 | 130 | 46 | 2,1 |
160613
| 180613 | 65 | 140 | 48 | 2,1 |
160614
| 180614 | 70 | 150 | 51 | 2,1 |
160615
| 180615 | 75 | 160 | 55 | 2,1 |
160616
| 180616 | 80 | 170 | 58 | 2,1 |
160617
| 180617 | 85 | 180 | 60 | 3,0 |
160618
| 180618 | 90 | 190 | 64 | 3,0 |
160619
| 180619 | 95 | 200 | 67 | 3,0 |
160620
| 180620 | 100 | 215 | 73 | 3,0 |
160621
| 180621 | 105 | 225 | 77 | 3,0 |
160622
| 180622 | 110 | 240 | 80 | 3,0 |
160624 | 180624 | 120 | 260 | 86 | 3,0 |
Таблица 8 - Серия диаметров 4, серия ширин 0
Основное условное обозначение подшипника конструктивного исполнения | d | D | B |
| ||||
16 | 18 | 25 | 75 | мм | ||||
160403
| 180403 | - | - | 17 | 62 | 17 | 1,1 | - |
160404
| 180404 | - | - | 20 | 72 | 19 | 1,1 | - |
160405
| 180405 | - | - | 25 | 80 | 21 | 1,5 | - |
160406
| 180406 | 250406 | 750406 | 30 | 90 | 23 | 1,5 | 0,5 |
160407
| 180407 | 250407 | 750407 | 35 | 100 | 25 | 1,5 | 0,5 |
160408
| 180408 | 250408 | 750408 | 40 | 110 | 27 | 2,0 | 0,5 |
160409 | 180409 | 250409 | 750409 | 45 | 120 | 29 | 2,0 | 0,5 |
* Значения действительны только для подшипников конструктивных исполнений 25 и 75. | ||||||||
Таблица 9 - Серия диаметров 1, серия ширин 3
Основное условное обозначение подшипника конструктивного исполнения | d | D | B |
| ||||
16 | 18 | 25 | 75 | мм | ||||
316001/1,5
| 318001/1,5 | - | - | 1,5 | 6 | 3,0 | 0,15 | - |
3160012
| 3180012 | - | - | 2,0 | 7 | 3,5 | 0,15 | - |
316001/2,5
| 318001/2,5 | - | - | 2,5 | 8 | 4 | 0,15 | - |
3160013
| 3180013 | - | - | 3 | 9 | 5 | 0,15 | - |
3160014
| 3180014 | - | - | 4 | 12 | 6 | 0,2 | - |
3160015
| 3180015 | - | - | 5 | 14 | 7 | 0,2 | - |
3160016
| 3180016 | - | - | 6 | 17 | 9 | 0,3 | - |
3160017
| 3180017 | 3250017 | 3750017 | 7 | 19 | 10 | 0,3 | 0,3 |
3160018
| 3180018 | 3250018 | 3750018 | 8 | 22 | 11 | 0,3 | 0,3 |
3160019
| 3180019 | 3250019 | 3750019 | 9 | 24 | 12 | 0,3 | 0,3 |
3160100
| 3180100 | 3250100 | 3750100 | 10 | 26 | 12 | 0,3 | 0,3 |
3160101
| 3180101 | 3250101 | 3750101 | 12 | 28 | 12 | 0,3 | 0,3 |
3160102
| 3180102 | 3250102 | 3750102 | 15 | 32 | 13 | 0,3 | 0,3 |
3160103
| 3180103 | 3250103 | 3750103 | 17 | 35 | 14 | 0,3 | 0,3 |
3160104
| 3180104 | 3250104 | 3750104 | 20 | 42 | 16 | 0,6 | 0,5 |
31601/22
| 31801/22 | 32501/22 | 37501/22 | 22 | 44 | 16 | 0,6 | 0,5 |
3160105
| 3180105 | 3250105 | 3750105 | 25 | 47 | 16 | 0,6 | 0,5 |
31601/28
| 31801/28 | 32501/28 | 37501/28 | 28 | 52 | 18 | 0,6 | 0,5 |
3160106
| 3180106 | 3250106 | 3750106 | 30 | 55 | 19 | 1,0 | 0,5 |
31601/32
| 31801/32 | 32501/32 | 37501/32 | 32 | 58 | 20 | 1,0 | 0,5 |
3160107
| 3180107 | 3250107 | 3750107 | 35 | 62 | 20 | 1,0 | 0,5 |
3160108
| 3180108 | 3250108 | 3750108 | 40 | 68 | 21 | 1,0 | 0,5 |
3160109
| 3180109 | 3250109 | 3750109 | 45 | 75 | 23 | 1,0 | 0,5 |
3160110
| 3180110 | 3250110 | 3750110 | 50 | 80 | 23 | 1,0 | 0,5 |
3160111
| 3180111 | 3250111 | 3750111 | 55 | 90 | 26 | 1,1 | 0,5 |
3160112
| 3180112 | 3250112 | 3750112 | 60 | 95 | 26 | 1,1 | 0,5 |
3160113
| 3180113 | 3250113 | 3750113 | 65 | 100 | 26 | 1,1 | 0,5 |
3160114
| 3180114 | 3250114 | 3750114 | 70 | 110 | 30 | 1,1 | 0,5 |
3160115
| 3180115 | 3250115 | 3750115 | 75 | 115 | 30 | 1,1 | 0,5 |
3160116
| 3180116 | 3250116 | 3750116 | 80 | 125 | 34 | 1,1 | 0,5 |
3160117
| 3180117 | 3250117 | 3750117 | 85 | 130 | 34 | 1,1 | 0,5 |
3160118
| 3180118 | 3250118 | 3750118 | 90 | 140 | 37 | 1,5 | 0,5 |
3160119
| 3180119 | 3250119 | 3750119 | 95 | 145 | 37 | 1,5 | 0,5 |
3160120
| 3180120 | 3250120 | 3750120 | 100 | 150 | 37 | 1,5 | 0,5 |
3160121
| 3180121 | 3250121 | 3750121 | 105 | 160 | 41 | 2,0 | 0,5 |
3160122
| 3180122 | 3250122 | 3750122 | 110 | 170 | 45 | 2,0 | 0,5 |
3160124 | 3180124 | 3250124 | 3750124 | 120 | 180 | 46 | 2,0 | 0,5 |
* Значения действительны только для подшипников конструктивных исполнений 25 и 75. | ||||||||
6 Технические требования
6.1 Основные требования
Подшипники должны соответствовать требованиям настоящего стандарта, ГОСТ 520, действующей конструкторской документации изготовителя.
6.2 Конструктивные требования
6.2.1 Дополнительные требования к наружным кольцам с канавкой под установочное пружинное кольцо - по ГОСТ 2893.
6.2.2 Допускается подшипники конструктивного исполнения 16 изготавливать с кольцами подшипников конструктивного исполнения 18, подшипники конструктивного исполнения 25 - с кольцами подшипников конструктивного исполнения 75.
6.2.3 Уплотнения не должны выступать за торцы колец подшипника, а также касаться сепаратора под действием допустимых радиальных и осевых нагрузок.
6.2.4 Проворачивание уплотнений относительно наружного кольца не допускается.
6.2.5 В подшипниках конструктивных исполнений 18 и 75 должен быть заложен смазочный материал. Марку и массу закладываемого смазочного материала указывают в конструкторской документации. При вращении подшипников допускается незначительное выделение смазочного материала между внутренним кольцом и уплотнением. Выделение смазочного материала между наружным кольцом и уплотнением не допускается.
6.2.6 Требования к радиальному внутреннему зазору, радиальному и осевому биениям наружного и внутреннего колец собранного подшипника действительны до монтажа уплотнений и закладки смазочного материала в подшипники.
6.3 Маркировка
Маркировка - по ГОСТ 520.
6.4 Упаковка
Упаковка - по ГОСТ 520.
7 Указания по применению и эксплуатации
7.1 Подшипники используют для работы при радиальной нагрузке, а также комбинации радиальной и осевой нагрузок.
7.2 Подшипники используют для работы при чисто осевой нагрузке, действующей в обоих направлениях, при условии, что ее значение не должно превышать 50% статической радиальной грузоподъемности, а для подшипников с номинальным диаметром отверстия до 12 мм и серий диаметров 9 и 1 значение осевой нагрузки не должно превышать 25% статической радиальной грузоподъемности.
7.3 Подшипники с канавкой под установочное пружинное кольцо устанавливают в корпусе с фиксацией в осевом направлении при помощи установочного пружинного кольца.
Примечание - Такой способ крепления упрощает конструкцию подшипникового узла.
7.4 При использовании предварительно смазанных подшипников с двумя уплотнениями в процессе эксплуатации техническое обслуживание не проводят.
7.5 Интервалы допусков и технические требования к посадочным поверхностям валов и корпусов, указания по выбору посадок и допустимые углы взаимного перекоса колец подшипников - по ГОСТ 3325.
7.6 Наибольшие радиусы галтелей валов и корпусов - по ГОСТ 3478.
7.7 Перед монтажом подшипники с заложенным смазочным материалом не следует промывать и не следует нагревать до температуры выше 80°С.
7.8 Динамическая эквивалентная нагрузка, рассчитанная по ГОСТ 18855, должна составлять не менее 1% динамической радиальной грузоподъемности.
Примечание - Данная нагрузка необходима для исключения излишнего проскальзывания в контакте шариков с дорожками качения. В особенности это важно при высоких частотах вращения и больших ускорениях. Если нагрузка в подшипниковом узле недостаточна, создают дополнительную радиальную или осевую нагрузку.
УДК 621.822.7:006.354 | МКС 21.100.20 |
Ключевые слова: подшипники качения, шариковый радиальный однорядный подшипник, уплотнение, предварительно смазанный подшипник, присоединительные размеры, угол контакта, классификация, присоединительные размеры, технические требования, указания по эксплуатации | |
Редакция документа с учетом
изменений и дополнений подготовлена



