ГОСТ 4657-2022
МЕЖГОСУДАРСТВЕННЫЙ СТАНДАРТ
Подшипники качения
ПОДШИПНИКИ ИГОЛЬЧАТЫЕ ОДНОРЯДНЫЕ С КОЛЬЦАМИ, ОБРАБОТАННЫМИ РЕЗАНИЕМ
Общие технические требования
Rolling bearings. Single-row needle roller bearings with machined rings. General technical requirements
МКС 21.100.20
Дата введения 2022-11-01
Предисловие
Цели, основные принципы и общие правила проведения работ по межгосударственной стандартизации установлены ГОСТ 1.0 "Межгосударственная система стандартизации. Основные положения" и ГОСТ 1.2 "Межгосударственная система стандартизации. Стандарты межгосударственные, правила и рекомендации по межгосударственной стандартизации. Правила разработки, принятия, обновления и отмены"
Сведения о стандарте
1 РАЗРАБОТАН Открытым акционерным обществом "Управляющая компания ЕПК" (ОАО "УК ЕПК")
2 ВНЕСЕН Межгосударственным техническим комитетом по стандартизации МТК 307 "Подшипники качения"
3 ПРИНЯТ Межгосударственным советом по стандартизации, метрологии и сертификации (протокол от 14 июля 2022 г. N 61)
За принятие проголосовали:
Краткое наименование страны по МК (ИСО 3166) 004-97 | Код страны по МК (ИСО 3166) 004-97 | Сокращенное наименование национального органа по стандартизации |
Азербайджан | AZ | Азстандарт |
Армения | AM | ЗАО "Национальный орган по стандартизации и метрологии" Республики Армения |
Беларусь | BY | Госстандарт Республики Беларусь |
Казахстан | KZ | Госстандарт Республики Казахстан |
Россия | RU | Росстандарт |
Узбекистан | UZ | Узстандарт |
(Поправка. ИУС № 11-2025).
4 Приказом Федерального агентства по техническому регулированию и метрологии от 5 августа 2022 г. N 739-ст межгосударственный стандарт ГОСТ 4657-2022 введен в действие в качестве национального стандарта Российской Федерации с 1 ноября 2022 г.
5 Настоящий стандарт разработан с учетом основных нормативных положений международного стандарта ISO 1206:2018* "Подшипники качения. Игольчатые роликовые подшипники, с кольцами, обработанными резанием. Присоединительные размеры, геометрические характеристики изделий (GPS) и значения допусков" ["Rolling bearings - Needle roller bearings with machined rings - Boundary dimensions, geometrical product specifications (GPS) and tolerance values", NEQ]
________________
* Доступ к международным и зарубежным документам, упомянутым в тексте, можно получить, обратившись в Службу поддержки пользователей. - .
6 ВЗАМЕН ГОСТ 4657-82
Информация о введении в действие (прекращении действия) настоящего стандарта и изменений к нему на территории указанных выше государств публикуется в указателях национальных стандартов, издаваемых в этих государствах, а также в сети Интернет на сайтах соответствующих национальных органов по стандартизации.
В случае пересмотра, изменения или отмены настоящего стандарта соответствующая информация будет опубликована на официальном интернет-сайте Межгосударственного совета по стандартизации, метрологии и сертификации в каталоге "Межгосударственные стандарты"
ВНЕСЕНА поправка, опубликованная в ИУС № 11, 2025 год
Поправка внесена изготовителем базы данных
1 Область применения
Настоящий стандарт распространяется на игольчатые однорядные подшипники с кольцами, обработанными резанием, включая подшипники без внутреннего кольца, (далее - подшипники), изготовленные по ГОСТ 520, и устанавливает их классификацию по конструктивным исполнениям и присоединительным размерам, указания по применению и эксплуатации, а также дополнительные технические требования к данной группе однородной продукции.
2 Нормативные ссылки
В настоящем стандарте использованы нормативные ссылки на следующие межгосударственные стандарты:
ГОСТ 520 Подшипники качения. Общие технические условия
ГОСТ 3189 Подшипники шариковые и роликовые. Система условных обозначений
ГОСТ 3325 Подшипники качения. Поля допусков и технические требования к посадочным поверхностям валов и корпусов. Посадки
ГОСТ 3478 Подшипники качения. Присоединительные размеры
ГОСТ 24955 Подшипники качения. Термины и определения
ГОСТ 25256 Подшипники качения. Допуски. Термины и определения
ГОСТ 25347 (ISO 286-2:2010) Основные нормы взаимозаменяемости. Характеристики изделий геометрические. Система допусков на линейные размеры. Ряды допусков, предельные отклонения отверстий и валов
Примечание - При пользовании настоящим стандартом целесообразно проверить действие ссылочных стандартов на официальном интернет-сайте Межгосударственного совета по стандартизации, метрологии и сертификации (www.easc.by) или по указателям национальных стандартов, издаваемым в государствах, указанных в предисловии, или на официальных сайтах соответствующих национальных органов по стандартизации. Если на документ дана недатированная ссылка, то следует использовать документ, действующий на текущий момент, с учетом всех внесенных в него изменений. Если заменен ссылочный документ, на который дана датированная ссылка, то следует использовать указанную версию этого документа. Если после принятия настоящего стандарта в ссылочный документ, на который дана датированная ссылка, внесено изменение, затрагивающее положение, на которое дана ссылка, то это положение применяется без учета данного изменения. Если ссылочный документ отменен без замены, то положение, в котором дана ссылка на него, применяется в части, не затрагивающей эту ссылку.
3 Термины и определения
В настоящем стандарте применены термины по ГОСТ 24955 и ГОСТ 25256, а также следующие термины с соответствующими определениями:
3.1 цилиндрический ролик: Ролик, имеющий номинально цилиндрическую поверхность.
3.2 игольчатый ролик: Цилиндрический ролик малого диаметра с большим соотношением длины к диаметру.
Примечания
1 Общепринято, что длина игольчатого ролика от трех до десяти раз больше его диаметра, который обычно не превышает 6 мм.
2 Торцы игольчатого ролика могут быть различной формы.
3.3 радиальный подшипник: Подшипник качения, предназначенный для восприятия преимущественно радиальной нагрузки, имеющий номинальный угол контакта 0°.
3.4 игольчатый подшипник: Роликовый радиальный подшипник с игольчатыми роликами в качестве тел качения.
3.5 игольчатый однорядный подшипник: Игольчатый подшипник с одним рядом игольчатых роликов.
3.6 игольчатый подшипник полного заполнения: Игольчатый подшипник, в котором суммарный зазор между игольчатыми роликами меньше диаметра ролика.
Примечание - Подшипник полного заполнения не имеет сепаратора.
3.7 удерживающее пружинное кольцо: Кольцо постоянного сечения с одним разъемом, устанавливаемое в канавке под пружинное кольцо и служащее бортиком, удерживающим сепаратор с игольчатыми роликами в подшипнике.
3.8 смазочная канавка: Кольцевая проточка на наружном кольце подшипника для подвода смазочного материала.
3.9 смазочное отверстие: Отверстие в кольце подшипника для подвода смазочного материала к телам качения.
4 Обозначения
В настоящем стандарте применены следующие обозначения:
- номинальная ширина смазочной канавки;
- номинальная ширина подшипника;
- номинальный диаметр отверстия подшипника;
- номинальный диаметр смазочного отверстия;
- номинальный наружный диаметр подшипника;
- номинальный диаметр отверстия комплекта игольчатых роликов;
- размер монтажной фаски;
- наименьший единичный размер монтажной фаски.
5 Классификация
5.1 Условное обозначение подшипника
5.1.1 Условное обозначение подшипника - по ГОСТ 3189.
5.1.2 При заказе подшипников следует указывать: слово "Подшипник", условное обозначение подшипника и (через пробел) ГОСТ 520-2011.
Примеры
1 Подшипник с номинальным диаметром отверстия 22 мм (обозначение диаметра 22), с номинальным наружным диаметром 39 мм (серии диаметров 9), игольчатый (типа 4) однорядный полного заполнения без внутреннего кольца (конструктивного исполнения 02), номинальной шириной 17 мм (серии ширин 4), класса точности нормальный, изготовленный по ГОСТ 520-2011:
Подшипник 40249/22 ГОСТ 520-2011.
2 Подшипник с номинальным диаметром отверстия 100 мм (обозначение диаметра 20), с номинальным наружным диаметром 125 мм (серии диаметров 8), игольчатый (типа 4), однорядный полного заполнения (конструктивного исполнения 07), номинальной шириной 25 мм (серии ширин 4), класса точности нормальный, изготовленный по ГОСТ 520-2011:
Подшипник 4074820 ГОСТ 520-2011.
5.2 Конструктивные исполнения
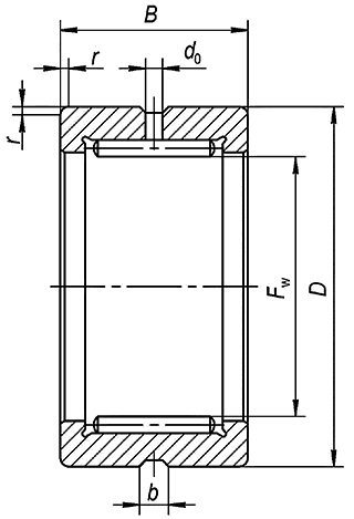
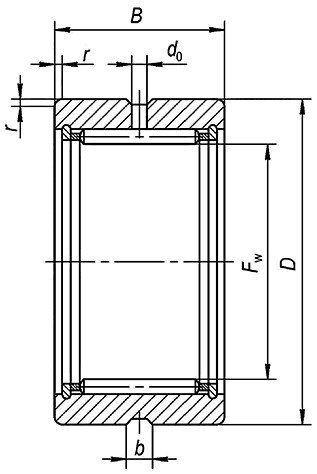
Конструктивные исполнения подшипников указаны в таблице 1 и приведены на рисунках 1-6.
Таблица 1 - Конструктивные исполнения подшипников
Обозначение конструктивного исполнения | Описание конструктивного исполнения | Рисунок* |
02 | Полного заполнения без внутреннего кольца | 1 |
07 | Полного заполнения | 2 |
24 | С сепаратором | 3 |
25 | С сепаратором без внутреннего кольца | 4 |
34 | С сепаратором и с удерживающими пружинными кольцами | 5 |
35 | С сепаратором и с удерживающими пружинными кольцами без внутреннего кольца | 6 |
* Рисунки поясняют главные особенности конструктивного исполнения, но не определяют точную внутреннюю конструкцию подшипника. | ||
|
|
Рисунок 1 - Конструктивное исполнение 02 | Рисунок 2 - Конструктивное исполнение 07 |
|
|
Рисунок 3 - Конструктивное исполнение 24 | Рисунок 4 - Конструктивное исполнение 25 |
|
|
Рисунок 5 - Конструктивное исполнение 34 | Рисунок 6 - Конструктивное исполнение 35 |
5.3 Класс точности
Класс точности - по ГОСТ 520.
5.4 Присоединительные размеры
Номинальный диаметр отверстия, номинальный наружный диаметр, номинальная ширина подшипника, наименьший единичный размер монтажной фаски и номинальный диаметр отверстия комплекта игольчатых роликов должны соответствовать значениям, указанным в таблицах 2-6.
Таблица 2 - Серия диаметров 8, серия ширин 4
Основное условное обозначение подшипника конструктивного исполнения |
|
|
|
|
| |||||
02 | 07 | 24 | 25 | 34 | 35 | мм | ||||
4024820
| 4074820 | 4244820 | 4254820 | 4344820 | 4354820 | 100 | 125 | 25 | 1,0 | 110 |
4024822
| 4074822 | 4244822 | 4254822 | 4344822 | 4354822 | 110 | 140 | 30 | 1,0 | 120 |
4024824
| 4074824 | 4244824 | 4254824 | 4344824 | 4354824 | 120 | 150 | 30 | 1,0 | 130 |
4024826
| 4074826 | 4244826 | 4254826 | 4344826 | 4354826 | 130 | 165 | 35 | 1,1 | 145 |
4024828
| 4074828 | 4244828 | 4254828 | 4344828 | 4354828 | 140 | 175 | 35 | 1,1 | 155 |
4024830
| 4074830 | 4244830 | 4254830 | 4344830 | 4354830 | 150 | 190 | 40 | 1,1 | 165 |
4024832
| 4074832 | 4244832 | 4254832 | 4344832 | 4354832 | 160 | 200 | 40 | 1,1 | 175 |
4024834
| 4074834 | 4244834 | 4254834 | 4344834 | 4354834 | 170 | 215 | 45 | 1,1 | 185 |
4024836
| 4074836 | 4244836 | 4254836 | 4344836 | 4354836 | 180 | 225 | 45 | 1,1 | 195 |
4024838 | 4074838 | 4244838 | 4254838 | 4344838 | 4354838 | 190 | 240 | 50 | 1,5 | 210 |
4024840
| 4074840 | 4244840 | 4254840 | 4344840 | 4354840 | 200 | 250 | 50 | 1,5 | 220 |
4024844
| 4074844 | 4244844 | 4254844 | 4344844 | 4354844 | 220 | 270 | 50 | 1,5 | 240 |
4024848
| 4074848 | 4244848 | 4254848 | 4344848 | 4354848 | 240 | 300 | 60 | 2,0 | 265 |
4024852
| 4074852 | 4244852 | 4254852 | 4344852 | 4354852 | 260 | 320 | 60 | 2,0 | 285 |
4024856 | 4074856 | 4244856 | 4254856 | 4344856 | 4354856 | 280 | 350 | 69 | 2,0 | 305 |
4024860
| 4074860 | 4244860 | 4254860 | 4344860 | 4354860 | 300 | 380 | 80 | 2,1 | 330 |
4024864
| 4074864 | 4244864 | 4254864 | 4344864 | 4354864 | 320 | 400 | 80 | 2,1 | 350 |
4024868
| 4074868 | 4244868 | 4254868 | 4344868 | 4354868 | 340 | 420 | 80 | 2,1 | 370 |
4024872
| 4074872 | 4244872 | 4254872 | 4344872 | 4354872 | 360 | 440 | 80 | 2,1 | 390 |
4024876 | 4074876 | 4244876 | 4254876 | 4344876 | 4354872 | 380 | 480 | 100 | 2,1 | 415 |
Таблица 3 - Серия диаметров 9, серия ширин 4
Основное условное обозначение подшипника конструктивного исполнения |
|
|
|
|
| |||||
02 | 07 | 24 | 25 | 34 | 35 | мм | ||||
4024095 | 4074095 | 4244095 | 4254095 | 4344095 | 4354095 | 5 | 13 | 10 | 0,15
| 7 |
4024096 | 4074096 | 4244096 | 4254096 | 4344096 | 4354096 | 6 | 15 | 10 | 0,15
| 8 |
4024097 | 4074097 | 4244097 | 4254097 | 4344097 | 4354097 | 7 | 17 | 10 | 0,15
| 9 |
4024098 | 4074098 | 4244098 | 4254098 | 4344098 | 4354098 | 8 | 19 | 11 | 0,2
| 10 |
4024099 | 4074099 | 4244099 | 4254099 | 4344099 | 4354099 | 9 | 20 | 11 | 0,3
| 12 |
4024900 | 4074900 | 4244900 | 4254900 | 4344900 | 4354900 | 10 | 22 | 13 | 0,3
| 14 |
4024901 | 4074901 | 4244901 | 4254901 | 4344901 | 4354901 | 12 | 24 | 13 | 0,3
| 16 |
4024902 | 4074902 | 4244902 | 4254902 | 4344902 | 4354902 | 15 | 28 | 13 | 0,3
| 20 |
4024903 | 4074903 | 4244903 | 4254903 | 4344903 | 4354903 | 17 | 30 | 13 | 0,3
| 22 |
4024904 | 4074904 | 4244904 | 4254904 | 4344904 | 4354904 | 20 | 37 | 17 | 0,3
| 25 |
40249/22 | 40749/22 | 42449/22 | 42549/22 | 43449/22 | 43549/22 | 22 | 39 | 17 | 0,3
| 28 |
4024905 | 4074905 | 4244905 | 4254905 | 4344905 | 4354905 | 25 | 42 | 17 | 0,3
| 30 |
40249/28 | 40749/28 | 42449/28 | 42549/28 | 43449/28 | 43549/28 | 28 | 45 | 17 | 0,3
| 32 |
4024906 | 4074906 | 4244906 | 4254906 | 4344906 | 4354906 | 30 | 47 | 17 | 0,3
| 35 |
40249/32 | 40749/32 | 42449/32 | 42549/32 | 43449/32 | 43549/32 | 32 | 52 | 20 | 0,6
| 40 |
4024907 | 4074907 | 4244907 | 4254907 | 4344907 | 4354907 | 35 | 55 | 20 | 0,6
| 42 |
4024908 | 4074908 | 4244908 | 4254908 | 4344908 | 4354908 | 40 | 62 | 22 | 0,6
| 48 |
4024909 | 4074909 | 4244909 | 4254909 | 4344909 | 4354909 | 45 | 68 | 22 | 0,6
| 52 |
4024910 | 4074910 | 4244910 | 4254910 | 4344910 | 4354910 | 50 | 72 | 22 | 0,6
| 58 |
4024911 | 4074911 | 4244911 | 4254911 | 4344911 | 4354911 | 55 | 80 | 25 | 1,0
| 63 |
4024912 | 4074912 | 4244912 | 4254912 | 4344912 | 4354912 | 60 | 85 | 25 | 1,0
| 68 |
4024913 | 4074913 | 4244913 | 4254913 | 4344913 | 4354913 | 65 | 90 | 25 | 1,0
| 72 |
4024914 | 4074914 | 4244914 | 4254914 | 4344914 | 4354914 | 70 | 100 | 30 | 1,0
| 80 |
4024915 | 4074915 | 4244915 | 4254915 | 4344915 | 4354915 | 75 | 105 | 30 | 1,0
| 85 |
4024916 | 4074916 | 4244916 | 4254916 | 4344916 | 4354916 | 80 | 110 | 30 | 1,0
| 90 |
4024917 | 4074917 | 4244917 | 4254917 | 4344917 | 4354917 | 85 | 120 | 35 | 1,1
| 100 |
4024918 | 4074918 | 4244918 | 4254918 | 4344918 | 4354918 | 90 | 125 | 35 | 1,1
| 105 |
4024919 | 4074919 | 4244919 | 4254919 | 4344919 | 4354919 | 95 | 130 | 35 | 1,1
| 110 |
4024920 | 4074920 | 4244920 | 4254920 | 4344920 | 4354920 | 100 | 140 | 40 | 1,1
| 115 |
4024922 | 4074922 | 4244922 | 4254922 | 4344922 | 4354922 | 110 | 150 | 40 | 1,1
| 125 |
4024924 | 4074924 | 4244924 | 4254924 | 4344924 | 4354924 | 120 | 165 | 45 | 1,1
| 135 |
4024926 | 4074926 | 4244926 | 4254926 | 4344926 | 4354926 | 130 | 180 | 50 | 1,5
| 150 |
4024928 | 4074928 | 4244928 | 4254928 | 4344928 | 4354928 | 140 | 190 | 50 | 1,5
| 160 |
4024930 | 4074930 | 4244930 | 4254930 | 4344930 | 4354930 | 150 | 210 | 60 | 2,0
| 175 |
4024932 | 4074932 | 4244932 | 4254932 | 4344932 | 4354932 | 160 | 220 | 60 | 2,0
| 185 |
4024934 | 4074934 | 4244934 | 4254934 | 4344934 | 4354934 | 170 | 230 | 60 | 2,0
| 190 |
4024936 | 4074936 | 4244936 | 4254936 | 4344936 | 4354936 | 180 | 250 | 69 | 2,0
| 205 |
4024938 | 4074938 | 4244938 | 4254938 | 4344938 | 4354938 | 190 | 260 | 69 | 2,0
| 215 |
4024940 | 4074940 | 4244940 | 4254940 | 4344940 | 4354940 | 200 | 280 | 80 | 2,1
| 225 |
4024944 | 4074944 | 4244944 | 4254944 | 4344944 | 4354944 | 220 | 300 | 80 | 2,1
| 245 |
4024948 | 4074948 | 4244948 | 4254948 | 4344948 | 4354948 | 240 | 320 | 80 | 2,1
| 265 |
4024952 | 4074952 | 4244952 | 4254952 | 4344952 | 4354952 | 260 | 360 | 100 | 2,1
| 290 |
4024956 | 4074956 | 4244956 | 4254956 | 4344956 | 4354956 | 280 | 380 | 100 | 2,1
| 310 |
4024960 | 4074960 | 4244960 | 4254960 | 4344960 | 4354960 | 300 | 420 | 118 | 3,0
| 340 |
4024964 | 4074964 | 4244964 | 4254964 | 4344964 | 4354964 | 320 | 440 | 118 | 3,0
| 360 |
4024968 | 4074968 | 4244968 | 4254968 | 4344968 | 4354968 | 340 | 460 | 118 | 3,0
| 380 |
4024972 | 4074972 | 4244972 | 4254972 | 4344972 | 4354972 | 360 | 480 | 118 | 3,0
| 400 |
4024976 | 4074976 | 4244976 | 4254976 | 4344976 | 4354976 | 380 | 520 | 140 | 4,0
| 430 |
4024980 | 4074980 | 4244980 | 4254980 | 4344980 | 4354980 | 400 | 540 | 140 | 4,0
| 450 |
4024984 | 4074984 | 4244984 | 4254984 | 4344984 | 4354984 | 420 | 560 | 140 | 4,0
| 470 |
4024988 | 4074988 | 4244988 | 4254988 | 4344988 | 4354988 | 440 | 600 | 160 | 4,0 | 490 |
Таблица 4 - Серия диаметров 9, серия ширин 5
Основное условное обозначение подшипника конструктивного исполнения |
|
|
|
|
| |||||
02 | 07 | 24 | 25 | 34 | 35 | мм | ||||
5024901
| 5074901 | 5244901 | 5254901 | 5344901 | 5354901 | 12 | 24 | 16 | 0,3 | 16 |
5024902
| 5074902 | 5244902 | 5254902 | 5344902 | 5354902 | 15 | 28 | 18 | 0,3 | 20 |
5024903
| 5074903 | 5244903 | 5254903 | 5344903 | 5354903 | 17 | 30 | 18 | 0,3 | 22 |
5024904
| 5074904 | 5244904 | 5254904 | 5344904 | 5354904 | 20 | 37 | 23 | 0,3 | 25 |
50249/22 | 50749/22 | 52449/22 | 52549/22 | 53449/22 | 53549/22 | 22 | 39 | 23 | 0,3 | 28 |
5024905
| 5074905 | 5244905 | 5254905 | 5344905 | 5354905 | 25 | 42 | 23 | 0,3 | 30 |
50249/28
| 50749/28 | 52449/28 | 52549/28 | 53449/28 | 53549/28 | 28 | 45 | 23 | 0,3 | 32 |
5024906
| 5074906 | 5244906 | 5254906 | 5344906 | 5354906 | 30 | 47 | 23 | 0,3 | 35 |
50249/32
| 50749/32 | 52449/32 | 52549/32 | 53449/32 | 53549/32 | 32 | 52 | 27 | 0,6 | 40 |
5024907 | 5074907 | 5244907 | 5254907 | 5344907 | 5354907 | 35 | 55 | 27 | 0,6 | 42 |
5024908
| 5074908 | 5244908 | 5254908 | 5344908 | 5354908 | 40 | 62 | 30 | 0,6 | 48 |
5024909
| 5074909 | 5244909 | 5254909 | 5344909 | 5354909 | 45 | 68 | 30 | 0,6 | 52 |
5024910
| 5074910 | 5244910 | 5254910 | 5344910 | 5354910 | 50 | 72 | 30 | 0,6 | 58 |
5024911
| 5074911 | 5244911 | 5254911 | 5344911 | 5354911 | 55 | 80 | 34 | 1,0 | 63 |
5024912 | 5074912 | 5244912 | 5254912 | 5344912 | 5354912 | 60 | 85 | 34 | 1,0 | 68 |
5024913
| 5074913 | 5244913 | 5254913 | 5344913 | 5354913 | 65 | 90 | 34 | 1,0 | 72 |
5024914
| 5074914 | 5244914 | 5254914 | 5344914 | 5354914 | 70 | 100 | 40 | 1,0 | 80 |
5024915
| 5074915 | 5244915 | 5254915 | 5344915 | 5354915 | 75 | 105 | 40 | 1,0 | 85 |
5024916
| 5074916 | 5244916 | 5254916 | 5344916 | 5354916 | 80 | 110 | 40 | 1,0 | 90 |
5024917 | 5074917 | 5244917 | 5254917 | 5344917 | 5354917 | 85 | 120 | 46 | 1,1 | 100 |
5024918
| 5074918 | 5244918 | 5254918 | 5344918 | 5354918 | 90 | 125 | 46 | 1,1 | 105 |
5024919
| 5074919 | 5244919 | 5254919 | 5344919 | 5354919 | 95 | 130 | 46 | 1,1 | 110 |
5024920
| 5074920 | 5244920 | 5254920 | 5344920 | 5354920 | 100 | 140 | 54 | 1,1 | 115 |
5024921
| 5074921 | 5244921 | 5254921 | 5344921 | 5354921 | 105 | 145 | 54 | 1,1 | 120 |
5024922 | 5074922 | 5244922 | 5254922 | 5344922 | 5354922 | 110 | 150 | 54 | 1,1 | 125 |
5024924
| 5074924 | 5244924 | 5254924 | 5344924 | 5354924 | 120 | 165 | 60 | 1,1 | 135 |
5024826
| 5074926 | 5244926 | 5254926 | 5344926 | 5354926 | 130 | 180 | 67 | 1,5 | 150 |
5024928 | 5074928 | 5244928 | 5254928 | 5344928 | 5354928 | 140 | 190 | 67 | 1,5 | 160 |
Таблица 5 - Серия диаметров 9, серия ширин 6
Основное условное обозначение подшипника конструктивного исполнения |
|
|
|
|
| |||||
02 | 07 | 24 | 25 | 34 | 35 | мм | ||||
6024900
| 6074900 | 6244900 | 6254900 | 6344900 | 6354900 | 10 | 22 | 22 | 0,3 | 14 |
6024901
| 6074901 | 6244901 | 6254901 | 6344901 | 6354901 | 12 | 24 | 22 | 0,3 | 16 |
6024902
| 6074902 | 6244902 | 6254902 | 6344902 | 6354902 | 15 | 28 | 23 | 0,3 | 20 |
6024903
| 6074903 | 6244903 | 6254903 | 6344903 | 6354903 | 17 | 30 | 23 | 0,3 | 22 |
6024904 | 6074904 | 6244904 | 6254904 | 6344904 | 6354904 | 20 | 37 | 30 | 0,3 | 25 |
60249/22
| 60749/22 | 62449/22 | 62549/22 | 63449/22 | 63549/22 | 22 | 39 | 30 | 0,3 | 28 |
6024905
| 6074905 | 6244905 | 6254905 | 6344905 | 6354905 | 25 | 42 | 30 | 0,3 | 30 |
60249/28
| 60749/28 | 62449/28 | 62549/28 | 63449/28 | 63549/28 | 28 | 45 | 30 | 0,3 | 32 |
6024906
| 6074906 | 6244906 | 6254906 | 6344906 | 6354906 | 30 | 47 | 30 | 0,3 | 35 |
60249/32 | 60749/32 | 62449/32 | 62549/32 | 63449/32 | 63549/32 | 32 | 52 | 36 | 0,6 | 40 |
6024907
| 6074907 | 6244907 | 6254907 | 6344907 | 6354907 | 35 | 55 | 36 | 0,6 | 42 |
6024908
| 6074908 | 6244908 | 6254908 | 6344908 | 6354908 | 40 | 62 | 40 | 0,6 | 48 |
6024909
| 6074909 | 6244909 | 6254909 | 6344909 | 6354909 | 45 | 68 | 40 | 0,6 | 52 |
6024910
| 6074910 | 6244910 | 6254910 | 6344910 | 6354910 | 50 | 72 | 40 | 0,6 | 58 |
6024911 | 6074911 | 6244911 | 6254911 | 6344911 | 6354911 | 55 | 80 | 45 | 1,0 | 63 |
6024912
| 6074912 | 6244912 | 6254912 | 6344912 | 6354912 | 60 | 85 | 45 | 1,0 | 68 |
6024913
| 6074913 | 6244913 | 6254913 | 6344913 | 6354913 | 65 | 90 | 45 | 1,0 | 72 |
6024914
| 6074914 | 6244914 | 6254914 | 6344914 | 6354914 | 70 | 100 | 54 | 1,0 | 80 |
6024915
| 6074915 | 6244915 | 6254915 | 6344915 | 6354915 | 75 | 105 | 54 | 1,0 | 85 |
6024916 | 6074916 | 6244916 | 6254916 | 6344916 | 6354916 | 80 | 110 | 54 | 1,0 | 90 |
6024917
| 6074917 | 6244917 | 6254917 | 6344917 | 6354917 | 85 | 120 | 63 | 1,1 | 100 |
6024918
| 6074918 | 6244918 | 6254918 | 6344918 | 6354918 | 90 | 125 | 63 | 1,1 | 105 |
6024919
| 6074919 | 6244919 | 6254919 | 6344919 | 6354919 | 95 | 130 | 63 | 1,1 | 110 |
6024920 | 6074920 | 6244920 | 6254920 | 6344920 | 6354920 | 100 | 140 | 71 | 1,1 | 115 |
Таблица 6 - Серия диаметров 1, серия ширин 4
Основное условное обозначение подшипника конструктивного исполнения |
|
|
|
|
| |||||
02 | 07 | 24 | 25 | 34 | 35 | мм | ||||
4024103
| 4074103 | 4244103 | 4254103 | 4344103 | 4354103 | 17 | 35 | 18 | 0,3 | 24 |
4024104
| 4074104 | 4244104 | 4254104 | 4344104 | 4354104 | 20 | 42 | 22 | 0,6 | 28 |
4024105
| 4074105 | 4244105 | 4254105 | 4344105 | 4354105 | 25 | 47 | 22 | 0,6 | 34 |
4024106
| 4074106 | 4244106 | 4254106 | 4344106 | 4354106 | 30 | 55 | 25 | 1,0 | 40 |
4024107 | 4074107 | 4244107 | 4254107 | 4344107 | 4354107 | 35 | 62 | 27 | 1,0 | 46 |
4024108
| 4074108 | 4244108 | 4254108 | 4344108 | 4354108 | 40 | 68 | 28 | 1,0 | 52 |
4024109
| 4074109 | 4244109 | 4254109 | 4344109 | 4354109 | 45 | 75 | 30 | 1,0 | 58 |
4024110
| 4074110 | 4244110 | 4254110 | 4344110 | 4354110 | 50 | 80 | 30 | 1,0 | 62 |
4024111
| 4074111 | 4244111 | 4254111 | 4344111 | 4354111 | 55 | 90 | 35 | 1,1 | 70 |
4024112 | 4074112 | 4244112 | 4254112 | 4344112 | 4354112 | 60 | 95 | 35 | 1,1 | 75 |
4024113
| 4074113 | 4244113 | 4254113 | 4344113 | 4354113 | 65 | 100 | 35 | 1,1 | 80 |
4024114
| 4074114 | 4244114 | 4254114 | 4344114 | 4354114 | 70 | 110 | 40 | 1,1 | 88 |
4024115
| 4074115 | 4244115 | 4254115 | 4344115 | 4354115 | 75 | 115 | 40 | 1,1 | 92 |
4024116
| 4074116 | 4244116 | 4254116 | 4344116 | 4354116 | 80 | 125 | 45 | 1,1 | 100 |
4024117 | 4074117 | 4244117 | 4254117 | 4344117 | 4354117 | 85 | 130 | 45 | 1,1 | 105 |
6 Технические требования
6.1 Основные требования
Подшипники должны соответствовать требованиям настоящего стандарта и ГОСТ 520.
6.2 Конструктивные требования
6.2.1 Предельные отклонения диаметра отверстия комплекта игольчатых роликов указаны в таблице 7. Допуски определены в соответствии с классом допуска F6 по ГОСТ 25347.
Таблица 7
В миллиметрах
| Предельное отклонение | |||||
верхнее | нижнее | |||||
До
| 10 | включ. | +0,022 | +0,013 | ||
Св.
| 10 | до | 18 | включ. | +0,027 | +0,016 |
"
| 18 | " | 30 | включ. | +0,033 | +0,020 |
"
| 30 | " | 50 | включ. | +0,041 | +0,025 |
"
| 50 | " | 80 | включ. | +0,049 | +0,030 |
"
| 80 | " | 120 | включ. | +0,058 | +0,036 |
"
| 120 | " | 180 | включ. | +0,068 | +0,043 |
"
| 180 | " | 250 | включ. | +0,079 | +0,050 |
"
| 250 | " | 315 | включ. | +0,088 | +0,056 |
"
| 315 | " | 400 | включ. | +0,098 | +0,062 |
" | 400 | " | 500 | включ. | +0,108 | +0,068 |
6.2.2 Наибольший единичный размер монтажных фасок - по ГОСТ 3478.
Примечание - Определяют в соответствии с минимальным размером соответствующей монтажной фаски и диаметром отверстия подшипника.
6.2.3 Подшипники изготавливают со смазочными отверстиями и со смазочной канавкой на наружном кольце. По согласованию с заказчиком (потребителем) допускается изготовление подшипников без смазочных отверстий и смазочной канавки или со смазочными отверстиями на внутреннем кольце.
6.2.3.1 Оси смазочных отверстий и смазочной канавки должны быть расположены на равных расстояниях от торцов наружного кольца.
6.2.3.2 Номинальные размеры диаметра смазочного отверстия и ширины смазочной канавки должны соответствовать значениям, указанным в таблице 8.
Таблица 8
В миллиметрах
|
|
| ||||
До
| 30 | включ. | 2 | 5 | ||
Св.
| 30 | до | 180 | включ. | 3 | 6 |
"
| 180 | " | 250 | включ. | 4 | 8 |
" | 250 | " | 500 | включ. | 5 | 9 |
6.3 Требования к взаимозаменяемости
Съемные детали подшипника должны быть взаимозаменяемыми. Допускается использование съемных деталей подшипников в качестве невзаимозаменяемых.
6.4 Требования транспортабельности
При транспортировании подшипников без внутреннего кольца полного заполнения в разобранном виде на коробку с комплектом игольчатых роликов и на наружную цилиндрическую поверхность наружного кольца следует наносить номер комплекта игольчатых роликов. Наружное кольцо и комплект упакованных игольчатых роликов укладывают в одну коробку.
7 Указания по применению и эксплуатации
7.1 Подшипники используют при радиальной нагрузке.
7.2 Осевую нагрузку подшипники не воспринимают.
7.3 При применении подшипников в узлах необходимо учитывать, что подшипники полного заполнения по сравнению с подшипниками с сепаратором тех же габаритов имеют повышенные статическую и динамическую радиальные грузоподъемности, но пониженные номинальную тепловую частоту вращения и предельную частоту вращения.
7.4 Интервалы допусков и технические требования к посадочным поверхностям валов и корпусов, указания по выбору посадок подшипников и допустимые углы взаимного перекоса колец подшипников - по ГОСТ 3325.
Интервалы допусков номинального диаметра поверхности качения вала под подшипники без внутреннего кольца должны соответствовать классу допуска h5 по ГОСТ 25347.
7.5 Твердость поверхности качения вала под подшипники без внутреннего кольца должна быть не менее 62 HRC.
7.6 Параметр шероховатости Ra поверхности качения вала под подшипники без внутреннего кольца должен быть не более 0,32 мкм.
7.7 Наибольшие радиусы галтелей валов и корпусов - по ГОСТ 3478.
7.8 Эквивалентная радиальная нагрузка должна составлять не менее 2% статической радиальной грузоподъемности.
Примечание - Данная нагрузка необходима для исключения излишнего проскальзывания в контакте роликов с дорожками качения. В особенности это важно при высоких частотах вращения и высоких ускорениях. Если нагрузка в подшипниковом узле недостаточна, создают дополнительную радиальную нагрузку/
УДК 621.822.842.1:006.354 | МКС 21.100.20 |
Ключевые слова: подшипники качения, игольчатый однорядный подшипник с кольцами, обработанные резанием, классификация, присоединительные размеры, технические требования, указания по применению и эксплуатации | |
Редакция документа с учетом
изменений и дополнений подготовлена





