ГОСТ 13218.3-80
Группа Г16
ГОСУДАРСТВЕННЫЙ СТАНДАРТ СОЮЗА ССР
КОРПУСА ТИПА УМ ПОДШИПНИКОВ КАЧЕНИЯ ДИАМЕТРОМ ОТ 80 ДО 150 мм
Конструкция и размеры
Pillow blocks of series УМ for rolling bearings of diameters from 80 to 150 mm.
Construction and dimensions
Дата введения 1982-01-01
Постановлением Государственного комитета СССР по стандартам от 30 сентября 1980 г. N 4892 срок введения установлен с 01.01.82
ПРОВЕРЕН в 1986 г. Постановлением Госстандарта СССР снято ограничение срока действия
ВЗАМЕН ГОСТ 13218.3-67
ПЕРЕИЗДАНИЕ. Декабрь 1987 г.
1. Настоящий стандарт распространяется на неразъемные узкие корпуса типа УМ со сквозным отверстием для подшипников качения типов, указанных в табл.1.
Таблица 1
Обозначение корпуса | Подшипник | Исполнение корпуса | |
Обозначение типа | Конструкция и размеры | ||
УМ 80 - УМ 150 | 1200 | По ГОСТ 5720-75 | 1 или 2 |
1300 | |||
1500 | |||
11200 | По ГОСТ 8545-75 | ||
11300 | |||
11500 | |||
3500 | По ГОСТ 5721-75 | 2 | |
13500 | По ГОСТ 8545-75 | ||
2. Стандарт устанавливает следующие исполнения корпусов:
1 - корпуса с выемкой длиной в опоре, используемые для установки на необработанные поверхности при любом направлении радиальной нагрузки или для установки на обработанные поверхности при направлении радиальной нагрузки предпочтительно от опоры;
2 - корпуса без выемки длиной в опоре, используемые для установки на обработанные поверхности при направлении радиальной нагрузки предпочтительно к опоре.
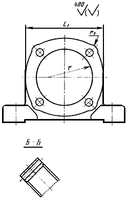
3. Размеры и обозначения корпусов должны соответствовать указанным на чертеже и в табл.2.
Для 110-150 мм

Для 80-100 мм

Таблица 2
Размеры, мм
Обоз- |
|
|
| Теорети- | |||||||||||||||
УМ 80 | 80 | 100 | 9 | 0,10 | 13 | 8 | 26 | 135 | 35 | 42 | 180 | 110 | 110 | 113,0 | 58 | 19 | 75 | 11,0 | 0,71 |
УМ 85 | 85 | 105 | 0,12 | 140 | 185 | 115 | 116 | 120,5 | 63 | 1,42 | |||||||||
УМ 90 | 90 | 110 | 11 | 150 | 38 | 195 | 125 | 128 | 130,5 | 68 | 22 | 80 | 12,0 | 1,86 | |||||
УМ 100 | 100 | 120 | 17 | 32 | 165 | 40 | 48 | 215 | 135 | 142 | 139,5 | 72 | 24 | 85 | 12,5 | 2,33 | |||
УМ 110 | 110 | 130 | 185 | 45 | 235 | 155 | 164 | 157,5 | 80 | 26 | - | - | 3,05 | ||||||
УМ 120 | 120 | 145 | 13 | 210 | 48 | 260 | 175 | 194 | 179,5 | 92 | 32 | 4,31 | |||||||
УМ 125 | 125 | 150 | 220 | 270 | 180 | 204 | 188,0 | 98 | 34 | 4,99 | |||||||||
УМ 130 | 130 | 155 | 10 | 225 | 50 | 54 | 280 | 185 | 190,5 | 35 | 5,77 | ||||||||
УМ 140 | 140 | 165 | 22 | 40 | 235 | 52 | 58 | 295 | 195 | 206 | 199,5 | 102 | 6,42 | ||||||
УМ 150 | 150 | 180 | 255 | 55 | 315 | 210 | 230 | 215,0 | 110 | 40 | 8,30 |
Пример условного обозначения корпуса типа УМ, исполнения 1, 90 мм:
Корпус УМ 90 ГОСТ 13218.3-80
То же, исполнения 2:
Корпус УМ 90-2 ГОСТ 13218.3-80
При мелкосерийном производстве допускается изготовлять корпуса по рекомендуемому приложению 1 к ГОСТ 13218.1-80.
4. Технические требования - по ГОСТ 13218.11-80.
5. Характеристика и выбор корпусов в зависимости от типов подшипников качения и направления нагрузок - по рекомендуемому приложению 3 к ГОСТ 13218.1-80.
6. Расчетные разрушающие нагрузки - по рекомендуемому приложению 4 к ГОСТ 13218.1-80.
7. Дополнительные размеры элементов корпусов - по рекомендуемому приложению 2 к ГОСТ 13218.1-80.
8. Допускается при необходимости обеспечения взаимозаменяемости для применения в изделиях, спроектированных до 1 января 1980 г., по согласованию с потребителем изготовлять корпуса с допусками по справочному приложению 5 к ГОСТ 13218.1-80.
Текст документа сверен по:
Корпуса подшипников качения.
Конструкция и размеры.
Технические требования: Сб. ГОСТов. -
М.: Издательство стандартов, 1988