ГОСТ 13219.1-81
Группа Г16
ГОСУДАРСТВЕННЫЙ СТАНДАРТ СОЮЗА ССР
КРЫШКИ ТОРЦОВЫЕ ГЛУХИЕ НИЗКИЕ ДИАМЕТРОМ от 47 до 100 мм
КОРПУСОВ ПОДШИПНИКОВ КАЧЕНИЯ
Конструкция и размеры
Low vague end cups for diameters from 47 till 100 mm of pillow blocks.
Construction and dimensions
ОКП 41 8422
Cрок действия с 01.01.1982
до 01.01.1987*
_______________________________
* Ограничение срока действия снято
постановлением Госстандарта СССР
от 05.09.86 N 2606 (ИУС N 11, 1986 год). -
.
РАЗРАБОТАН Государственным комитетом СССР по стандартам
ИСПОЛНИТЕЛИ
В.Я.Кремянский (руководитель темы), И.М.Сухоруков
ВНЕСЕН Государственным комитетом СССР по стандартам
Член Госстандарта Н.П.Морозов
УТВЕРЖДЕН И ВВЕДЕН В ДЕЙСТВИЕ Постановлением Государственного комитета СССР по стандартам от 9 апреля 1981 г. N 1925
ВЗАМЕН ГОСТ 13219.1-67
ВНЕСЕНА поправка, опубликованная в ИУС N 7, 1982 год
Поправка внесена изготовителем базы данных
1. Настоящий стандарт распространяется на низкие глухие торцовые крышки, устанавливаемые в корпусах подшипников качения по ГОСТ 13218.1-80, ГОСТ 13218.3-80, ГОСТ 13218.5-80, ГОСТ 13218.7-80 и предназначенные для герметизации подшипникового узла, осевой фиксации подшипника и восприятия осевых нагрузок.
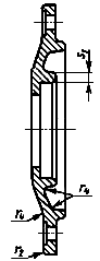
2. Основные размеры крышек должны соответствовать указанным на чертеже и в таблице.
_______________
* Размеры для справок
Размеры в мм
Обозначение крышки |
| Теоретическая масса, кг | ||||||||||||||
ГН 47 | 47 | 63 | 41 | 65 | 9 | 18 | 0,10 | 13 | 4 | 6 | 3 | 8 | 5 | - | 10,5 | 0,18 |
ГН 52 | 52 | 70 | 45 | 72 | 0,21 | |||||||||||
ГН 62 | 62 | 80 | 55 | 85 | 70 | 11,0 | 0,28 | |||||||||
ГН 72 | 72 | 90 | 65 | 98 | 75 | 0,34 | ||||||||||
ГН 80 | 80 | 100 | 72 | 110 | 0,42 | |||||||||||
ГН 85 | 85 | 105 | 78 | 115 | 0,12 | 0,46 | ||||||||||
ГН 90 | 90 | 110 | 80 | 125 | 11 | 20 | 16 | 5 | 7 | 4 | 10 | 6 | 80 | 12,0 | 0,62 | |
ГН 100 | 100 | 120 | 90 | 135 | 85 | 12,5 | 0,74 |
Пример условного обозначения низкой глухой торцовой крышки диаметром 80 мм:
Крышка ГН 80 ГОСТ 13219.1-81
3. Технические требования - по ГОСТ 13219.17-81.
4. Дополнительные размеры элементов крышек - по рекомендуемому приложению к ГОСТ 13219.1-81.
ПРИЛОЖЕНИЕ
Рекомендуемое
Дополнительные размеры элементов крышек

Черт.1

Черт.2

Черт.3
Наименование размеров | Величины |
1. Толщина фланца |
|
2. Литейные радиусы закруглений |
|
| |
| |
|
Примечание. При определении дополнительных размеров крышек по ГОСТ 13219.5-81 - ГОСТ 13219.16-81 в расчетные зависимости вместо значений следует подставлять значения 0,8
.
Электронный текст документа
и сверен по:
Крышки торцовые корпусов подшипников качения:
Сб. ГОСТов. ГОСТ 13219.1-81-ГОСТ 13219.17-81. -
М.: Издательство стандартов, 1981
Редакция документа с учетом
изменений и дополнений подготовлена
