ГОСТ 12.4.306-2024
МЕЖГОСУДАРСТВЕННЫЙ СТАНДАРТ
Система стандартов безопасности труда
КОМПЛЕКТ ЭКРАНИРУЮЩИЙ ДЛЯ ЗАЩИТЫ ОТ ЭЛЕКТРОМАГНИТНЫХ ПОЛЕЙ РАДИОЧАСТОТНОГО ДИАПАЗОНА
Методы испытаний
Occupational safety standards system. Shielding set for protection from radiofrequency electromagnetic field exposure. Test methods
МКС 13.340.10
Дата введения 2025-11-01
с правом досрочного применения
Предисловие
Цели, основные принципы и общие правила проведения работ по межгосударственной стандартизации установлены ГОСТ 1.0 "Межгосударственная система стандартизации. Основные положения" и ГОСТ 1.2 "Межгосударственная система стандартизации. Стандарты межгосударственные, правила и рекомендации по межгосударственной стандартизации. Правила разработки, принятия, обновления и отмены"
Сведения о стандарте
1 РАЗРАБОТАН Федеральным государственным бюджетным научным учреждением "Научно-исследовательский институт медицины труда имени академика Н.Ф.Измерова" (ФГБНУ "НИИ МТ")
2 ВНЕСЕН Федеральным агентством по техническому регулированию и метрологии
3 ПРИНЯТ Межгосударственным советом по стандартизации, метрологии и сертификации (протокол от 30 сентября 2024 г. № 177-П)
За принятие проголосовали:
Краткое наименование страны по МК (ИСО 3166) 004-97 | Код страны по МК (ИСО 3166) 004-97 | Сокращенное наименование национального органа по стандартизации |
Армения | AM | ЗАО "Национальный орган по стандартизации и метрологии" Республики Армения |
Беларусь | BY | Госстандарт Республики Беларусь |
Казахстан | КZ | Госстандарт Республики Казахстан |
Киргизия | KG | Кыргызстандарт |
Россия | RU | Росстандарт |
Таджикистан | TJ | Таджикстандарт |
Узбекистан | UZ | Узбекское агентство по техническому регулированию |
4 Приказом Федерального агентства по техническому регулированию и метрологии от 1 октября 2024 г. № 1351-ст межгосударственный стандарт ГОСТ 12.4.306-2024 введен в действие в качестве национального стандарта Российской Федерации с 1 ноября 2025 г. с правом досрочного применения
5 ВЗАМЕН ГОСТ 12.4.306-2016
Информация о введении в действие (прекращении действия) настоящего стандарта и изменений к нему на территории указанных выше государств публикуется в указателях национальных стандартов, издаваемых в этих государствах, а также в сети Интернет на сайтах соответствующих национальных органов по стандартизации.
В случае пересмотра, изменения или отмены настоящего стандарта соответствующая информация будет опубликована на официальном интернет-сайте Межгосударственного совета по стандартизации, метрологии и сертификации в каталоге "Межгосударственные стандарты"
Введение
При работах по обслуживанию и эксплуатации радиотехнических объектов работники могут подвергаться воздействию электромагнитных полей радиочастотного диапазона, уровни интенсивности которых превышают гигиенические нормативы для производственной среды. Превышение на рабочих местах предельно допустимых уровней напряженности электрического поля или плотности потока энергии электромагнитного поля при невозможности соблюдения иных принципов защиты работников требует применения средств индивидуальной защиты, которые представляют собой экранирующие комплекты и обладают соответствующими защитными характеристиками и свойствами. Эффективность экранирующих комплектов определяется по степени ослабления интенсивности электромагнитного поля в рабочем диапазоне частот и обеспечивается созданием вокруг тела человека непрерывной электропроводящей оболочки за счет электрического соединения между собой всех элементов комплекта. Для того, чтобы экранирующая оболочка была полностью непрерывной, а поверхность электропроводящего материала непроницаема для электромагнитных волн, ячейка материала, должна иметь размер, достаточный для отражения или поглощения электромагнитных волн в рабочем диапазоне частот.
1 Область применения
Настоящий стандарт распространяется на средства индивидуальной защиты, предназначенные для защиты работников от воздействия электромагнитных полей радиочастотного диапазона, - экранирующие комплекты (далее - комплекты) и устанавливает методы их испытаний и испытаний экранирующих материалов, используемых для их изготовления. Оценка коэффициента экранирования проводится в диапазоне частот от 100 кГц до 60 ГГц.
2 Нормативные ссылки
В настоящем стандарте использованы нормативные ссылки на следующие межгосударственные стандарты:
ГОСТ 12.1.006 Система стандартов безопасности труда. Электромагнитные поля радиочастот. Допустимые уровни на рабочих местах и требования к проведению контроля
ГОСТ 12.4.067 Система стандартов безопасности труда. Метод определения теплосодержания человека в средствах индивидуальной защиты
ГОСТ 12.4.172-2019 Система стандартов безопасности труда. Средства индивидуальной защиты от электрических полей промышленной частоты. Комплекты индивидуальные экранирующие. Общие технические требования. Методы испытаний
ГОСТ 12.4.280-2014 Система стандартов безопасности труда. Одежда специальная для защиты от общих производственных загрязнений и механических воздействий. Общие технические требования
ГОСТ 12.4.305 Система стандартов безопасности труда. Комплект экранирующий для защиты от электромагнитных полей радиочастотного диапазона. Общие технические требования
ГОСТ 427 Линейки измерительные металлические. Технические условия
ГОСТ 3813 (ИСО 5081-77, ИСО 5082-82) Материалы текстильные. Ткани и штучные изделия. Методы определения разрывных характеристик при растяжении
ГОСТ 12088 Материалы текстильные и изделия из них. Метод определения воздухопроницаемости
________________
________________
ГОСТ ISO 5077 Материалы и изделия текстильные. Метод определения изменения размеров после стирки и сушки
ГОСТ ISO 13934-1 Материалы и изделия текстильные. Свойства материалов при растяжении. Часть 1. Определение максимального усилия и относительного удлинения при максимальном усилии методом полоски
ГОСТ ISO 15025 Система стандартов безопасности труда. Одежда специальная для защиты от пламени. Метод испытаний на ограниченное распространение пламени
Примечание - При пользовании настоящим стандартом целесообразно проверить действие ссылочных стандартов и классификаторов на официальном интернет-сайте Межгосударственного совета по стандартизации, метрологии и сертификации (www.easc.by) или по указателям национальных стандартов, издаваемым в государствах, указанных в предисловии, или на официальных сайтах соответствующих национальных органов по стандартизации. Если на документ дана недатированная ссылка, то следует использовать документ, действующий на текущий момент, с учетом всех внесенных в него изменений. Если заменен ссылочный документ, на который дана датированная ссылка, то следует использовать указанную версию этого документа. Если после принятия настоящего стандарта в ссылочный документ, на который дана датированная ссылка, внесено изменение, затрагивающее положение, на которое дана ссылка, то это положение применяется без учета данного изменения. Если ссылочный документ отменен без замены, то положение, в котором дана ссылка на него, применяется в части, не затрагивающей эту ссылку.
3 Термины, определения, сокращения и обозначения
3.1 Термины и определения
В настоящем стандарте применены термины по ГОСТ 12.4.305, а также следующие термины с соответствующими определениями:
3.1.1 рабочая частота: Частота электромагнитного поля в диапазоне от 100 кГц до 60 ГГц, на которой проводится оценка эффективности экранирования электромагнитного поля радиочастотного диапазона.
3.1.2 (диэлектрический) испытательный манекен: Манекен с антропометрическими характеристиками взрослого человека, выполненный из диэлектрических материалов и обладающий внутренней полостью для размещения измерительных приборов.
3.2 Сокращения и обозначения
В настоящем стандарте применены следующие сокращения и обозначения:
ЭМП - электромагнитное поле радиочастотного диапазона;
ППЭ - плотность потока энергии электромагнитного поля радиочастотного диапазона;
НД - нормативный документ;
Е - напряженность электрической составляющей электромагнитного поля радиочастотного диапазона.
4 Методы испытаний экранирующих материалов
4.1 Методика определения коэффициента экранирования
4.1.1 Методика определения коэффициента экранирования материала основана на измерении уровня ослабленного ЭМП при его прохождении через слой образца материала по отношению к ЭМП без образца. Измерения параметров ЭМП проводятся на фиксированных рабочих частотах, количество которых должно быть не менее трех.
4.1.2 Условия проведения измерений
При измерениях параметров ЭМП соблюдают следующие условия:
- температура окружающего воздуха | от 18°С до 26°С; |
- атмосферное давление | от 84 до 106 кПа; |
- относительная влажность воздуха | до 50%; |
- фоновый уровень Е (ППЭ) | не более 3 В/м (10 мкВт/см ). |
4.1.3 Испытуемый образец
Испытуемый образец представляет собой отрезок экранирующего материала квадратной формы со стороной 1 м.
4.1.4 Аппаратура и оборудование
Аппаратура и оборудование включают:
Рисунок 1 - Держатель для образца экранирующего материала
- прибор для измерения ЭМП с изотропным выносным зондом, который имеет возможность подключения к измерительному блоку или к персональному компьютеру посредством оптоволоконного кабеля для удаленной регистрации данных; частотный диапазон - в соответствии с рабочими частотами; минимальный предел измерения - не более 1 В/м; максимальный предел измерения - не менее 500 В/м;
- линейку по ГОСТ 427 или иное средство измерения со схожими метрологическими характеристиками.
Допускается применение других средств измерений с метрологическими характеристиками и вспомогательного оборудования с техническими характеристиками, которые обеспечивают необходимую точность измерения не ниже указанной в настоящем стандарте.
4.1.5 Требования безопасности, охраны окружающей среды
________________
4.1.6 Требования к квалификации операторов
Измерения может проводить оператор, имеющий группу по электробезопасности не ниже II в электроустановках напряжением до 1000 В по НД, действующим на территории государства, принявшего стандарт, и изучивший инструкцию по эксплуатации используемого оборудования.
4.1.7 Подготовка к проведению измерений
4.1.7.1 Измерительное оборудование и систему генерации с излучающими антеннами подбирают в соответствии с рабочими частотами.
4.1.7.2 Испытуемый образец размещают на держателе вертикально и закрепляют по периметру рамы таким образом, чтобы испытуемый образец был полностью расправлен в вертикальной плоскости.
4.1.7.3 Составные элементы излучающей системы подключают друг к другу, излучающую антенну устанавливают перед держателем с испытуемым образцом на расстоянии 0,3 м от центра образца (см. рисунок 2) с допустимым отклонением не более ±2 мм таким образом, чтобы исключить касание рамки держателя и испытуемого образца.
![]() |
1 - генератор; 2 - усилитель; 3 - излучающая антенна; 4 - испытуемый образец; 5 - держатель для образца; 6 - изотропный зонд; 7 - измерительный блок; 8 - персональный компьютер
Рисунок 2 - Схема испытательного стенда для определения коэффициента экранирования экранирующих материалов
4.1.7.4 Составные элементы измерительного оборудования подключают друг к другу и к персональному компьютеру, измерительный датчик устанавливают с обратной стороны держателя с испытуемым образцом на расстоянии 0,3 м от центра образца (см. рисунок 2) с допустимым отклонением не более ±2 мм таким образом, чтобы исключить касание рамки держателя и испытуемого образца. Измерительный зонд устанавливают соосно основой диаграмме направленности излучающей антенны в центре рамы.
4.1.8 Проведение измерений
4.1.8.1 Проводят настройку измерительного оборудования в соответствии с выбранной рабочей частотой: при использовании широкополосного измерителя ЭМП требуется обеспечить ввод частотного корректирующего коэффициента, при использовании селективного измерителя ЭМП требуется обеспечить ввод центральной частоты и полосы пропускания.
4.1.8.2 Проводят настройку и включение системы генерации ЭМП в соответствии с выбранной рабочей частотой.
4.1.8.3 Проводят измерение среднеквадратичного значения Е или среднеквадратичного значения ППЭ в течение 30 с при автоматическом усреднении измеренных значений.
4.1.8.4 В ходе измерений не допускается изменение мощности в излучающей системе, изменение положения излучающей антенны и измерительного зонда, а также внесение посторонних предметов между ними.
4.1.8.5 Для каждой рабочей частоты повторяют действия, приведенные в 4.1.8.1-4.1.8.4. Систему генерации ЭМП отключают.
4.1.8.6 Держатель с испытуемым образцом извлекают из зоны расположения излучающей антенны и измерительного зонда.
4.1.8.8 Для каждой рабочей частоты повторяют действия, приведенные в 4.1.8.7. Систему генерации ЭМП отключают.
4.1.8.9 Измерения проводятся по 4.1.8.1-4.1.8.8 не менее трех раз.
4.1.9 Обработка результатов
4.1.9.2 Для каждой рабочей частоты от 300 МГц и выше вычисляют коэффициент экранирования по формуле
4.1.9.3 Рассчитывают значения коэффициентов экранирования по 4.1.9.1-4.1.9.2 для каждой рабочей частоты. Результатом расчета являются среднее арифметическое коэффициентов экранирования для всех рабочих частот.
4.1.9.4 Расчеты коэффициента экранирования по 4.1.9.1-4.1.9.3 повторяют для всех серий измерений, проведенных в 4.1.8.9.
4.1.9.5 За окончательный результат испытаний принимают среднее арифметическое значение коэффициентов экранирования по 4.1.9.4 для всех серий измерений, округленное до второго десятичного знака.
4.1.10 Точность метода
Точность (погрешность) полученных результатов измерений находится (рассчитывается) в соответствии с информацией, приведенной в описании типа на применяемое средство измерения.
4.1.11 Оформление результатов измерений
Результаты испытаний представляют в виде окончательного результата испытаний с учетом точности метода.
4.2 Метод измерения удельного поверхностного электрического сопротивления
Измерения проводят в соответствии с ГОСТ 12.4.172-2019 (пункт 5.1.1).
4.3 Определение ограниченного распространения пламени на экранирующем материале
Определение ограниченного распространения пламени на внешней стороне экранирующего материала или материала верха пакета материала проводят в соответствии с ГОСТ ISO 15025 (процедура А). При испытании пробы однослойных предметов экранирующих комплектов не должны гореть, тлеть и расплавляться при выносе из пламени, остаточное горение и тление не допускаются.
В случае многослойных пакетов материалов материал верха при испытании не должен гореть, тлеть и расплавляться при выносе из пламени, остаточное горение и тление не допускаются.
4.4 Определение разрывной и раздирающей нагрузки экранирующего материала
Определение разрывной нагрузки материала верха экранирующей одежды по основе и по утку проводят по ГОСТ ISO 13934-1, раздирающей нагрузки - по ГОСТ 3813.
4.5 Определение водоотталкивания и маслоотталкивания экранирующего материала
Определение водоотталкивания экранирующего материала или материала верха пакета материалов проводят в соответствии с ГОСТ ISO 4920, маслоотталкивания - ГОСТ 12.4.280-2014 (пункт 6.17).
4.6 Определение воздухопроницаемости экранирующего материала
Определение воздухопроницаемости экранирующего материала или материала верха пакета материалов проводят в соответствии с ГОСТ 12088.
4.7 Определение изменения размеров экранирующего материала после стирки и (или) химической чистки
Определение изменения размеров экранирующего материала после стирки или чистки проводят в соответствии с ГОСТ ISO 5077.
5 Методы испытаний комплекта
5.1 Виды испытаний
Комплекты и их элементы должны проходить следующие виды испытаний:
- типовые испытания по 5.2-5.6 проводят при разработке комплектов и экранирующих материалов, а также при существенном изменении их конструктивного исполнения, которое может привести к изменению защитных, эксплуатационных и гигиенических свойств;
- приемо-сдаточные испытания проводят на каждом экземпляре продукции (полностью собранном комплекте) при выпуске с завода изготовителя или от поставщика по 5.2 и 5.5;
- выборочные периодические испытания проводят в рамках инспекционного контроля по 5.2, 5.5 и 5.6.
Отбор образцов продукции осуществляется в соответствии с ГОСТ 31814 и НД, действующим на территории государства, принявшего стандарт.
5.2 Визуальный контроль
Комплектность и наличие маркировки, упаковку, целостность экранирующих материалов и швов, наличие и целостность концевых участков элементов комплекта, наличие кнопок и их соединения, наличие соединения элементов комплекта и отсутствие следов коррозии проверяют визуально. До испытаний не допускаются комплекты с видимыми следами коррозии.
5.3 Методика токсиколого-гигиенической оценки
Материалы, использующиеся для изготовления комплектов, должны соответствовать требованиям нормативных правовых актов и технических регламентов, действующих на территории государства, принявшего стандарт.
Примечание - Информация о технических регламентах и нормативных правовых актах приведена в приложении А.
5.4 Методика оценки показателей теплового состояния человека
Оценку показателей теплового состояния человека в процессе применения комплектов проводят в соответствии с ГОСТ 12.4.067.
5.5 Методика оценки электрического сопротивления экранирующей одежды
Оценка электрического сопротивления экранирующей одежды проводится в соответствии с ГОСТ 12.4.172-2019 (пункт 5.2.3).
При испытаниях экранирующей одежды омметр подключают в соответствии с ГОСТ 12.4.172-2019 (подпункт 5.2.3.7) за концевые участки экранирующей одежды (манжеты комбинезона). При наличии контактного зажима оценка электрического сопротивления также проводится в соответствии с ГОСТ 12.4.172-2019 [подпункт 5.2.3.7 д)].
5.6 Методика определения коэффициента экранирования комплекта
5.6.1 Метод определения коэффициента экранирования комплекта основан на измерении уровней ослабленного ЭМП внутри комплекта, который надет на испытательный манекен. Измерительный зонд размещается внутри полого испытательного манекена, что позволяет определить эффективность защитных свойств комплекта для различных жизненно важных областей тела человека - голова, грудь и пах. Измерения параметров ЭМП проводятся на фиксированных рабочих частотах, количество которых должно быть не менее трех.
5.6.2 Условия проведения измерений
При измерениях параметров ЭМП соблюдают следующие условия:
- температура окружающего воздуха | от 18°С до 26°С; |
- атмосферное давление | от 84 до 106 кПа; |
- относительная влажность воздуха | до 50%; |
- фоновый уровень Е (ППЭ) | не более 3 В/м (10 мкВт/см ). |
5.6.3 Испытуемый образец
Испытуемым образцом является полностью собранный комплект.
5.6.4 Аппаратура и оборудование
Аппаратура и оборудование включает:
- держатель для образца экранирующего материала (см. рисунок 1), позволяющий фиксировать испытательный манекен в вертикальном положении;
- прибор для измерения ЭМП с изотропным выносным датчиком, который имеет возможность подключения к измерительному блоку или к персональному компьютеру посредством оптоволоконного кабеля для удаленной регистрации данных; частотный диапазон - в соответствии с рабочими частотами; минимальный предел измерения - не более 1 В/м; максимальный предел измерения - не менее 500 В/м;
- линейку по ГОСТ 427 или иное средство измерения со схожими метрологическими характеристиками.
Допускается применение других средств измерений с метрологическими характеристиками и вспомогательного оборудования с техническими характеристиками, которые обеспечивают необходимую точность измерения не ниже указанной в настоящем стандарте.
5.6.5 Требования безопасности, охраны окружающей среды
________________
5.6.6 Требования к квалификации операторов
Измерения может проводить оператор, имеющий группу по электробезопасности не ниже II в электроустановках напряжением до 1000 В по НД, действующим на территории государства, принявшего стандарт, и изучивший инструкцию по эксплуатации используемого оборудования.
5.6.7 Подготовка к проведению измерений
5.6.7.1 Измерительное оборудование и систему генерации с излучающими антеннами подбирают в соответствии с рабочими частотами.
5.6.7.2 Испытательный манекен размещается в вертикальном положении с использованием держателя.
5.6.8 Проведение измерений
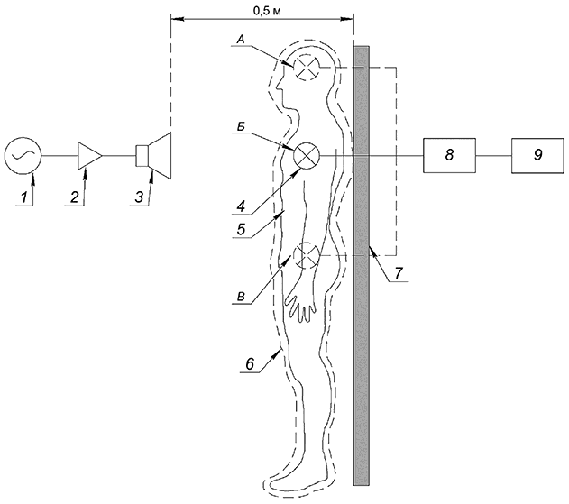
5.6.8.1 Составные элементы излучающей системы подключают друг к другу, излучающую антенну устанавливают перед испытательным манекеном в одной из точек измерения (на уровне области головы, груди или паха) на расстоянии 0,5 м от плоскости держателя (см. рисунок 3) с допустимым отклонением не более ±2 мм. Для измерений излучающую систему устанавливают соосно уровню области груди, головы или паха испытательного манекена, где будет располагаться измерительное оборудование.
![]() |
1 - генератор; 2 - усилитель; 3 - излучающая антенна; 4 - изотропный зонд, положение изотропного зонда: А - область головы, Б - область груди, В - область паха; 5 - испытательный манекен; 6 - испытуемый образец; 7 - держатель для испытуемого образца; 8 - измерительный блок; 9 - персональный компьютер
Рисунок 3 - Схема испытательного стенда для определения коэффициента экранирования комплекта
5.6.8.2 Составные элементы измерительного оборудования подключают друг к другу и к персональному компьютеру, измерительный датчик устанавливают в полости испытательного манекена в области груди, головы или паха таким образом, чтобы исключить соприкосновение измерительной антенны прибора и испытательного манекена. Испытательный манекен без комплекта с установленным средством измерения размещают перед излучающей антенной по главной оси диаграммы направленности антенны.
5.6.8.3 Проводят настройку измерительного оборудования в соответствии с выбранной рабочей частотой: при использовании широкополосного измерителя ЭМП требуется обеспечить ввод корректирующего коэффициента, при использовании селективного измерителя ЭМП требуется обеспечить ввод центральной частоты и полосы пропускания.
5.6.8.4 Проводят настройку и включение системы генерации ЭМП в соответствии с выбранной рабочей частотой.
5.6.8.6 В ходе измерений не допускается изменение мощности в излучающей системе, изменение положения излучающей антенны и измерительного зонда, а также внесение посторонних предметов между ними.
5.6.8.7 Для каждой рабочей частоты повторяют действия, приведенные в 5.6.8.3-5.6.8.6. Систему генерации ЭМП отключают.
5.6.8.8 На испытательный манекен надевается испытуемый образец. Измерение среднеквадратичного значения Е или среднеквадратичного значения ППЭ проводят в соответствии с пунктами 5.6.8.3-5.6.8.7.
5.6.8.9 Для оставшихся точек измерения повторяют испытания в соответствии с 5.6.8.1-5.6.8.8.
5.6.8.10 Испытательный манекен поворачивают лицом к держателю и повторяют действия, приведенные в 5.6.8.1-5.6.8.9.
5.6.9 Обработка результатов
5.6.9.2 Для каждой точки измерения j и для каждой рабочей частоты i от 300 МГц и выше вычисляют коэффициент экранирования по формуле
5.6.9.3 Рассчитывают значения коэффициентов экранирования по 5.6.9.1-5.6.9.2 для каждой рабочей частоты и точки измерений. Результатом расчета являются среднее арифметическое коэффициентов экранирования для всех рабочих частот и точек измерений.
5.6.9.4 Расчеты коэффициента экранирования по 5.6.9.1-5.6.9.3 повторяются для всех серий измерений, проведенных в 5.6.8.1-5.6.8.9.
5.6.9.5 За окончательный результат испытаний принимают среднее арифметическое значение коэффициентов экранирования по 5.6.9.4 для всех серий измерений, округленное до второго десятичного знака.
5.6.10 Точность метода
Точность (погрешность) полученных результатов измерений находится (рассчитывается) в соответствии с информацией, приведенной в описании типа на применяемое средство измерения.
5.6.11 Оформление результатов измерений
Результаты испытаний представляют в виде окончательного результата испытаний с учетом точности метода.
Приложение А
(справочное)
Информация о применяемых технических регламентах и нормативных правовых актах в странах СНГ
Таблица А.1
Наименование технического регламента или нормативного правового акта | Государство - участник СНГ |
Технический регламент Таможенного союза ТР ТС 019/2011 "О безопасности средств индивидуальной защиты" | AM, BY, KZ, KG, RU |
Технический регламент Таможенного союза ТР ТС 005/2011 "О безопасности упаковки" | AM, BY, KZ, KG, RU |
УДК 614.8.086:006.354 | МКС 13.340.10 | |
Ключевые слова: средства индивидуальной защиты, электромагнитное поле, радиочастотный диапазон, комплект индивидуальный экранирующий, коэффициент экранирования, методы испытания | ||

