ГОСТ 12.4.118-2023
МЕЖГОСУДАРСТВЕННЫЙ СТАНДАРТ
Система стандартов безопасности труда
СРЕДСТВА ИНДИВИДУАЛЬНОЙ ЗАЩИТЫ РУК
Метод определения стойкости к проколу многоразовой медицинской иглой
Occupational safety standards system. Personal protective equipment of hands. Method for determination of puncture resistance using reusable medical needle
МКС 13.340.40
Дата введения 2024-10-01
с правом досрочного применения
Предисловие
Цели, основные принципы и общие правила проведения работ по межгосударственной стандартизации установлены ГОСТ 1.0 "Межгосударственная система стандартизации. Основные положения" и ГОСТ 1.2 "Межгосударственная система стандартизации. Стандарты межгосударственные, правила и рекомендации по межгосударственной стандартизации. Правила разработки, принятия, обновления и отмены"
Сведения о стандарте
1 РАЗРАБОТАН Производственно-внедренческим обществом с ограниченной ответственностью "Фирма "Техноавиа" (ПВ ООО "Фирма "Техноавиа")
2 ВНЕСЕН Федеральным агентством по техническому регулированию и метрологии
3 ПРИНЯТ Межгосударственным советом по стандартизации, метрологии и сертификации (протокол от 28 июля 2023 г. N 163-П)
За принятие проголосовали:
Краткое наименование страны по МК (ИСО 3166) 004-97 | Код страны по МК (ИСО 3166) 004-97 | Сокращенное наименование национального органа по стандартизации |
Армения | AM | ЗАО "Национальный орган по стандартизации и метрологии" Республики Армения |
Беларусь | BY | Госстандарт Республики Беларусь |
Казахстан | KZ | Госстандарт Республики Казахстан |
Киргизия | KG | Кыргызстандарт |
Россия | RU | Росстандарт |
Таджикистан | TJ | Таджикстандарт |
Узбекистан | UZ | Узстандарт |
(Поправка. ИУС № 4-2024), (Поправка. ИУС № 10-2025).
4 Приказом Федерального агентства по техническому регулированию и метрологии от 20 сентября 2023 г. N 892-ст межгосударственный стандарт ГОСТ 12.4.118-2023 введен в действие в качестве национального стандарта Российской Федерации с 1 октября 2024 г. с правом досрочного применения со дня его опубликования
5 ВЗАМЕН ГОСТ 12.4.118-82
Информация о введении в действие (прекращении действия) настоящего стандарта и изменений к нему на территории указанных выше государств публикуется в указателях национальных стандартов, издаваемых в этих государствах, а также в сети Интернет на сайтах соответствующих национальных органов по стандартизации.
В случае пересмотра, изменения или отмены настоящего стандарта соответствующая информация будет опубликована на официальном интернет-сайте Межгосударственного совета по стандартизации, метрологии и сертификации в каталоге "Межгосударственные стандарты"
ВНЕСЕНЫ: поправка, опубликованная в ИУС № 4, 2024 год; поправка, опубликованная в ИУС № 10, 2025 год
Поправки внесены изготовителем базы данных
1 Область применения
Настоящий стандарт устанавливает метод определения стойкости к проколу многоразовой медицинской иглой средств индивидуальной защиты рук (перчаток, рукавиц, нарукавников) и материалов, защищающих от прокола и применяющихся для изготовления данных средств защиты.
Настоящий стандарт не распространяется на трикотажные материалы без покрытия и изделия из них.
2 Нормативные ссылки
В настоящем стандарте использованы нормативные ссылки на следующие межгосударственные стандарты:
ГОСТ 12.4.183 Система стандартов безопасности труда. Материалы для средств защиты рук. Технические требования
ГОСТ EN 388 Система стандартов безопасности труда. Средства индивидуальной защиты рук. Перчатки для защиты от механических воздействий. Технические требования. Методы испытаний
Примечание - При пользовании настоящим стандартом целесообразно проверить действие ссылочных стандартов и классификаторов на официальном интернет-сайте Межгосударственного совета по стандартизации, метрологии и сертификации (www.easc.by) или по указателям национальных стандартов, издаваемым в государствах, указанных в предисловии, или на официальных сайтах соответствующих национальных органов по стандартизации. Если на документ дана недатированная ссылка, то следует использовать документ, действующий на текущий момент, с учетом всех внесенных в него изменений. Если заменен ссылочный документ, на который дана датированная ссылка, то следует использовать указанную версию этого документа. Если после принятия настоящего стандарта в ссылочный документ, на который дана датированная ссылка, внесено изменение, затрагивающее положение, на которое дана ссылка, то это положение применяется без учета данного изменения. Если ссылочный документ отменен без замены, то положение, в котором дана ссылка на него, применяется в части, не затрагивающей эту ссылку.
3 Термины и определения
В настоящем стандарте применен следующий термин с соответствующим определением.
3.1 стойкость к проколу: Максимальное усилие, необходимое для проникновения многоразовой медицинской иглы с заданной скоростью сквозь испытуемые пробы.
4 Сущность метода
Сущность метода заключается в определении максимального усилия сквозного прокола испытуемой пробы при постоянной скорости перемещения прокалывающей многоразовой медицинской иглы. Результаты, полученные при проведении испытаний по данному методу, не могут быть соотнесены с результатами, полученными при испытаниях по методам, использующим испытательные иглы с иными параметрами (см. приложение А) или оценены как худшие или лучшие по отношению к ним.
5 Оборудование
5.1 Машина для испытания на сжатие (см. [1]), оснащенная силоизмерительным датчиком с диапазоном измерений от 0 до 500 Н.
Она должна обеспечивать:
- вертикальный ход не менее 100 мм;
- постоянную скорость сжатия (200±10) или (500±10) мм/мин;
и содержать устройство регистрации усилия и деформации.
5.2 Испытательная многоразовая медицинская игла
со следующими параметрами:
_______________
Для испытания подходит игла для взятия крови по Дюфо МИЗ-В-И-144, 40x2,6 мм. Подробная информация о подходящей игле содержится по адресу:https://www.medcomp.ru/catalog/product/igla-dlya-vzyatiya-krovi-po-dyufo-miz-v-i-144-40x2-6-mm/. Данная информация приведена для удобства пользователей настоящего стандарта. Может быть использована аналогичная продукция, если установлено, что ее использование приводит к тем же результатам.
- внешний диаметр трубки (2,60±0,06) мм;
- длина не менее 25 мм;
- угол заточки
, равный 12°±2°, и
, равный 22°±2°, как показано на рисунке 1.
|
Рисунок 1 - Испытательная многоразовая медицинская игла
Испытательную многоразовую медицинскую иглу следует использовать для прокола не более 50 испытуемых проб, после этого испытательную многоразовую медицинскую иглу следует утилизировать в установленном порядке.
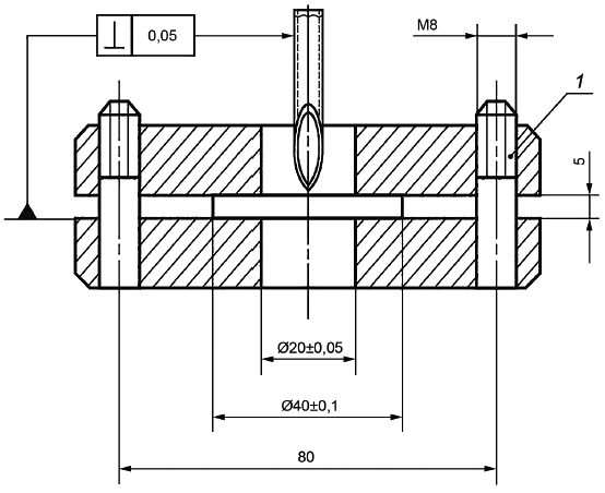
5.3 Зажимное приспособление для испытуемой пробы, центрованное по оси испытательной машины, как показано на рисунке 2.
|
1 - зажимающий штифт
Рисунок 2 - Зажимное приспособление
6 Отбор испытуемых проб
Все испытуемые пробы вырезают из ладонных частей перчаток или рукавиц. Испытуемые пробы из нарукавников вырезают из области с заявленными защитными свойствами. Испытание проводят на пяти испытуемых пробах, вырезанных из пяти образцов средств индивидуальной защиты рук одной партии. При необходимости количество испытуемых проб и образцов может быть увеличено (см. 8.4 и 8.5). Вырезают круглую испытуемую пробу диаметром не менее 40 мм таким образом, чтобы швы, усилители или утолщения находились вне зоны зажима или отверстия зажимного приспособления.
В случае если образец состоит из нескольких не скрепленных между собой слоев, испытание проводят на испытуемой пробе, включающей все слои одновременно.
Испытуемые пробы допускается вырезать из образцов материалов, из которых изготовлены швейные перчатки или рукавицы. Испытуемые пробы вырезают из материалов, предназначенных для использования в ладонной части швейных перчаток или рукавиц. Если швейная перчатка или рукавица состоит из нескольких не скрепленных между собой слоев, испытание проводят на испытуемой пробе, включающей материалы всех слоев одновременно, расположенных в той же последовательности, что и в готовом изделии.
7 Атмосферные условия кондиционирования и проведения испытаний
7.1 Испытуемые пробы выдерживают не менее 24 ч в следующих условиях:
- температура воздуха (23±2)°C;
- относительная влажность (50±5)%.
Рекомендуется проводить испытания в вышеуказанных условиях.
7.2 При проведении испытаний в условиях, отличных от указанных в 7.1, их следует начинать не позднее чем через 5 мин после кондиционирования. Информацию об условиях испытания отражают в протоколе испытаний.
8 Проведение испытания
8.1 Зажимают испытуемую пробу в центре зажимного приспособления лицевой стороной к многоразовой медицинской игле.
8.2 Опускают многоразовую медицинскую иглу на испытуемую пробу со скоростью:
- (200±10) мм/мин для тканей;
- (500±10) мм/мин для полимерных материалов, текстильных материалов с покрытием, искусственных и натуральных кож и других материалов (в том числе состоящих из нескольких не скрепленных между собой слоев).
Записывают для каждого испытания максимальное усилие (в ньютонах), необходимое для проникновения сквозь испытуемую пробу.
Если не произошло проникновения многоразовой медицинской иглы при опускании ее на 25 мм после контакта с испытуемой пробой, испытание прекращают. Это должно быть указано в протоколе испытаний.
Испытание проводят на каждой из пяти испытуемых проб. На одной испытуемой пробе допускается производить только один прокол.
8.3 Вычисляют среднее арифметическое максимального усилия, необходимого для прокола (в ньютонах) пяти испытуемых проб, округленное до ближайшего целого числа.
8.4 При наличии хотя бы одной испытуемой пробы, на которой измерение максимального усилия отклоняется больше чем на ±15% от среднего, испытывают еще пять испытуемых проб и за результат испытания принимают среднее арифметическое из 10 измерений максимального усилия.
8.5 В случае нестандартной конструкции ладонной части испытанию подвергают все ее зоны. Каждая зона испытывается отдельно по 8.1-8.4 со своим значением среднего арифметического максимального усилия. За окончательный результат принимают минимальное полученное значение среднего арифметического максимального усилия, необходимого для прокола одной из зон.
9 Протокол испытаний
Протокол испытаний должен включать следующую информацию:
- обозначение настоящего стандарта;
- все сведения (например, наименование, марка, артикул, модель и т.п.), необходимые для идентификации испытуемого образца;
- стойкость к проколу (среднее арифметическое максимального усилия, необходимого для прокола, в ньютонах);
- любое отклонение от процедуры, приведенной в настоящем стандарте.
Приложение А
(справочное)
Сравнение требований и методов испытаний по определению стойкости материалов и средств индивидуальной защиты рук к проколу
А.1 В настоящем приложении приведено сравнение требований и методов испытаний по определению стойкости материалов и средств индивидуальной защиты рук к проколу настоящего стандарта, ГОСТ 12.4.183, ГОСТ EN 388, [2]-[4].
Требования и основные параметры испытаний по определению стойкости материалов и средств индивидуальной защиты рук к проколу вышеуказанных стандартов приведены в таблице А.1.
Таблица А.1
Наименование показателя и | Стандарты, устанавливающие требования и/или методы испытаний по определению стойкости материалов и средств индивидуальной защиты рук к проколу | |||||
основных | ГОСТ EN | настоящий | [2] (метод | [3] (метод | [4] (требования) | |
параметров испытаний | 388 (требования и методы испытаний) | стандарт (метод испытаний) и ГОСТ 12.4.183 (требования) | испытаний) | испытаний) | для СИЗ рук от проколов, кроме проколов медицинской иглой | для СИЗ от проколов медицинской иглой |
1 | 2 | 3 | 4 | 5 | 6 | |
Стойкость к проколу |
|
| - | - | <10 Н (уровень 0);
| <2 Н (уровень 0);
|
Диаметр и форма прокалывающего элемента | Стержень диаметром 4,5 мм | Многоразовая медицинская игла диаметром 2,6 мм | Одноразовая медицинская игла диаметром 18G (1,2 мм) (см. [5]) | Одноразовая медицинская игла с диаметром: 21G (0,8 мм) 25G (0,5 мм) 28G (0,3 мм) | По методу испытаний ГОСТ EN 388 (колонка 1) | По методу испытаний [3] (колонка 4) иглой диаметром 25G (0,5 мм) |
Скорость перемещения прокалывающего элемента к испытуемой пробе и сквозь нее | 100 мм/мин | 500 мм/мин или 200 мм/ мин в зависимости от вида материала | 500 мм/мин | 500 мм/мин | По методу испытаний ГОСТ EN 388 (колонка 1) | По методу испытаний [3] (колонка 4) иглой диаметром 25G (0,5 мм) |
А.2 Параметры прокалывающего элемента (диаметр, форма наконечника), скорость его перемещения могут оказывать значительное влияние на стойкость к проколу. Поэтому результаты, полученные методами (см. таблицу А.1) с разными параметрами испытаний, не могут быть соотнесены между собой или оценены как худшие или лучшие по отношению друг к другу.
А.3 Метод определения стойкости к проколу по ГОСТ EN 388, много лет используется для определения эффективности средств индивидуальной защиты рук от травмирования острыми краями предметов, например, при работе по сборке или монтажу. Однако эффективность средств индивидуальной защиты рук от травмирования многоразовыми или одноразовыми медицинскими иглами не может быть определена в рамках испытания стойкости к проколу по ГОСТ EN 388.
Для определения эффективности средств индивидуальной защиты рук от травмирования многоразовыми или одноразовыми медицинскими иглами необходимо использовать методы испытания с подходящим прокалывающим элементом (см. таблицу А.1).
А.4 Защита работников от получения травм одноразовыми медицинскими иглами актуальна в условиях их все более широкого использования и риска нанесения вреда здоровью в результате укола инфицированной иглой. Профессиональные риски случайного укола медицинской иглой у работников встречаются в медицинских организациях или в коммунальных службах при уборке территорий, вывозе мусора или на мусорных полигонах, при переработке и сортировке мусора, а также в водопроводных компаниях, где иглы и одноразовые шприцы сбрасывают в камеры ирригационных клапанов или водозаборные каналы вдоль дорожек и тротуаров, или у сотрудников полиции, обыскивающих подозреваемых в употреблении наркотиков внутривенно, или у работников, делающих прививки домашней птице на фермах.
Для снижения этих рисков используют меры обеспечения безопасности на рабочем месте, включая использование таких средств индивидуальной защиты, как перчатки, нарукавники и фартуки.
А.5 В настоящее время отсутствует международный стандарт, устанавливающий требования и метод испытаний по определению стойкости к проколу медицинской иглой. Однако в мире стандартизация движется в направлении формирования требований и стандартного метода с использованием одноразовой медицинской иглы.
Библиография
[1] | ISO 7500-1:2018 | Metallic materials - Verification of static uniaxial testing machines - Part 1: Tensile/compression testing machines (Материалы металлические. Калибровка и верификация машин для статических испытаний в условиях одноосного нагружения. Часть 1. Машины для испытания на растяжение/сжатие. Калибровка и верификация силоизмерительной системы) |
[2] | DIN SPEC 91365:2018-09 | Needle Puncture Testing (Испытание на прокол медицинской иглой) |
[3] | ASTM F2878-19 | Standard Test Method for Protective Clothing Material Resistance to Hypodermic Needle Puncture (Стандартный метод испытания материала защитной одежды на стойкость к проколу инъекционной иглой) |
[4] | ANSI/ISEA 105-2016 | American National Standard for Hand Protection Classification (Американский национальный стандарт для классификации защиты рук) |
[5] | ISO 7864:2016 | Sterile hypodermic needles for single use (Стерильные инъекционные иглы однократного применения) |
УДК 614.896.2:006.354 | МКС 13.340.40 |
Ключевые слова: безопасность труда, стойкость к проколу, многоразовая медицинская игла, средства индивидуальной защиты рук, материалы | |
Редакция документа с учетом
изменений и дополнений подготовлена

