ФЕДЕРАЛЬНОЕ АГЕНТСТВО
ПО ТЕХНИЧЕСКОМУ РЕГУЛИРОВАНИЮ И МЕТРОЛОГИИ

НАЦИОНАЛЬНЫЙ СТАНДАРТ РОССИЙСКОЙ ФЕДЕРАЦИИ
ГОСТ Р
МЭК 63026—
2025
КАБЕЛИ СИЛОВЫЕ ПОДВОДНЫЕ С ЭКСТРУДИРОВАННОЙ ИЗОЛЯЦИЕЙ И АРМАТУРА К НИМ НА НОМИНАЛЬНОЕ НАПРЯЖЕНИЕ ОТ 6 кВ (Um = 7,2 кВ) ДО 60 кВ (Um = 72,5 кВ)
Технические требования и методы испытаний
(IEC 63026:2019, Submarine power cables with extruded insulation and their accessories for rated voltages from 6 kV (Um = 7,2 kV) up to 60 kV (Um = 72,5 kV) — Test methods and requirements, IDT)
Издание официальное
Москва Российский институт стандартизации 2025
ГОСТ Р МЭК 63026—2025
Предисловие
1 ПОДГОТОВЛЕН Открытым акционерным обществом «Всероссийский научно-исследовательский, проектно-конструкторский и технологический институт кабельной промышленности» (ОАО «ВНИИКП») на основе собственного перевода на русский язык англоязычной версии стандарта, указанного в пункте 4
2 ВНЕСЕН Техническим комитетом по стандартизации ТК 46 «Кабельные изделия»
3 УТВЕРЖДЕН И ВВЕДЕН В ДЕЙСТВИЕ Приказом Федерального агентства по техническому регулированию и метрологии от 9 июля 2025 г. № 724-ст
4 Настоящий стандарт идентичен международному стандарту МЭК 63026:2019 «Кабели силовые подводные с экструдированной изоляцией и их арматура на номинальные напряжения от 6 кВ (Um = 7,2 кВ) до 60 кВ (Um = 72,5 кВ). Методы испытаний и требования» [IEC 63026:2019 «Submarine power cables with extruded insulation and their accessories for rated voltages from 6 kV (Um = 7,2 kV) up to 60 kV (Um = 72,5 kV) — Test methods and requirements», IDT],
Наименование настоящего стандарта изменено относительно наименования указанного международного стандарта для приведения в соответствие с ГОСТ Р 1.5—2012 (пункт 3.5).
При применении настоящего стандарта рекомендуется использовать вместо ссылочных международных стандартов соответствующие им национальные и межгосударственные стандарты, сведения о которых приведены в дополнительном приложении ДА
5 ВВЕДЕН ВПЕРВЫЕ
Правила применения настоящего стандарта установлены в статье 26 Федерального закона от 29 июня 2015 г. № 162-ФЗ «О стандартизации в Российской Федерации». Информация об изменениях к настоящему стандарту публикуется в ежегодном (по состоянию на 1 января текущего года) информационном указателе «Национальные стандарты», а официальный текст изменений и поправок — в ежемесячном информационном указателе «Национальные стандарты». В случае пересмотра (замены) или отмены настоящего стандарта соответствующее уведомление будет опубликовано в ближайшем выпуске ежемесячного информационного указателя «Национальные стандарты». Соответствующая информация, уведомление и тексты размещаются также в информационной системе общего пользования — на официальном сайте Федерального агентства по техническому регулированию и метрологии в сети Интернет (www.rst.gov.ru)
© IEC, 2019 ©Оформление. ФГБУ «Институт стандартизации», 2025
Настоящий стандарт не может быть полностью или частично воспроизведен, тиражирован и распространен в качестве официального издания без разрешения Федерального агентства по техническому регулированию и метрологии
II
ГОСТ Р МЭИ 63026—2025
Содержание
1 Область применения..................................................................1
2 Нормативные ссылки..................................................................1
3 Термины и определения ...............................................................3
4 Обозначения напряжений, материалы и округление чисел...................................5
5 Конструкция кабеля...................................................................6
6 Данные для идентификации кабеля .....................................................8
7 Данные для идентификации арматуры...................................................9
8 Условия испытаний....................................................................9
9 Приемо-сдаточные испытания кабелей и арматуры .......................................10
10 Периодические испытания кабелей....................................................11
11 Периодические испытания арматуры...................................................14
12 Типовые испытания кабельных систем.................................................15
13 Электрические испытания после прокладки.............................................31
Приложение А (обязательное) Методы нагрева испытуемого кабеля и определение температуры токопроводящей жилы кабеля..............................................36
Приложение В (обязательное) Порядок округления чисел....................................42
Приложение С (обязательное) Метод определения объемного удельного электрического сопротивления полупроводящих экранов.....................................43
Приложение D (обязательное) Испытание элементов конструкции кабеля с продольно наложенной металлической лентой или фольгой, обладающей адгезией к наружной оболочке . . .45
Приложение Е (обязательное) Определение твердости изоляции кабеля из высокомодульной этиленпропиленовой резины ...............................................49
Приложение F (справочное) Рекомендации по проведению приемо-сдаточных испытаний на заводских соединительных муфтах .......................................51
Приложение G (обязательное) Метод расчета испытательного усилия растяжения для испытаний на растяжение, изгиб и испытания на растяжение.................52
Приложение Н (справочное) Порядок проведения испытания изоляции кабеля напряжением постоянного тока.........................................................53
Приложение ДА (справочное) Сведения о соответствии ссылочных международных стандартов национальным и межгосударственным стандартам ...........................54
Библиография........................................................................56
III
ГОСТ Р МЭК 63026—2025
НАЦИОНАЛЬНЫЙ СТАНДАРТ РОССИЙСКОЙ ФЕДЕРАЦИИ
КАБЕЛИ СИЛОВЫЕ ПОДВОДНЫЕ С ЭКСТРУДИРОВАННОЙ ИЗОЛЯЦИЕЙ И АРМАТУРА К НИМ НА НОМИНАЛЬНОЕ НАПРЯЖЕНИЕ ОТ 6 кВ (Um = 7,2 кВ) ДО 60 кВ (Um = 72,5 кВ)
Технические требования и методы испытаний
Submarine power cables with extruded insulation and their accessories for rated voltages from 6 kV (Um = 7,2 kV) up to 60 kV (Um = 72,5 kV). Technical requirements and testing methods
Дата введения — 2026—07—01
1 Область применения
Настоящий стандарт устанавливает технические требования и методы испытаний силовых кабельных систем, кабелей с экструдированной изоляцией и арматуры к ним, предназначенных для неподвижной подводной прокладки и использования в сетях на номинальное напряжение от 6 кВ (Um = 7,2 кВ) до 60 кВ (Um = 72,5 кВ) для соединения морских ветроэлектростанций между собой и с сетью береговых установок.
Настоящий стандарт содержит электрические и физические испытания материалов и компонентов, а также специальные механические испытания, которые применимы к подводным кабельным системам.
Требования стандарта распространяются на бронированные одножильные кабели и трехжильные кабели в комбинации с их арматурой, концевые и соединительные муфты, предназначенные для обычных условий прокладки и эксплуатации, и не распространяется на специальные кабели и арматуру к ним, например, подводные кабели для динамических областей применения (т. е. для прямой связи с плавающей структурой), для которых может появиться необходимость в изменении стандартных испытаний или могут быть разработаны специальные условия испытаний.
Настоящий стандарт распространяется на подводные кабели, постоянно находящиеся в погруженном в воду состоянии на глубинах до 250 м.
Примечание — Настоящий стандарт не распространяется на арматуру, предназначенную только для механического крепления, например, устройства для подвеса кабеля или зажимы для присоединения к броне кабеля.
2 Нормативные ссылки
В настоящем стандарте использованы нормативные ссылки на следующие стандарты [для датированных ссылок применяют только указанное издание ссылочного стандарта, для недатированных — последнее издание (включая все изменения)]:
IEC 60228, Conductors of insulated cables (Жилы токопроводящие изолированных кабелей)
IEC 60229:2007, Electric cables — Tests on extruded oversheaths with a special protective function (Кабели электрические. Испытания наружных экструдированных оболочек, выполняющих специальную защитную функцию)
IEC 60230, Impulse tests on cables and their accessories (Испытания импульсным напряжением кабелей и их арматуры к ним)
Издание официальное
1
ГОСТ Р МЭК 63026—2025
IEC 60287-1-1:20061\ Electric cables — Calculation of the current rating — Part 1-1: Current rating equations (100 % load factor) and calculation of losses — General1) [Электрические кабели. Расчет номинальной токовой нагрузки. Часть 1-1. Уравнения для расчета номинальной токовой нагрузки (100 %-ный коэффициент токовой нагрузки) и расчет потерь. Общие положения]
IEC 60502-2:2014, Power cables with extruded insulation and their accessories for rated voltages from 1 kV (Um = 1,2 kV) up to 30 kV (Um = 36 kV) — Part 2: Cables for rated voltages from 6 kV (Um = 7,2 kV) up to 30 kV (Um = 36 kV) [Кабели силовые с экструдированной изоляцией и кабельная арматура на номинальное напряжение от 1 кВ (Um = 1,2 кВ) до 30 кВ (Um = 36 кВ). Часть 2. Кабели на номинальное напряжение от 6 кВ (Um = 7,2 кВ) до 30 кВ (Um = 36 кВ)]
IEC 60502-4, Power cables with extruded insulation and their accessories for rated voltages from 1 kV (Um = 1,2 kV) up to 30 kV (Um = 36 kV) — Part 4: Test requirements on accessories for cables with rated voltages from 6 kV (Um = 7,2 kV) up to 30 kV {Um = 36 kV) [Кабели силовые с экструдированной изоляцией и кабельная арматура на номинальное напряжение от 1 кВ (Um = 1,2 кВ) до 30 кВ (Um = 36 кВ). Часть 4: Требования к испытанию кабельной арматуры на номинальное напряжение от 6 кВ (Um = 7,2 кВ) до 30 кВ (Um= 36 кВ)]
IEC 60811-201, Electric and optical fibre cables — Test methods for non-metallic materials — Part 201: General tests — Measurement of insulation thickness (Кабели электрические и волоконно-оптические. Методы испытаний неметаллических материалов. Часть 201. Общие испытания. Измерение толщины изоляции)
IEC 60811-202, Electric and optical fibre cables — Test methods for non-metallic materials — Part 202: General tests — Measurement of thickness of non-metallic sheath (Кабели электрические и волоконно-оптические. Методы испытаний неметаллических материалов. Часть 202. Общие испытания. Измерение толщины неметаллической оболочки)
IEC 60811-203, Electric and optical fibre cables — Test methods for non-metallic materials — Part 203: General tests — Measurement of overall dimensions (Кабели электрические и волоконно-оптические. Методы испытаний неметаллических материалов. Часть 203. Общие испытания. Измерение наружных размеров)
IEC 60811-401, Electric and optical fibre cables — Test methods for non-metallic materials — Part 401: Miscellaneous tests — Thermal ageing methods —Ageing in an air oven (Кабели электрические и волоконно-оптические. Методы испытаний неметаллических материалов. Часть 401. Разные испытания. Методы теплового старения. Старение в термостате)
IEC 60811-402, Electric and optical fibre cables — Test methods for non-metallic materials — Part 402: Miscellaneous tests — Water absorption tests (Кабели электрические и волоконно-оптические. Методы испытаний неметаллических материалов. Часть 402. Различные испытания. Испытания на водопогло-щение)
IEC 60811-403, Electric and optical fibre cables — Test methods for non-metallic materials — Part 403: Miscellaneous tests — Ozone resistance test on cross-linked compounds (Кабели электрические и волоконно-оптические. Методы испытаний неметаллических материалов. Часть 403. Разные испытания. Испытание сшитых компаундов на озоностойкость)
IEC 60811-501, Electric and optical fibre cables — Test methods for non-metallic materials — Part 501: Mechanical tests — Tests for determining the mechanical properties of insulating and sheathing compounds (Кабели электрические и волоконно-оптические. Методы испытаний неметаллических материалов. Часть 501. Механические испытания. Испытания для определения механических свойств композиций изоляции и оболочек)
IEC 60811-502, Electric and optical fibre cables — Test methods for non-metallic materials — Part 502: Mechanical tests — Shrinkage test for insulations (Кабели электрические и волоконно-оптические. Методы испытаний неметаллических материалов. Часть 502. Механические испытания. Испытание изоляции на усадку)
IEC 60811-503, Electric and optical fibre cables — Test methods for non-metallic materials — Part 503: Mechanical tests — Shrinkage test for sheaths (Кабели электрические и волоконно-оптические. Методы испытаний неметаллических материалов. Часть 503. Механические испытания. Испытание оболочек на усадку)
11 Заменен. Действует IEC 60287-1-1:2023. Однако для однозначного соблюдения требования настоящего стандарта, приведенного в датированной ссылке, рекомендуется использовать только указанное в этой ссылке издание.
2
ГОСТ Р МЭИ 63026—2025
IEC 60811-507, Electric and optical fibre cables — Test methods for non-metallic materials — Part 507: Mechanical tests — Hot set test for cross-linked materials (Кабели электрические и волоконно-оптические. Методы испытаний неметаллических материалов. Часть 507. Механические испытания. Испытание на тепловую деформацию для сшитых композиций)
IEC 60811-508, Electric and optical fibre cables — Test methods for non-metallic materials — Part 508: Mechanical tests — Pressure test at high temperature for insulation and sheaths (Кабели электрические и волоконно-оптические. Методы испытаний неметаллических материалов. Часть 508. Механические испытания. Испытание изоляции и оболочек под давлением при высокой температуре)
IEC 60811-605, Electric and optical fibre cables — Test methods for non-metallic materials — Part 605: Physical tests — Measurement of carbon black and/or mineral filler in polyethylene compounds (Кабели электрические и волоконно-оптические. Методы испытаний неметаллических материалов. Часть 605. Физические испытания. Определение содержания сажи и/или минерального наполнителя в полиэтиленовых композициях)
IEC 60840, Power cables with extruded insulation and their accessories for rated voltages above 30 kV (Um= 36 kV) up to 150 kV (Um = 170 kV) — Test methods and requirements [Кабели силовые с экструдированной изоляцией и арматура к ним на номинальное напряжение свыше 30 кВ (Um = 36 кВ) до 150 кВ (Um =170 кВ). Методы испытаний и требования к ним]
IEC 60885-3, Electrical test methods for electric cables — Part 3: Test methods for partial discharge measurements on lengths of extruded power cables (Методы электрических испытаний электрических кабелей. Часть 3. Методы испытаний по измерению частичных разрядов на длинах силовых экструдированных кабелей)
ISO 48-2, Rubber, vulcanized or thermoplastic — Determination of hardness — Part 2: Hardness between 10 IRHD and 100 IRHD (Резина вулканизированная или термопластичная. Определение твердости. Часть 2. Твердость в диапазоне от 10 IRHD до 100 IRHD)
3 Термины и определения
В настоящем стандарте применены следующие термины с соответствующими определениями.
ИСО и МЭК ведут терминологические базы данных для использования в стандартизации по следующим адресам:
- Электропедия МЭК: доступная на http://www.electropedia.org/;
- платформа онлайн-просмотра ИСО: доступная на http://www.iso.org/obp.
3.1 Размерные параметры (толщины, сечения и т. д.)
3.1.1 номинальное значение (nominal value): Значение, которым обозначают величину и которое, как правило, используют в таблицах.
Примечание — Приведенные в настоящем стандарте номинальные значения — это значения, которые проверяют измерениями с учетом установленных предельных отклонений.
3.1.2 медианное значение (median value): Значение, определяемое результатами измерений, расположенными в ряд в порядке возрастания (или убывания) числовых значений, которое находится в середине ряда, если число полученных результатов нечетное, или усредненное из двух, находящихся в середине ряда, если число результатов четное.
3.2 Виды испытаний
3.2.1 приемо-сдаточные испытания (routine tests): Испытания, проводимые изготовителем на каждой строительной длине кабеля или каждом виде арматуры с целью проверки соответствия установленным требованиям.
3.2.2 периодические испытания (sample tests): Испытания, проводимые изготовителем на образцах кабеля, арматуры или конструктивных элементах, отобранных от кабеля или арматуры в объемах и в сроки, установленные в нормативном или техническом документе, с целью проверки соответствия изготовленной продукции установленным требованиям.
3.2.3 типовые испытания (type tests): Испытания, проводимые изготовителем на стадии постановки на производство кабельной системы, кабеля или арматуры, подпадающих под действие настоящего стандарта, с целью обеспечения гарантии соответствия их характеристик установленным требованиям после внесения изменений в конструкцию, материалы или технологический процесс.
3
ГОСТ Р МЭК 63026—2025
Примечание — После проведения типовых испытаний повторное их проведение не требуется до тех пор, пока не будут внесены изменения в применяемые материалы, конструкцию кабеля или технологию изготовления, которые могут повлиять на их эксплуатационные характеристики.
3.2.4 электрические испытания после прокладки (electrical test after installation): Испытания, проводимые с целью проверки целостности кабельной системы после прокладки.
Примечание — Интегрированные оптические элементы, при их наличии, испытывают по требованию заказчика. Виды испытаний устанавливают по согласованию между изготовителем и заказчиком.
3.3 Другие термины и определения
3.3.1 кабельная система (cable system): Кабель, оснащенный арматурой, включая элементы, используемые только в качестве концевых и соединительных муфт для ограничения воздействия термомеханических факторов.
3.3.2 номинальная электрическая напряженность (nominal electrical stress): Напряженность электрического поля, рассчитанная при UQ с использованием номинальных параметров.
3.3.3 испытуемый образец (test object): Объект, представляющий собой отрезок (образец) кабеля или арматуру, на которой проводят испытание.
3.3.4 испытуемая сборка (test assembly): Сборка, представляющая собой комбинацию последовательно соединенных испытуемых образцов, т. е. кабеля и арматуры, на которых испытания проводят одновременно.
3.4 Испытуемые образцы
3.4.1 длина экструзии (extrusion length): Длина токопроводящей жилы кабеля, на которую способом непрерывной экструзии нанесена изоляция и полупроводящие слои.
3.4.2 строительная длина (manufacturing length): Нормированная длина кабельного изделия в одном отрезке.
3.4.3 поставочная длина (delivery length): Длина готового кабеля, в типовом случае на кабельном барабане, в бухте или на поворотном столе.
3.4.4 заводская соединительная муфта (factory joint): Соединительная муфта между длинами экструзии/строительными длинами, изготовленная в контролируемых заводских условиях.
Примечание — Заводские соединительные муфты имеют одинаковые механические и электрические характеристики с оригинальным кабелем и являются полностью гибкими.
3.4.5 полевая соединительная муфта (field joint): Соединительная муфта между двумя поставочными длинами готового кабеля, имеющего все конструктивные элементы кабеля.
Примечания
1 Полевую соединительную муфту, как правило, применяют для соединения двух поставочных длин кабеля в зоне подводной прокладки или в береговой зоне. В настоящем стандарте установлены одинаковые требования к полевым и ремонтным соединительным муфтам.
2 В настоящем стандарте установлены разные требования к жестким и гибким соединительным муфтам.
3 Ремонтная и полевая соединительные муфты могут иметь одинаковую конструкцию.
3.4.6 ремонтная соединительная муфта (repair joint): Соединительная муфта, используемая для ремонта поврежденного кабеля.
Примечания
1 В настоящем стандарте установлены разные требования к жестким и гибким соединительным муфтам.
2 Ремонтная и полевая соединительные муфты могут иметь одинаковую конструкцию.
3.4.7 жесткая соединительная муфта (rigid joint): Соединительная муфта, которая не может быть подвергнута испытаниям на изгиб для определения возможности намотки на катушку в составе кабеля или определения прочности при растяжении.
3.4.8 гибкая ремонтная (полевая) соединительная муфта [flexible repair (field) joint]: Полностью гибкая ремонтная (полевая) соединительная муфта, изготовленная в контролируемых условиях.
Примечание — Гибкие ремонтные (полевые) соединительные муфты имеют с оригинальным кабелем одинаковые механические и электрические характеристики.
4
ГОСТ Р МЭИ 63026—2025
3.4.9 асимметричная соединительная муфта (asymmetric joint): Соединительная муфта, которая соединяет два кабеля, имеющих одинаковую систему изоляции, но разную конструкцию.
Примечание — Примерами разной конструкции являются разные токопроводящие жилы, изоляция или экраны разных размеров или кабели для наземной или подводной прокладки.
3.4.10 большая длина (long length): Длина кабеля, которая не может быть размещена в экранируемой комнате для измерения частичных разрядов.
3.4.11 значительная высота волны (significant wave height): Средняя высота волны (от впадины до гребня), рассчитываемая из трети рассматриваемого числа волн, имеющих наибольшую амплитуду.
4 Обозначения напряжений, материалы и округление чисел
4.1 Номинальное напряжение
Настоящий стандарт распространяется на кабели следующих номинальных напряжений UQ/U (Um): Uo/U (Um) = 3,6/6 (7,2) - 6/10 (12) - 8,7/15 (17,5) - 12/20 (24) - 18/30 (36) - 26/45 (52) - 36/60 (72,5) кВ. Примечание — Приведенные значения напряжений являются предпочтительными, при этом допускается использовать другие значения, принятые в странах, например, 5,8/10 - 6,6/11 - 11,5/20 - 17,3/30 - 19/33 -21/35 - 26/35 - 26/46 - 38/66 кВ.
В приведенном условном обозначении номинальных напряжений кабелей UQ/U (UmY
Uo — номинальное напряжение промышленной частоты между каждой из токопроводящих жил и землей или металлическим экраном, на которое рассчитан кабель;
U — номинальное напряжение промышленной частоты между токопроводящими жилами, на которое рассчитан кабель;
Um — максимальное напряжение сети, при котором допускается эксплуатация оборудования (см. МЭК 60038).
Номинальное напряжение кабеля для определенной области применения должно соответствовать условиям работы сети, в которой используют кабель. Для упрощения выбора кабеля сети подразделяют на следующие категории:
- А, к этой категории относят сети, в которых фазная жила, находящаяся в контакте с землей или заземляющей жилой, отключается от системы в течение 1 мин;
- В, к этой категории относят сети, которые в условиях пробоя продолжают работать в течение заданного короткого периода времени с одной заземленной фазой. В соответствии с МЭК 60183 этот период не должен быть более 1 ч. В настоящем стандарте для кабелей допускается применение более продолжительного периода, но не более 8 ч для каждого отдельного замыкания. Общая продолжительность замыканий на землю за 1 год не должна быть более 125 ч;
- С, к этой категории относят сети, не вошедшие в категорию А или В.
Следует учитывать, что в сети, где короткое замыкание на землю не устраняется автоматически и быстро, чрезмерные напряжения на изоляции кабеля во время короткого замыкания на землю сокращают срок службы кабеля. Если предполагается, что сеть будет работать достаточно часто в условиях длительного короткого замыкания на землю, то рекомендуется относить сеть к категории С.
В таблице 1 приведены значения Uo, рекомендуемые для кабелей, используемых в трехфазных сетях.
Таблица 1 — Рекомендуемые значения номинального напряжения Uo
В киловольтах
Максимальное напряжение сети Um | Номинальное напряжение UQ | |
Категории А и В | Категория С | |
7,2 | 3,6 | 6,0 |
12,0 | 6,0 | 8,7 |
17,5 | 8,7 | 12,0 |
24,0 | 12,0 | 18,0 |
36,0 | 18,0 | 26,0 |
52,0 | 26,0 | 36,0 |
72,5 | 36,0 | — |
5
ГОСТ Р МЭК 63026—2025
4.2 Изоляционные материалы кабелей
Изоляционные материалы кабелей приведены в таблице 2 с указанием максимально допустимой температуры на жиле для каждого изоляционного материала.
Таблица 2 — Изоляционные материалы кабелей
Изоляционный материал | Максимально допустимая температура на жиле, °C | |
при нормальных условиях эксплуатации | при коротком замыкании продолжительностью не более 5 с | |
Сшитый полиэтилен (СПЭ) Этиленпропиленовая резина (ЭПР) и высокомодульная этиленпропиленовая резина (ВЭПР) | 90 90 | 250 250 |
Значения температуры, приведенные в таблице 2, основаны на специфичных свойствах изоляционных материалов. При расчете номинального тока на основе этих значений следует учитывать другие факторы.
При расчете токовой нагрузки при эксплуатации кабеля в длительном режиме следует руководствоваться стандартами серии МЭК 60287 (все части).
При расчете токовой нагрузки кабелей в цикличном и аварийном режимах следует руководствоваться стандартами серии МЭК 60853 (все части).
При выборе температуры при коротком замыкании следует руководствоваться МЭК 60986 и МЭК 61443.
При расчете тока короткого замыкания следует руководствоваться МЭК 60949.
4.3 Округление чисел
Порядок округления чисел, приведенный в приложении В, применяют при округлении чисел и значений, полученных по результатам испытаний, проведенных в соответствии с настоящим стандартом.
5 Конструкция кабеля
5.1 Общие положения
Требования к конструкции кабеля установлены в 5.2—5.10.
5.2 Токопроводящие жилы
Токопроводящие жилы должны быть класса 1 или 2 из отожженной меди с металлическим покрытием или без него, или из алюминия или его сплава и соответствовать МЭК 60228. Для всех токопроводящих жил следует предпринять меры по обеспечению продольной водонепроницаемости. По согласованию между заказчиком и изготовителем требование к токопроводящей жиле по водонепроницаемости допускается не предъявлять.
5.3 Изоляция
Изоляция должна быть выполнена из экструдированного изоляционного материала одного из типов, указанных в таблице 2.
Для кабелей при максимальном значении напряжения сети Um не более 36 кВ, при котором допускается эксплуатация оборудования, номинальная толщина изоляции указана МЭК 60502-2:2014 (раздел 6). По согласованию между заказчиком и изготовителем толщину изоляции выбирают с учетом допустимой напряженности электрического поля при заданном значении Um.
Для кабелей при максимальном значении напряжения сети Um от 36 до 72,5 кВ номинальную толщину изоляции устанавливает изготовитель.
Для всех кабелей при выбранной толщине изоляции должно выполняться следующее требование: номинальное значение напряженности электрического поля на экране токопроводящей жилы должно быть не более 8,0 кВ/мм, на экране изоляции — не более 4,0 кВ/мм.
Требования к изоляции кабелей, рассчитанных на большие номинальные значения напряженности электрического поля, — в стадии рассмотрения.
6
ГОСТ Р МЭК 63026—2025
Толщина разделительного слоя или электропроводящего экрана по токопроводящей жиле или по изоляции не входит в толщину изоляции.
5.4 Экранирование
Экран по изолированной жиле одножильных или трехжильных кабелей должен состоять из экрана по токопроводящей жиле и экрана по изоляции.
Экран по токопроводящей жиле должен быть неметаллическим и состоять из полупроводящего экструдированного компаунда, который может быть наложен по внешней стороне полупроводящей ленты. Полупроводящий экструдированный компаунд должен обладать адгезией к изоляции.
Экран по изоляции должен состоять из полупроводящего неметаллического слоя в сочетании с металлическим элементом.
Неметаллический слой должен быть нанесен экструзией непосредственно на изоляцию каждой жилы и состоять из полупроводящего компаунда, приваренного к изоляции.
Полупроводящие экраны должны быть приварены к изоляции для обеспечения лучшей стойкости к механическим напряжениям при прокладке кабеля.
Слой полупроводящей ленты или полупроводящего компаунда может быть наложен на каждую изолированную жилу или на скрутку изолированных жил.
5.5 Металлический экран
Металлический экран накладывают на каждую изолированную жилу или на скрутку изолированных жил. Металлический экран должен состоять из одной или нескольких лент, или быть в виде оплетки, или концентрического повива проволок, или сочетания проволок и ленты (лент), или металлической оболочки.
При изготовлении металлического экрана должна быть обеспечена продольная водонепроницаемость, которую подтверждают проведением испытаний. Для обеспечения механических и электрических характеристик при выборе материала экрана следует учитывать возможность коррозии.
В особых случаях броню из стальной проволоки трехжильных кабелей рассматривают как металлический экран.
5.6 Материалы наружной оболочки изолированной жилы
При необходимости допускается накладывать наружную оболочку по металлическому экрану. Рекомендуется использовать наружную оболочку на основе полиэтилена (ПЭ) типа ST7 (см. таблицы 5 и 7).
Допускается использовать наружную оболочку из полупроводящего ПЭ. Рекомендуется подбирать материал для наружной оболочки таким образом, чтобы он имел одинаковые с ПЭ типа ST7 неэлектрические характеристики, за исключением содержания сажи.
Следует учитывать переходное перенапряжение, которое может возникать в кабелях большой длины.
5.7 Общая скрутка трехжильных кабелей с применением заполнителей
Общая скрутка трехжильных кабелей должна сохранять приблизительно круглую форму.
Материалы, используемые для заполнителей и подушки, должны соответствовать рабочей температуре кабеля и быть совместимыми с изолирующим материалом и/или материалом оболочки, а также с морской средой.
5.8 Броня кабеля
Кабели могут иметь броню из круглых или плоских проволок. Проволоки должны быть изготовлены из оцинкованной стали, нержавеющей стали, меди или луженой меди, или других коррозионо-стойких металлических сплавов. В некоторых случаях с целью уменьшения массы кабеля броня может представлять собой комбинацию металлических и пластиковых проволок.
При необходимости допускается накладывать дополнительный слой металлических лент для дополнительной защиты кабеля в особых областях применения.
Броня состоит из одного или двух слоев проволок, наложенных в одном или противоположных направлениях в зависимости от условий скрутки и требуемых механических характеристик. Броня накладывается на подушку во избежание повреждения изолированной жилы (жил).
7
ГОСТ Р МЭК 63026—2025
Для одножильных кабелей используют немагнитную броню.
При выборе материала брони следует учитывать возможность коррозии не только для обеспечения механической, но и электрической безопасности.
5.9 Наружный покров кабеля
Материалы, используемые для наружного покрова кабеля, как правило, должны иметь тканевую основу (например, полипропиленовая пряжа) соответствующей толщины, соответствовать рабочей температуре кабеля и быть совместимыми с материалами кабеля, с которыми наружный покров соприкасается (например, металлическая оболочка, броня, наружная оболочка или другой материал), и с морской средой.
В качестве наружного покрова вместо текстильной пряжи допускается накладывать экструдированный слой.
5.10 Упаковка
В зависимости от длины соединения кабели могут быть намотаны на барабаны, уложены в бухты или расположены на поворотных столах. Если кабели уложены в бухты с фиксацией на каждом витке, то кабель подвергают скручиванию на 360°; при этом следует учитывать радиус изгиба для предотвращения повреждения кабеля.
6 Данные для идентификации кабеля
Для проведения испытаний кабеля и кабельной системы, а также регистрации результатов испытаний кабель или кабельную систему следует идентифицировать. Для этого изготовитель должен указать следующие данные:
а) наименование изготовителя, тип кабеля, его обозначение и дату изготовления (дата последней фазы процесса изготовления) или кодировку даты;
Ь) номинальное напряжение — значения Uo, U, Um (см. 4.1 и 8.4);
с) максимальную глубину прокладки в воде;
d) тип токопроводящей жилы, материал, из которого она изготовлена, номинальное сечение, мм2; конструкцию жилы; меры, предпринятые для обеспечения продольной водонепроницаемости;
е) изоляционный материал и номинальную толщину изоляции tn (см.5.3);
f) способ наложения изоляции;
д) меры, применяемые для обеспечения водонепроницаемости экрана;
h) материал и конструкцию металлического экрана, например число и диаметр проволок; сопротивление металлического экрана постоянному току; материал, конструкцию и номинальную толщину металлической оболочки или продольно наложенной металлической ленты или фольги, обладающих адгезией к наружной оболочке (при наличии);
i) материал и номинальную толщину наружной оболочки (при наличии);
j) тип материала, число слоев, направление скрутки и диаметр проволоки в каждом слое проволочной брони; тип материала и толщину дополнительного слоя металлических лент (при наличии);
к) тип материала и толщину наружного покрова (при наличии);
I) номинальный диаметр токопроводящей жилы ф
т) номинальный наружный диаметр кабеля О;
п) номинальное значение внутреннего диаметра d- и расчетное номинальное значение наружного диаметра изоляции Dio;
о) номинальную емкость между жилой и экраном или металлической оболочкой, приведенную к 1 км длины кабеля;
р) необходимость проведения предквалификационных испытаний кабельной системы и/или расчетные значения номинальной напряженности электрического поля на экране по жиле Ej и на экране по изоляции Ео, вычисленные по формулам:
8
ГОСТ Р МЭК 63026—2025
Е 2U°
° D^^/d^
где Dj0 - da + 2tn,
Dio — расчетное значение номинального наружного диаметра изоляции, мм;
djj— номинальный внутренний диаметр изоляции, мм;
tn — номинальная толщина изоляции, мм.
7 Данные для идентификации арматуры
Для проведения испытаний кабельных систем или арматуры к ним и регистрации результатов испытаний кабельная арматура должна быть идентифицирована.
Для этого изготовитель должен указать следующие данные:
а) идентификационные данные кабеля, применяемого для испытаний арматуры, в соответствии с разделом 6;
Ь) информацию о соединениях жил и металлических экранов, используемых в арматуре:
- технологию монтажа,
- оборудование, инструменты и необходимые настройки,
- порядок подготовки контактных поверхностей,
- тип, ссылочный номер и другие характеристики соединителя,
- подробное описание типового испытания соединителя (если его используют);
с) идентификационные данные арматуры:
- наименование изготовителя и чертежи,
- подробное описание зажима для брони (при наличии),
- тип, обозначение, дату изготовления или кодировку даты,
- номинальное напряжение [см. раздел 6, перечисление Ь)],
- наличие инструкции по монтажу (ссылки и дату).
8 Условия испытаний
8.1 Температура окружающей среды
Испытания проводят при температуре окружающей среды (20 ±15) °C, если в конкретном методе испытания не указано иное. Отклонение от этого температурного диапазона устанавливают по согласованию между изготовителем и заказчиком.
8.2 Частота и форма волны для испытаний напряжением переменного тока
Если не указано иное, то частота испытательного напряжения переменного тока должна быть в диапазоне от 10 до 500 Гц. Форма волны этого напряжения должна быть синусоидальной. Установленные значения являются среднеквадратичными.
8.3 Испытание грозовым импульсным напряжением
Испытание проводят в соответствии с МЭК 60230.
8.4 Зависимость между испытательным и номинальным напряжениями
Если испытательное напряжение нормировано как кратное номинальному напряжению Uo, то для определения испытательного напряжения значение Uoдолжно соответствовать указанному в таблице 4.
Для кабелей и арматуры, номинальное напряжение которых не приведено в таблице 4, значение UQ для определения испытательного напряжения допускается выбирать из ближайшего ряда значений при условии, что значение Um для кабеля и арматуры не превышает соответствующего значения из таблицы 4. Если номинальное напряжение не приближается ни к одному из значений в таблице 4, то значение Uo, являющееся основой испытательного напряжения, должно быть равным номинальному значению, то есть значению U, деленному на л/3. Значения испытательного напряжения устанавливают путем расчета с использованием множителей, указанных в таблице 4, или интерполяции, если множители не указаны.
9
ГОСТ Р МЭК 63026—2025
В настоящем стандарте испытательные напряжения основаны на предположении о том, что кабели и арматуру применяют в сетях категории А или В по МЭК 60183.
8.5 Определение температуры токопроводящей жилы кабеля
Для определения фактической температуры токопроводящей жилы кабеля рекомендуется использовать один из методов испытаний, приведенных в приложении А.
9 Приемо-сдаточные испытания кабелей и арматуры
9.1 Общие положения
Как правило, кабели изготавливают большими длинами, поэтому в случае возникновения затруднений при проведении испытания напряжением переменного тока может потребоваться специальное оборудование.
Приемо-сдаточные испытания подразделяют на испытания, проводимые на строительных длинах кабелей, на заводских муфтах, на поставочных длинах кабелей и на арматуре.
Приемо-сдаточные испытания проводят по 9.2—9.4.
9.2 Приемо-сдаточные испытания на строительных длинах кабелей
9.2.1 Измерение частичных разрядов
Если длина кабеля достаточна для проведения измерений частичных разрядов, то испытание проводят в соответствии с МЭК 60885-3 за исключением того, что значения чувствительности, определенные по МЭК 60885-3, должны быть не более 10 пКл. Значение затухания импульсов следует определять в соответствии с МЭК 60885-3 при установлении заданного уровня чувствительности.
Значения частичных разрядов измеряют в следующем порядке.
Испытательное напряжение постепенно поднимают до значения 2U0, выдерживают в течение 10 с и затем постепенно снижают до значения 1,73L/0.
При значении напряжения 1,73С/0 не должны быть зафиксированы разряды от испытуемого образца, превышающие заданный уровень чувствительности.
Так как невозможно разместить большие длины кабеля в экранируемой среде, то испытания по МЭК 60885-3 не проводят. Если измерения частичных разрядов все-таки проводят, то их результаты допускается использовать только в справочных целях.
Если длину кабеля считают большой (см. 3.4.10), то измерение частичных разрядов допускается проводить на коротких длинах кабеля по согласованию между изготовителем и заказчиком. В этом случае чувствительность по МЭК 60885-3 должна быть не более 5 пКл.
9.2.2 Испытание напряжением переменного тока
Испытание напряжением переменного тока проводят при температуре окружающей среды.
Испытательное напряжение постепенно поднимают до установленного значения, затем выдерживают между токопроводящей жилой и металлическим экраном в течение установленного времени в соответствии с графой 4 таблицы 4.
При значении напряжения 1,5О0 не должны быть зафиксированы разряды от испытуемого образца, превышающие заявленную чувствительность.
Во время испытания не должно произойти пробоя изоляции.
Допускается прерывать испытание, например вследствие перегрева испытательного оборудования, при соответствии требованию к общей длительности испытания.
9.3 Приемо-сдаточные испытания на заводских муфтах
Рекомендации по проведению приемо-сдаточных испытаний на заводских муфтах приведены в приложении F.
9.4 Приемо-сдаточные испытания на поставочных длинах кабелей
9.4.1 Общие положения
Данные испытания являются заводскими приемо-сдаточными испытаниями, проводимыми на поставочной длине кабеля. Если постоянное механическое оборудование (например, устройства для подвешивания кабеля) монтируют на кабель до его поставки, то приемо-сдаточные испытания проводят после монтажа такого постоянного механического оборудования.
10
ГОСТ Р МЭК 63026—2025
9.4.2 Испытание напряжением переменного тока
Каждую поставочную длину кабеля подвергают испытанию напряжением переменного тока в соответствии с 9.2.2. Если поставочная длина является слишком большой для проведения испытания приложением напряжения, значение которого указано в графе 4 таблицы 4, то по согласованию между изготовителем и заказчиком применяют испытательное напряжение меньшего значения, но большей длительности.
9.4.3 Измерение частичных разрядов
Если поставочные длины относительно короткие, то допускается проводить измерения частичных разрядов на каждой поставочной длине кабеля. Испытание проводят в соответствии с 9.2.1 вместо испытания на строительной длине.
Если измерения частичных разрядов проводят на кабеле большой длины (см. 3.4.10), то их результаты используют только в справочных целях.
9.5 Приемо-сдаточные испытания на арматуре
Приемо-сдаточные испытания на соединительных (за исключением заводских муфт) и концевых муфтах проводят в соответствии с требованиями МЭК 60502-4 или МЭК 60840.
Если на арматуру не были установлены элементы, предварительно изготовленные в заводских условиях, то по согласованию между изготовителем и заказчиком применяют наиболее подходящий метод (при его наличии) проверки качества арматуры.
10 Периодические испытания кабелей
10.1 Общие положения
Следующие испытания по перечислениям а)—i) проводят на каждой токопроводящей жиле образца кабеля, испытание по перечислению j) — на кабеле:
а) проверка токопроводящей жилы;
Ь) измерение электрического сопротивления жилы и металлического экрана;
с) измерение толщины изоляции;
d) измерение толщины наружной оболочки (при наличии);
е) измерение толщины металлической оболочки (при наличии);
f) измерение диаметров (если требуется);
д) испытание на тепловую деформацию изоляции из СПЭ, ЭПР и ВЭПР*;
h) измерение емкости;
i) испытания элементов конструкции кабеля с продольно наложенной металлической лентой или фольгой, обладающей адгезией к наружной оболочке;
j) проверка кабеля.
Настоящий стандарт не устанавливает методы испытаний волоконно-оптических кабелей, которые могут входить в состав подводных кабелей. В таких случаях следует руководствоваться директивами технического комитета по стандартизации МЭК/ТК 86 Международной электротехнической комиссии (МЭК).
10.2 Периодичность испытаний
Испытания проводят с периодичностью, указанной в нормативных документах по контролю качества. Если такие документы отсутствуют, то при поставке кабеля длиной не более 20 км проводят периодические испытания. Повторные периодические испытания проводят для каждой дополнительной поставочной длины кабеля 50 км. Для испытаний отбирают два образца от одной поставочной длины с обоих концов кабеля.
10.3 Повторные периодические испытания
При получении неудовлетворительных результатов испытаний хотя бы в одном из методов, перечисленных в разделе 10, отбирают новые образцы кабеля двух других строительных длин той же партии и подвергают тем же испытаниям, в которых на первых образцах получены неудовлетворительные
Исправлена ошибка оригинала.
11
ГОСТ Р МЭК 63026—2025
результаты. Если результаты испытаний на новых образцах будут удовлетворительными, то всю партию кабеля, от которой они были отобраны, считают как соответствующую требованиям настоящего стандарта. При получении неудовлетворительного результата испытаний хотя бы одного образца, отобранного от кабеля одной из этих строительных длин, партию кабеля считают не соответствующей требованиям настоящего стандарта.
10.4 Проверка токопроводящей жилы
Соответствие конструкции токопроводящих жил требованиям МЭК 60228 или конструкции жилы, приведенной в нормативном документе на конкретное изделие, проверяют внешним осмотром или (если возможно) измерением.
10.5 Измерение электрического сопротивления жилы и металлического экрана
Строительную длину кабеля или отобранный от нее образец размещают в испытательной камере и выдерживают до начала испытания при постоянной температуре не менее 12 ч. Если отсутствует уверенность в том, что температура жилы или металлического экрана сравнялась с температурой в испытательной камере, то электрическое сопротивление следует измерять после выдержки в испытательной камере не менее 24 ч. Допускается измерять электрическое сопротивление жилы или металлического экрана на образце после выдержки в ванне с водой с регулируемой температурой не менее 1 ч.
Электрическое сопротивление жилы постоянному току пересчитывают на длину 1 км кабеля и температуру 20 °C, используя формулы и коэффициенты, приведенные в МЭК 60228. Для всех экранов, кроме медных или алюминиевых, следует выбирать температурные коэффициенты и поправки к формулам в соответствии с МЭК 60287-1-1:2006 (пункт 2.1.1, таблица 1).
Скорректированное значение электрического сопротивления токопроводящей жилы постоянному току при температуре 20 °C должно быть не более соответствующего максимального значения электрического сопротивления, приведенного в МЭК 60228.
Скорректированное значение электрического сопротивления металлического экрана постоянному току при температуре 20 °C должно быть не более значения, указанного в нормативном документе на кабель конкретного типа.
10.6 Измерение толщины изоляции кабеля
10.6.1 Общие положения
Применяют метод измерений толщины изоляции кабеля по МЭК 60811-201.
От одного конца кабеля каждой отобранной для испытаний строительной длины отбирают образец после удаления, при необходимости, поврежденных частей.
10.6.2 Требования к изоляции кабеля после испытаний
Минимальная толщина изоляции кабеля fmin, мм, полученная при измерении, должна быть не менее 90 % номинальной толщины tn, мм
^min ~ 0,90 tn,
кроме того,
^тах — ^min п и с ----------<0,15, ^тах
где fmax— максимальная толщина изоляции кабеля, полученная при измерении, мм.
fmax и fmin измеряют на одном срезе изоляции кабеля.
Значение толщины полупроводящих экранов, наложенных по жиле и изоляции, не следует включать в значение толщины изоляции.
10.7 Измерение толщины наружной оболочки кабеля
10.7.1 Общие положения
Применяют метод измерений толщины наружной оболочки кабеля по МЭК 60811-202.
12
ГОСТ Р МЭК 63026—2025
От одного конца кабеля каждой отобранной для испытаний строительной длины отбирают образец после удаления, при необходимости, поврежденных частей.
10.7.2 Требования к наружной оболочке кабеля после испытаний
Минимальная толщина наружной оболочки кабеля fmjn, мм, полученная при измерении, должна быть не менее значения, полученного путем вычитания 0,2 мм из 80 % номинальной толщины tn, мм
U^80fn-0,2.
10.8 Измерение толщины металлической оболочки кабеля
10.8.1 Общие положения
Измерение толщины металлической оболочки кабеля с металлическими оболочками из свинца или свинцового сплава проводят по 10.8.2—10.8.4.
10.8.2 Требования к металлической оболочке кабеля после испытаний
Если кабель имеет металлическую оболочку из свинца или свинцового сплава, то минимальная толщина металлической оболочки кабеля /min, мм, полученная при измерении, должна быть не менее значения, полученного путем вычитания 0,1 мм из 95 % номинальной толщины tn, мм
fmin > 0,95 L-0,1.
Измерение толщины оболочки из свинца или свинцового сплава проводят одним из следующих методов.
10.8.3 Метод измерений на плоском образце
Измерения проводят микрометром с плоскими щечками, диаметром щупов от 4 до 8 мм и погрешностью измерений ±0,01 мм.
Измерения проводят на образце оболочки длиной приблизительно 50 мм, отобранном от кабеля в виде кольца. Образец разрезают продольно оси, затем выпрямляют. После очистки образца толщину образца измеряют вдоль окружности оболочки не менее чем в 10 мм от края выпрямленного образца в точках, число которых достаточно для обеспечения достоверности определения минимальной толщины оболочки.
10.8.4 Метод измерений на образце в виде кольца
Измерение проводят микрометром, имеющем либо одну плоскую и другую сферическую щечки, либо одну плоскую и другую прямоугольную щечки шириной 0,8 мм и длиной 2,4 мм. Сферическую или прямоугольную щечку прикладывают к внутренней поверхности кольца. Погрешность измерений должна составлять ±0,01 мм.
Измерение проводят на оболочке в виде кольца, срезанной с образца кабеля. Толщину измеряют в точках по окружности кольца, число которых достаточно для обеспечения достоверности определения минимальной толщины оболочки.
10.9 Измерение диаметра жилы и/или наружного диаметра кабеля
По требованию заказчика измеряют диаметр жилы и/или наружный диаметр кабеля по МЭК 60811-203.
10.10 Испытание на тепловую деформацию изоляции из сшитого полиэтилена, этиленпропиленовой резины и высокомодульной этиленпропиленовой резины
10.10.1 Метод испытаний
Отбор образцов и метод испытаний — по МЭК 60811-507, условия испытаний — по таблице 8 настоящего стандарта.
Образцы отбирают из той части изоляции, где степень сшивки считают наименьшей для используемого процесса сшивки.
10.10.2 Требования к результатам испытаний
Результаты испытаний должны соответствовать требованиям, указанным в таблице 8.
10.11 Измерение емкости
Емкость измеряют на образце кабеля между жилой и металлическим экраном или металлической оболочкой при температуре окружающей среды. Температуру окружающей среды следует регистрировать совместно с результатами испытаний.
13
ГОСТ Р МЭК 63026—2025
Измеренное значение емкости должно быть пересчитано на 1 км длины кабеля и не должно превышать номинальное значение, заявленное изготовителем, более чем на 8 %.
10.12 Испытания элементов конструкции кабеля с продольно наложенной металлической лентой или фольгой, обладающей адгезией к наружной оболочке
Образец длиной 1 м отбирают от кабеля и подвергают испытаниям в соответствии с приложением D.
10.13 Проверка кабеля
Проводят внешний осмотр образца кабеля (длиной более одного шага проволочной брони) для подтверждения соответствия конструкции кабеля установленным требованиям, а также отсутствия возможных повреждений, полученных при изготовлении.
11 Периодические испытания арматуры
11.1 Заводские муфты
11.1.1 Общие положения
Для кабельных систем переменного тока на каждой строительной длине и каждой заводской муфте проводят приемо-сдаточные испытания в соответствии с 9.2—9.4. Так как при проведении приемосдаточных испытаний проверяют качество целой кабельной системы, то периодические испытания, указанные в 11.1.2—11.1.6, проводят на одной заводской муфте, только на изолированной жиле, до начала изготовления любой муфты. Аналогичную процедуру применяют в процессе производства муфты для испытуемого образца и муфт для готового кабеля.
Если предполагается использование кабеля с токопроводящими жилами разного сечения, то испытывают одну муфту для жилы каждого сечения. По соглашению между изготовителем и заказчиком число испытаний может быть уменьшено.
Для проведения испытаний должны быть подготовлены образец кабеля длиной не менее Юми заводская муфта.
Если на заводской муфте по условиям контракта проводят типовые испытания, то периодические испытания допускается не проводить.
11.1.2 Измерение частичных разрядов и испытание напряжением переменного тока
После восстановления полупроводящего экрана по изоляции и металлического экрана, а также наружной оболочки изолирующей жилы (при наличии) измерение частичных разрядов и испытание напряжением переменного тока проводят по 9.2.1 и 9.2.2. В соответствии с МЭК 60885-3 чувствительность должна быть не более 5 пК.
11.1.3 Испытание напряжением грозового импульса
Испытание напряжением грозового импульса проводят по 12.5.6.
11.1.4 Испытание на тепловую деформацию изоляции
Испытание на тепловую деформацию изоляции проводят в соответствии с 10.10.
11.1.5 Испытание на прочность при растяжении
Испытание на прочность при растяжении соединения токопроводящих жил проводят в соответствии с техническими требованиями изготовителя. Значение усилия, прикладываемого к токопроводящей жиле при растяжении, должно быть не менее значения установленного изготовителем кабеля. Испытание допускается проводить с использованием отдельного образца токопроводящей жилы.
11.1.6 Проверка муфты
При внешнем осмотре без применения увеличительных приборов разобранной муфты не должно быть обнаружено следов повреждений (например, электрических разрушений или усадки), которые могли бы привести к ухудшению характеристик муфты при эксплуатации.
11.1.7 Критерий приемки
Если заводская муфта не выдержала испытание по одному из вышеуказанных испытаний, то при проведении повторных испытаний два новых образца муфты того же типа должны успешно выдержать все вышеуказанные испытания.
14
ГОСТ Р МЭК 63026—2025
11.2 Периодические испытания ремонтных (полевых) и концевых муфт
11.2.1 Испытания элементов конструкции арматуры
Характеристики каждого элемента конструкции арматуры проверяют на соответствие техническим требованиям изготовителя или подтверждают протоколами испытаний, проведенными поставщиком или изготовителем конкретного элемента конструкции.
Изготовитель конкретной арматуры предоставляет перечень испытаний, проводимых на каждом элементе конструкции, с указанием периодичности проведения каждого испытания.
Элементы конструкции арматуры сравниваются с их чертежами. Допускаются различия в пределах установленных допустимых отклонений.
Примечание — Так как элементы конструкции арматуры от разных поставщиков различаются, то в настоящем стандарте невозможно установить общие периодические испытания.
11.2.2 Испытания арматуры
Если на основной изоляции арматуры затруднительно провести приемо-сдаточные испытания в соответствии с 9.1, то изготовитель должен провести следующие электрические испытания на полностью собранной арматуре, включая наружный металлический экран (слои, лежащие поверх металлического экрана, например, броню, допускается не подвергать испытаниям):
а) измерение частичных разрядов по 9.2.1;
Ь) испытание напряжением переменного тока по 9.2.2.
Последовательность проведения испытаний устанавливает изготовитель.
Примечание — Примерами основной изоляции, на которой не проводят приемо-сдаточные испытания, являются термоусаживаемая изоляция и изоляция, намотанная из лент и/или опрессованная на месте монтажа.
Испытания проводят на одном образце арматуры каждого типа, указанного в контракте.
Если образец арматуры не выдержал испытание по одному из двух вышеуказанных испытаний, то отбирают два новых образца арматуры того же типа, поставляемой по контракту, и проводят повторные испытания. Если результаты испытаний на этих двух дополнительных образцах будут удовлетворительными, то остальную арматуру этого же типа, указанную в контракте, считают соответствующей требованиям настоящего стандарта. Если на арматуре одного из типов имеются дефекты, то арматуру этого типа считают несоответствующей требованиям настоящего стандарта.
12 Типовые испытания кабельных систем
12.1 Общие положения
Методы испытаний, установленные в настоящем разделе, предназначены для подтверждения соответствия эксплуатационных характеристик кабельных систем.
В случае прерывания или отклонения параметров испытания во время цикла нагрева при проведении испытания напряжением или испытания импульсным напряжением, повторяют цикл нагрева или приложение импульса (импульсов) напряжения.
Если при одновременном испытании нескольких образцов у одного их них происходит пробой изоляции, то дефектный объект удаляют, а пробой считают прерыванием цикла. Дефектный образец считают не прошедшим испытание и его подвергают повторному испытанию. Любой дефект в пределах 0,5 м от арматуры считают связанным только с этой арматурой, как указано на рисунке 1.
15
ГОСТ Р МЭК 63026—2025
Размеры в метрах
Пределы зоны сварки/соединения в металлическом экране


Рисунок 1 — Пример предела распространения арматуры для заводской соединительной муфты
Примечание — Методы испытаний изоляторов концевых муфт на воздействие факторов окружающей среды в настоящем стандарте не установлены.
12.2 Типовые испытания на подтверждение соответствия
В отличие от типового испытания наземных кабельных систем в соответствии с МЭК 60502-2 или МЭК 60840, в которые включены электрические и неэлектрические испытания, типовые испытания кабельной системы по настоящему стандарту включают более расширенную программу типовых механических испытаний перед проведением электрических испытаний. Кабельная система может состоять из подводного(ых) кабеля(ей), концевой(ых) муфты (муфт) и соединительных муфт разных типов. Кабельную систему [кабель(и) и соединительная(ые) муфта(ы)] подвергают механическим испытаниям с учетом наибольших прогнозируемых механических нагрузок при монтаже, прокладке и ремонте кабеля.
Если типовые испытания проведены успешно на одной или нескольких кабельных системах определенного сечения и определенного номинального напряжения и конструкции, то процедуру подтверждения соответствия распространяют на кабельные системы с другими сечениями, номинальным напряжением и конструкцией в соответствии с настоящим стандартом при условии выполнения требований по перечислениям а)—к):
а) группа напряжения должна быть не выше группы напряжения испытанной(ых) кабельной(ых) системы (систем).
Примечание 1 — В данном случае кабельные системы одной группы номинального напряжения — это системы с одинаковыми значениями номинального напряжения Um, значениями наибольшего напряжения для оборудования и уровнями испытательного напряжения (см. графы 1 и 2 таблицы 4);
Ь) значение сечения токопроводящей жилы не должно превышать значения сечения жил испытанного кабеля;
с) кабель и арматура должны иметь такую же конструкцию или конструкцию, аналогичную конструкции испытанной(ых) кабельной(ых) системы (систем).
Примечание 2 — Кабели и арматуру, относящиеся к одному типу и имеющие одинаковый процесс наложения изоляции и электропроводящих экранов, считают обладающими одинаковой конструкцией. При наличии различий материала защитных покрытий, наложенных на экран по изоляции жилы, или по основной изоляции арматуры, типовые электрические испытания не повторяют при условии, что эти различия не могут оказать значительного воздействия на результаты испытаний. В отдельных случаях может потребоваться повторение одного или нескольких этапов типовых испытаний (например, механических испытаний, испытаний циклами нагрева и/или на совместимость);
d) расчетные значения напряженности электрического поля при номинальном и импульсном напряжении на экране по жиле, вычисленные с использованием номинальных размеров, не должны пре-16
ГОСТ Р МЭК 63026—2025
вышать соответствующие расчетные значения напряженности электрического поля испытанной(ых) кабельной(ых) системы (систем) более чем на 10 %;
е) расчетные значения напряженности электрического поля при номинальном и импульсном напряжении на экране по изоляции, вычисленные с использованием номинальных размеров, не должны превышать соответствующие расчетные значения напряженности электрического поля испытанной(ых) кабельной(ых) системы (систем);
f) расчетные значения напряженности электрического поля при номинальном и импульсном напряжении на частях основной изоляции арматуры и на поверхности соприкосновения изоляции кабеля и арматуры, вычисленные с использованием номинальных размеров, не должны превышать соответствующие расчетные значения напряженности электрического поля испытанной(ых) кабельной(ых) системы (систем);
д) конструкция кабеля должна быть одинаковой или схожей, например, проволочная броня из одной или двух проволок, материал брони и направление наложения;
h) кабельная система подвергается такому же или менее сильному механическому напряжению (растяжению, изгибу, давлению воды, и т. д.), что и испытанная кабельная система;
i) конструкция и способ обеспечения водонепроницаемости токопроводящей жилы и/или экрана/ оболочки не должны изменяться. Результаты типовых испытаний, проводимых на кабелях с продольной водонепроницаемостью, действительны только для кабелей, обладающих продольной водонепроницаемостью;
j) конструкция и способ сборки (или изготовления) заводских и ремонтных (полевых) муфт не должны изменяться;
к) расчетные значения напряженности электрического поля при номинальном и импульсном напряжении на экране по жиле в гибкой муфте (заводской муфте), вычисленные с использованием номинальных размеров, не должны превышать соответствующие расчетные значения напряженности электрического поля испытанной(ых) кабельной(ых) системы (систем) более чем на 10 %.
Неэлектрические типовые испытания элементов конструкции кабеля по 12.7 не проводят на образцах кабеля с различными номинальными напряжениями и/или сечениями жилы, если для их изготовления не применены различные материалы и/или разные технологические процессы. При необходимости, по согласованию между изготовителем и заказчиком, проводят повторное испытание на старение кабеля для определения совместимости материалов по 12.7.5, если сочетание материалов, наложенных по экранированной изолированной жиле, отличается от сочетания материалов кабеля, на котором ранее были проведены типовые испытания.
Испытание, на результаты которого влияет изменение конструкции кабельной системы (например, испытание на водонепроницаемость), следует провести повторно.
Гибкую муфту приблизительно одинакового диаметра с кабелем готовят к испытанию и испытывают аналогично кабелю в части электрических и механических параметров.
При проведении типовых испытаний кабелей на напряжение до 72,5 кВ рекомендуется испытывать кабель с установленной арматурой.
Примечание 3 — В настоящем стандарте не установлены методы испытаний по определению воздействия воды на характеристики изоляции.
Доказательной базой проведения типовых испытаний являются свидетельство или протокол по результатам проведения типовых испытаний, подписанные представителем компетентного контрольного органа, или протокол, составленный изготовителем, в котором представлены результаты испытаний, и подписанный ответственным лицом, или протокол типовых испытаний, выданный независимой испытательной лабораторией.
12.3 Требования к типовым испытаниям
В типовые испытания должны быть включены механические испытания, электрические испытания и испытание на продольную/радиальную водонепроницаемость по 12.4—12.6 и соответствующие неэлектрические испытания элементов конструкции кабеля и кабеля по 12.7.
Информация о неэлектрических испытаниях элементов конструкции кабеля и наружной оболочки для материала изоляции каждого типа приведена в таблице 5.
Требования к минимальной длине испытуемого образца кабеля и расстояния между заводскими муфтами для проведения механических испытаний приведены в 12.4.
17
ГОСТ Р МЭК 63026—2025
Испытания по 12.5.2 проводят на одном или нескольких образцах кабеля в зависимости от числа установленных муфт. Длина образца без арматуры — не менее 10 м. Образец отбирают от кабеля, на котором было проведено механическое испытание по 12.4 и который включает заводскую(ие) муфту(ы) и гибкую(ие) ремонтную(ые) муфту(ы) (при наличии). Длина кабеля между смонтированной арматурой должна быть не менее 5 м (исключая 0,5 м арматуры).
Испытывают один образец арматуры каждого типа.
Каждую длину кабеля и муфту, являющихся частями сборки, на которой проводят электрические типовые испытания (за исключением определения удельного электрического сопротивления полупроводящих экранов) и испытание на продольную/радиальную водонепроницаемость (LWP, RWP), подвергают механическим испытаниям в соответствии с 12.4 перед проведением электрических типовых испытаний. Арматура, концевые муфты и жесткие ремонтные (полевые) муфты устанавливают после проведения механического испытания на каждой длине кабеля, являющейся частью петли.
Кабель должен иметь U-образную форму в соответствии с диаметром, указанным в 12.4.2, или диаметр изгиба, установленный изготовителем. Выбирают меньшее значение.
Сборку кабеля и арматуры осуществляют способом, установленным в инструкциях изготовителя, с указанием типа и количества материалов, включая смазочные вещества (при их наличии).
Кабель и арматуру не допускается кондиционировать способом, который не установлен в инструкциях изготовителя и который может привести к изменению электрических, температурных или механических характеристик.
Измерение удельного электрического сопротивления полупроводящих экранов проводят по 12.5.8 на отдельном образце.
12.4 Механические испытания
12.4.1 Испытания укладкой кабеля в бухту
12.4.1.1 Назначение/применимость испытания
Данное испытание проводят только на кабелях, которые укладывают в бухту во время изготовления, хранения, транспортирования или прокладки и не проводят на кабелях, которые наматывают на барабаны или поворотные столы. Во время укладки в бухту кабель подвергают скручиванию, поэтому требуется проверять его конструкцию после испытания укладкой в бухту.
12.4.1.2 Подготовка/условия
Испытание укладкой кабеля в бухту проводят на кабеле соответствующей длины. Укладывают не менее шести полных витков, в случае использования двух соединительных муфт — не менее восьми витков, при этом между соединительными муфтами должно быть не менее двух витков.
Типовое устройство для проведения испытания укладкой кабеля в бухту показано на рисунке 2.

Рисунок 2 — Типовое устройство для проведения испытания укладкой кабеля в бухту
18
ГОСТ Р МЭК 63026—2025
Кабель должен включать не менее одной заводской соединительной муфты и гибкой ремонтной (полевой) соединительной муфты (если требуется). Число соединительных муфт и расстояния между ними определяют в соответствии со следующими принципами.
Для одножильного кабеля не менее двух полных витков бухты должны быть расположены между концом соединительной муфты и ближайшим концом испытуемой длины кабеля. Если две и более соединительные муфты включены в состав длины кабеля, то расстояние между концами особых частей или концов других соединительных муфт должно быть не менее двух полных витков бухты.
Для трехжильного кабеля: число фазовых соединительных муфт в составе испытуемого кабеля зависит от конструкции кабеля. Наружный диаметр слоя (слоев) брони, как правило, возрастает поверх фазовых соединительных муфт вследствие большего наружного диаметра соединительной муфты в сравнении с изолированной жилой без соединительной муфты. Данную секцию кабеля с увеличенным наружным диаметром брони считают частью, имеющей механическую особенность (см. рисунок 3).
Две части, имеющие механическую особенность, считают механически независимыми если расстояние между ними составляет не менее одного шага скрутки наружного слоя брони [см. рисунок За)]. Две механически независимые секции не будут оказывать взаимного воздействия во время укладки кабеля в бухту.
Если все части поставочного кабеля, имеющие механическую особенность, достаточно разделены для того, чтобы обеспечивалась их механическая независимость, то число фазовых соединительных муфт в испытуемом кабеле и расстояние между фазовыми соединительными муфтами можно определить в соответствии с принципом для одножильных кабелей.
Если несколько (как правило, три) фазовых соединительных муфты смонтированы на одной непрерывной части, имеющей механическую особенность, или если расстояние между двумя частями, имеющими механическую особенность, менее одного шага скрутки наружного слоя брони, то фазовые соединительные муфты считают механически зависимыми (см. рисунок ЗЬ). В этом случае, число фазовых соединительных муфт в составе испытуемого кабеля должно быть не менее числа механически независимых фазовых соединительных муфт в составе поставочного кабеля. Расстояние между фазовыми муфтами должно быть репрезентативным (типовым) для минимального расстояния между фазовыми муфтами в составе поставочного кабеля. Например, если три фазовые муфты смонтированы на одной непрерывной части, имеющей механическую особенность, в составе поставочного кабеля, то не менее трех фазовых муфт должно быть смонтировано в составе испытуемого кабеля.
Не менее двух витков кабеля (которые могут включать муфты) укладывают в бухту с минимальным установленным диаметром.
Примечание — Два витка кабеля с минимальным диаметром бухты допускается накладывать один поверх другого.
Не менее двух полных витков бухты кабеля должны быть расположены между концом части, имеющей механическую особенность, и ближайшим концом длины испытуемого кабеля. Если две или более частей, имеющих механическую особенность, смонтированы в длину испытуемого кабеля, то расстояние между концами особых частей или концами других муфт должно составлять не менее двух полных витков бухты кабеля.
19
ГОСТ Р МЭК 63026—2025


1 — соединительная муфта в средней секции; 2 — соединительные муфты; 3 — броня; 4 — фазовая(ые) муфта(ы);
5 — фазовая муфта или часть кабеля, имеющая механическую особенность; А — не менее шести полных витков;
В — не менее двух полных витков; С — не менее одного шага скрутки брони;
D — часть кабеля, имеющая механическую особенность
Рисунок 3 — Длина кабеля для испытания укладкой кабеля в бухту
[рисунки а) и Ь) относятся к трехжильным кабелям, с) и d) — к одножильным кабелям]
Изготовитель устанавливает минимальный диаметр и направление укладки кабеля в бухту при выполнении любой операции по укладке кабеля в бухту. Испытание проводят в соответствии с установленным диаметром и направлением. Действительный диаметр [равный двойному значению радиуса, измеренного от центра бухты до ближайшей поверхности муфты (муфт)] и положение каждой муфты регистрируют. По результатам испытания определяют пригодность муфт для использования при укладке кабеля в бухту с учетом возможности достижения установленного минимального диаметра бухты.
В процессе укладки кабеля в бухту соединительная муфта должна быть расположена в направлении минимального радиуса бухты.
До начала процесса укладки кабеля в бухту на кабеле должна быть отмечена линия, параллельная оси кабеля, для проверки однородности скручивания кабеля во время укладки.
Высота расположения натяжного ролика (h на рисунке 2) над верхним витком бухты кабеля не должна превышать установленного значения во время процесса укладки.
Если в состав кабеля входит(ят) волоконно-оптический(ие) кабель(и) с заводскими муфтами, то не менее одной заводской муфты волоконно-оптического кабеля подвергают испытанию укладкой кабеля в бухту.
12.4.1.3 Проведение испытания
При фиксации обоих концов или с одним дополнительным витком в начале и в конце испытания во избежание вращения кабель укладывают в бухту с минимальным диаметром (dmin на рисунке 2), установленным изготовителем.
После укладки в бухту кабель должен быть перемотан в исходное состояние в складском помещении. Данный цикл повторяют несколько раз, не менее чем число операций по укладке кабеля в бухту при изготовлении, хранении, транспортировании и прокладке.
Во время укладки в бухту скручивание кабеля должно быть равномерным и его контролируют по заранее нанесенной на кабель маркерной линии.
12.4.1.4 Внешний осмотр
После проведения испытания по укладке в бухту испытуемый кабель и все муфты проверяют внешним осмотром на наличие деформации наружного слоя. Полный внешний осмотр проводят после завершения механических и электрических испытаний (см. 12.5.7).
20
ГОСТ Р МЭК 63026—2025
12.4.2 Испытание на изгиб и растяжение
12.4.2.1 Назначение/применимость испытания
Испытание проводят с целью определения степени воздействия сил, прикладываемых к кабелю при прокладке и извлечении в обычных условиях. Испытание на изгиб и растяжение проводят на кабелях, предназначенных для прокладки, извлечения и ремонта методом, при котором происходит изгиб кабеля при его натяжении, например на монтажных роликах, в желобах для прокладки или на роликах лебедки.
Жесткая муфта также может быть частью испытуемой длины кабеля. В этом случае жесткая муфта не должна наворачиваться на вращающийся барабан и только кабель с одной стороны жесткой муфты будет подвержен испытанию на изгиб и растяжение. Эта часть испытуемой длины должна быть достаточной большой, чтобы выполнялись требования испытания на изгиб и растяжение для всего кабеля (см. 12.4.3).
12.4.2.2 Подготовка к испытанию/условия испытания
Заводские и гибкие ремонтные (полевые) муфты должны входить в состав испытуемого образца, если они являются частью кабельной системы. Если кабель подвергался испытанию укладкой кабеля в бухту по 12.4.1, то испытание на изгиб и растяжение проводят на образце, отобранном от этой испытуемой длины кабеля. Если кабель имеет заземляющие соединения между металлической оболочкой и броней, то испытуемый образец также должен иметь в своем составе одно из таких соединений.
Длина образца должна быть не менее 30 м. Образец должен быть намотан на барабан радиусом не более наименьшего радиуса ролика разматывающего устройства, кабестана или желоба, установленных на судне, используемого для прокладки кабеля. Длина испытуемого образца, находящегося в контакте с испытательным барабаном, должна быть не менее половины длины окружности испытательного барабана.
Для механических испытаний все токопроводящие жилы и броня должны быть соединены вместе на обоих концах испытуемого образца с использованием якорной (фиксирующей) муфты, которая исключает их продольное перемещение и относительное вращение внутри якорной муфты. Кабельные головки монтируют таким образом, чтобы результирующие силы, воздействующие на разные элементы конструкции кабеля, расположенные далеко от концов кабеля, были эквивалентны распределению сил во время прокладки кабеля. С этой целью, например, используют разные якорные муфты для брони и изолированной(ых) жилы (жил) испытуемого образца. В этом случае можно управлять разделением относительной нагрузки с использованием винтового или аналогичного устройства (см. рисунок 4). Перед проведением испытания к образцу прикладывают незначительную растягивающую нагрузку, при этом регулируют зафиксированное положение изолированной жилы относительно зафиксированного положения брони с целью передачи нагрузки на изолированную(ые) жилу(ы).


1 — испытуемый кабель; 2 — якорная (фиксирующая) муфта брони; 3 — якорная (фиксирующая) муфта токопроводящей(их) жилы (жил); 4 — винт для регулировки усилия, прикладываемого к токопроводящей жиле; 5 — растягивающее усилие
Рисунок 4 — Пример использования якорной муфты при регулировке распределения относительной нагрузки между токопроводящей жилой и броней
Одна кабельная головка должна свободно вращаться, а другая — быть зафиксирована. Расстояние от конца кабеля до гибкой муфты должно быть не менее 10 м или равным пятикратному значению шага скрутки наружного слоя брони (выбирают большее значение).
Если в состав кабеля входит(ят) волоконно-оптический(е) кабель(и), то не менее одной заводской муфты волоконно-оптического кабеля подвергают испытанию на изгиб и растяжение.
21
ГОСТ Р МЭК 63026—2025
Испытательное усилие растяжения Т устанавливают на основе максимального прогнозируемого значения усилия растяжения во время прокладки или восстановления. Метод расчета Т установлен в приложении G.
12.4.2.3 Проведение испытания
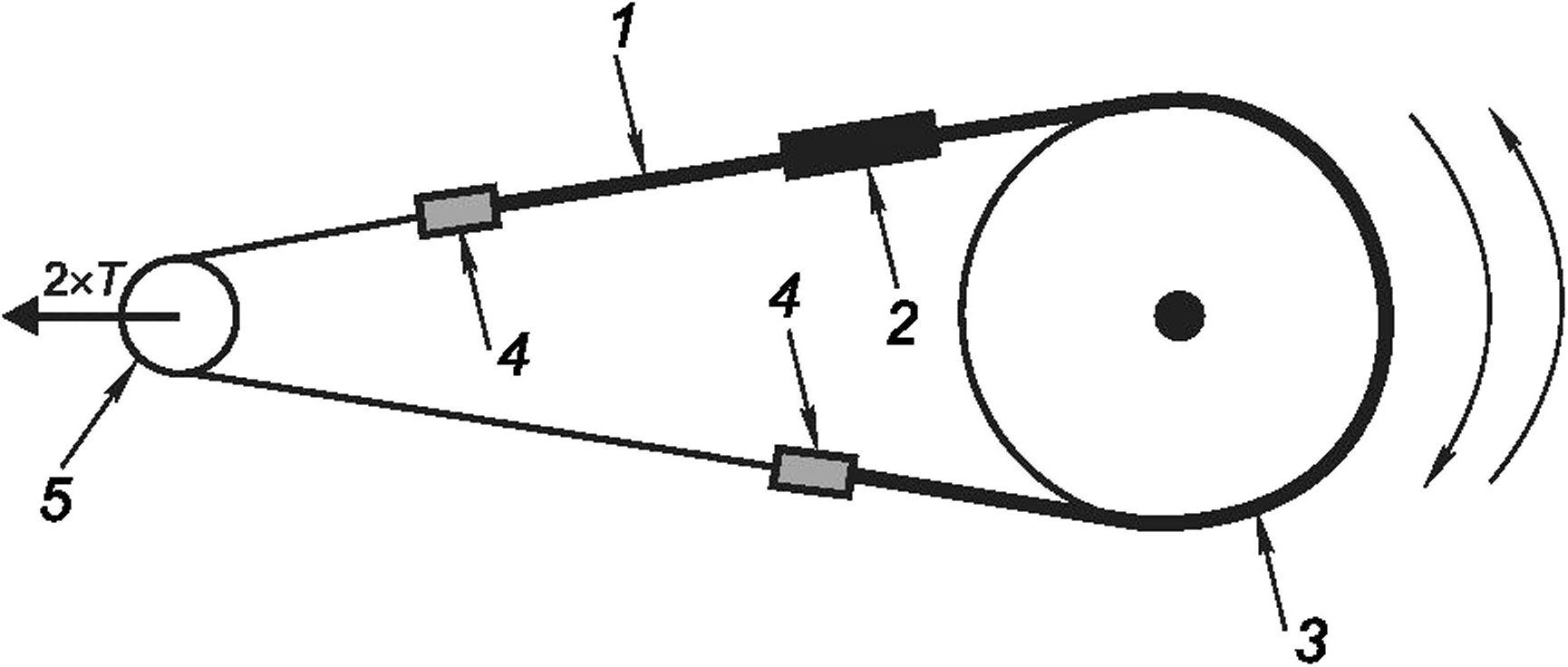
Усилие растяжения в кабеле доводят до расчетного значения Т. Используя соответствующее оборудование, образец кабеля, включая муфты (при их наличии), наматывают и разматывают на барабан последовательно три раза без изменения направления изгиба. При проведении испытания контролируют, чтобы весь кабель, используемый для последующих испытаний, подвергался изгибу три раза. Кабель, находящийся на барабане в начале испытания или остающийся на барабане в конце испытания, не рассматривают как кабель полностью прошедший испытание. На рисунке 5 показан пример испытательного устройства.

1 — испытуемый кабель; 2 — соединительная муфта; 3— вращающийся барабан; 4 — кабельные головки;
5 — направляющий ролик
Рисунок 5 — Пример устройства для проведения испытания на изгиб и растяжение с гибкой или заводской соединительной муфтой
Если в состав испытуемого образца входят оптические волокна, то целостность всех оптических волокон проверяют испытанием на целостность цепи.
12.4.3 Испытание на растяжение
12.4.3.1 Назначение/применимость испытания
Испытание проводят с целью проверки характеристик кабеля и муфт при воздействии осевого усилия растяжения без изгиба. Испытание на растяжение проводят, если жесткая муфта входит в состав кабельной системы. Проведение отдельного испытания на растяжение не требуется, если на жесткой муфте проводят испытание на изгиб и растяжение, оборачивая ее вокруг ролика.
Успешное проведение данного испытания подтверждает способность жесткой муфты выдерживать испытательное усилие растяжения Т, используемое в испытании на изгиб и растяжение.
12.4.3.2 Подготовка к испытанию/условия испытания
Длина кабеля должна не менее чем в пять раз превышать шаг скрутки наружного слоя брони. Если было проведено испытание на изгиб и растяжение, то данное испытание можно проводить на образце, отобранном от кабеля, который был испытан в соответствии с 12.4.2.
Расстояние от конца кабеля до любой муфты должно быть не менее 10 м или равным пятикратному значению шага скрутки наружного слоя брони (выбирают большее значение). Кабельные головки монтируют таким образом, чтобы результирующие силы, воздействующие на разные элементы конструкции кабеля, расположенные далеко от концов кабеля, были эквивалентны распределению сил во время прокладки кабеля в соответствии с 12.4.2.2.
Одна кабельная головка должна свободно вращаться, а другая — быть зафиксирована.
Если кабель имеет заземляющие соединения между металлической оболочкой и броней, то в состав испытуемого кабеля также должно входить одно из таких соединений.
Если в состав кабеля входят волоконно-оптические кабели, то не менее одной заводской муфты волоконно-оптического кабеля подвергают испытанию на растяжение, если волоконно-оптический кабель содержит заводские сростки.
22
ГОСТ Р МЭК 63026—2025
12.4.3.3 Проведение испытания
Усилие растяжения в кабеле постепенно увеличивают до установленного значения Т. Нагрузку прикладывают в течение не менее 30 мин.
Во время проведения испытания приложенную нагрузку непрерывно контролируют.
Если в состав испытуемого образца входят оптические волокна, то целостность всех оптических волокон проверяют испытанием на целостность цепи.
12.5 Типовые электрические испытания кабельных систем
12.5.1 Значения испытательного напряжения
Перед проведением типовых электрических испытаний измеряют толщину изоляции в соответствии с МЭК 60811-201 на репрезентативном (типовом) отрезке кабеля длиной, необходимой для испытаний, с целью подтверждения того, что среднее значение толщины изоляции не превышает номинальное значение.
Если средняя толщина изоляции не превышает номинальное значение более чем на 5 %, то значение испытательного напряжения должно быть равно значению, приведенному в таблице 4 для номинального напряжения кабеля.
Если средняя толщина изоляции превышает номинальное значение более чем на 5 %, не выходя за пределы 15 %, то испытательное напряжение должно быть скорректировано таким образом, чтобы напряженность электрического поля на экране по жиле была равна напряженности электрического поля, которая была бы получена при средней толщине изоляции, равной номинальному значению, и испытательное напряжение имело бы стандартное значение, нормированное для номинального напряжения кабеля.
Средняя толщина изоляции отрезка кабеля, используемого для типовых электрических испытаний, не должна превышать номинальное значение более чем на 15 %.
12.5.2 Типовые электрические испытания и последовательность испытаний
Образцы для типового электрического испытания отбирают от кабеля или кабельной системы, на которой предварительно были проведены испытания на изгиб и растяжение и, при необходимости, испытания на укладку кабеля в бухту в соответствии с 12.4. Если требуется, то на образце, в состав которого входит жесткая муфта, перед типовым электрическим испытанием проводят испытание на растяжение.
Для трехжильных кабелей каждое испытание или измерение проводят на всех изолированных жилах.
На образце проводят следующие электрические испытания:
Примечание — В состав образца могут входить заводская муфта, ремонтная (полевая) муфта, асси-метричная муфта, концевые муфты, и т. д., в зависимости от области применения требуемых типовых испытаний.
а) измерение частичных разрядов при температуре окружающей среды по 12.5.3;
Ь) измерение тангенса угла диэлектрических потерь по 12.5.4.
Данное испытание допускается проводить на другом образце кабеля, оснащенного концевыми муфтами, которые могут отличаться от концевых муфт, используемых для остальных испытаний;
с) испытание напряжением с циклами нагрева по 12.5.5;
d) измерение частичных разрядов по 12.5.3:
- при температуре окружающей среды,
- при высокой температуре.
Измерения проводят после последнего цикла нагрева по перечислению с) или после испытаний по перечислению е);
е) испытание грозовым импульсным напряжением с последующим испытанием напряжением переменного тока промышленной частоты по 12.5.6;
f) измерение частичных разрядов, если оно не было проведено по перечислению d) (см.12.5.3);
д) внешний осмотр кабельной системы, состоящей из кабеля и арматуры, после выполнения комплекса вышеприведенных испытаний;
h) измерение удельного электрического сопротивления электропроводящих полимерных экранов на отельном образце.
Значения испытательных напряжений должны соответствовать значениям, приведенным в таблице 4.
23
ГОСТ Р МЭК 63026—2025
В приложении А приведены методы нагрева испытуемого кабеля и определения температуры токопроводящей жилы.
12.5.3 Измерение частичных разрядов при температуре окружающей среды
Испытания проводят в соответствии с МЭК 60885-3 со значением чувствительности не менее 5 пКл. Испытательное напряжение постепенно повышают и поддерживают на уровне 2U0 в течение 10 с, затем медленно снижают до 1J3UQ (см. графу 5 таблицы 4).
Испытание проводят на сборке при температуре жилы кабеля на 5 °C — 10 °C выше максимальной температуры нагрева жилы кабеля при нормальных условиях эксплуатации. Температуру жилы кабеля следует удерживать в указанных пределах температур не менее 2 ч.
Испытуемую сборку нагревают пропусканием тока по жиле кабеля до достижения кабелем требуемой температуры.
Если температура испытания не может быть достигнута, то допускается наложение дополнительной термоизоляции на кабель.
При значении испытательного напряжения, равном 1,73L/0, от испытуемого образца не должно быть обнаружено разрядов, превышающих заявленную чувствительность.
12.5.4 Измерение тангенса угла диэлектрических потерь
Нагрев образца следует проводить пропусканием тока по жиле. Температуру на жиле определяют измерением электрического сопротивления или термодатчиками, установленными на поверхности экрана или оболочки, либо термодатчиками, установленными на жиле другого образца того же кабеля, нагретого этим же способом.
Образец нагревают таким образом, чтобы температура жилы была на 5 °C—10 °C выше максимальной температуры нагрева жилы при нормальных условиях эксплуатации, указанной в таблице 2.
Если температура испытания не может быть достигнута, то допускается наложение дополнительной термоизоляции на кабель.
Значение tg 8 измеряют при напряжении Uo промышленной частоты и вышеуказанной температуре (см. графу 6 таблицы 4).
Измеренное значение tg 8 должно быть не более значения, указанного в таблице 3.
12.5.5 Испытание напряжением с циклами нагрева
Кабель должен быть изогнут в виде буквы U диаметром, указанным в 12.4.2.2, или иметь диаметр изгиба, установленный изготовителем (выбирают меньшее значение).
Нагрев испытуемой сборки проводят пропусканием тока по жиле таким образом, чтобы температура жилы была на 5 °C — 10 °C выше максимальной температуры нагрева жилы при нормальных условиях эксплуатации, указанной в таблице 2.
Для трехжильных кабелей ток нагрева должен проходить по всем изолированным жилам.
Если температура испытания не может быть достигнута, то допускается наложение дополнительной термоизоляции на кабель.
Нагрев проводят не менее 8 ч. Температуру жилы поддерживают в указанных пределах температур в течение не менее 2 ч во время каждого периода нагрева. Затем испытуемую сборку оставляют остывать естественным путем не менее 16 ч до достижения температуры жилы 30 °C или значения, не превышающего значения температуры окружающей среды более чем на 10 °C (выбирают большее значение). Регистрируют ток в жиле в течение двух последних часов каждого цикла нагрева.
Проводят 20 циклов нагрева и охлаждения.
В течение всего периода испытания к сборке кабеля должно быть приложено напряжение 2U0 (см. графу 7 таблицы 4).
Допускается прерывание испытаний при условии проведения в общей сложности полных 20 циклов нагрева под напряжением.
Циклы нагрева, при которых температура токопроводящей жилы превышает максимальную температуру токопроводящей жилы при нормальных условиях эксплуатации, указанную в таблице 2, более чем на 10 °C считают удовлетворяющими условиям испытаний.
12.5.6 Испытание грозовым импульсным напряжением с последующим испытанием напряжением переменного тока промышленной частоты
Испытания проводят на сборке кабеля при нагреве пропусканием тока по жиле при температуре жилы на 5 °C — 10 °C выше максимальной температуры нагрева жилы при нормальных условиях эксплуатации, указанной в таблице 2.
Температуру токопроводящей жилы поддерживают в указанных пределах не менее 2 ч.
24
ГОСТ Р МЭК 63026—2025
Если температура испытания не может быть достигнута, то допускается наложение дополнительной термоизоляции на кабель.
Грозовое импульсное напряжение прикладывают в соответствии с процедурой, приведенной в МЭК 60230.
Испытуемая сборка должна выдержать без пробоя или перекрытия 10 положительных и 10 отрицательных импульсов напряжений, приведенных в графе 8 таблицы 4.
После испытаний грозовым импульсным напряжением сборка должна выдержать испытание напряжением промышленной частоты, установленным для проведения приемо-сдаточных испытаний, в течение 15 мин в соответствии с графой 9 таблицы 4. По выбору изготовителя испытание допускается проводить во время охлаждения или при температуре окружающей среды.
Во время испытаний не должно произойти пробоя изоляции или перекрытия.
12.5.7 Внешний осмотр
12.5.7.1 Общие положения
Целью внешнего осмотра является подтверждение того, что проведение механических и электрических испытаний не привело к каким-либо повреждениям кабельной системы.
Образец длиной не менее одного шага скрутки брони, отобранный от центральной части длины испытуемого кабеля и, при необходимости, включающий одну из соединительных муфт или частей, имеющих механическую особенность, подвергают внешнему осмотру. При внешнем осмотре образцов без применения увеличительных приборов не должно быть выявлено ухудшения состояния испытуемой сборки ни по одному из ниже приведенных признаков (перечень признаков не является исчерпывающим):
- разрыв, скрещивание или распушивание проволок брони;
- наличие значительных (опасных) вдавливаний на изолированной(ых) жиле(ах) кабеля, вызывающих вдавливания или трещины в свинцовой оболочке;
- повреждение изоляции;
- повреждение токопроводящей жилы, которое может привести к отклонению рабочих характеристик кабеля от установленных требований.
Особое внимание следует уделить аналогичным элементам в соединительной муфте, включая соединения металлической оболочки.
12.5.7.2 Кабель и арматура
При внешнем осмотре срезов образца кабеля в области U-образного изгиба и, по возможности, разобранной арматуры без применения увеличительных приборов не должно быть обнаружено следов повреждений (например, электрических разрушений, утечки, коррозии или небезопасной усадки), которые могли бы повлиять на эксплуатационные характеристики кабельной системы.
12.5.7.3 Кабели с продольно наложенной металлической лентой или фольгой, обладающие адгезией к наружной оболочке
От строительной длины кабеля отбирают образец длиной не менее 1 м, изгибают в виде буквы U и испытывают по 12.7.10.
12.5.8 Измерение объемного удельного электрического сопротивления полупроводящих экранов
12.5.8.1 Общие положения
Измерение объемного удельного электрического сопротивления полупроводящих экранов кабеля проводят на отдельном образце.
Объемное удельное электрическое сопротивление экструдированных полупроводящих экранов, наложенных на жилу и изоляцию, измеряют на образцах изолированной жилы, отобранных от кабеля в исходном состоянии и кабеля, прошедшего испытание на старение по 12.7.4, предназначенного для проверки совместимости материалов, используемых в конструкции.
12.5.8.2 Проведение испытаний
Испытание проводят в соответствии с приложением С.
Для полупроводящих экранов измерения проводят в нормальных условиях эксплуатации при максимальной температуре нагрева жилы, указанной в таблице 2, с допускаемым отклонением ±2 °C.
12.5.8.3 Требования к результатам испытаний
Объемное удельное электрическое сопротивление, измеренное до и после старения, должно быть не более:
- 1000 Ом ■ м для полупроводящего экрана, наложенного по жиле;
- 500 Ом • м для полупроводящего экрана, наложенного по изоляции.
25
ГОСТ Р МЭК 63026—2025
Примечание — Порядок проведения измерений и требования к удельному электрическому сопротивлению полимерных наружных оболочек находятся в стадии разработки.
12.6 Испытание на продольную/радиальную водонепроницаемость (LWP, RWP)
12.6.1 Общие положения
Испытания кабелей на водонепроницаемость разделены на три испытания:
- LWP а — испытание на продольную водонепроницаемость токопроводящей жилы по 12.6.2;
- LWP b — испытание на продольную водонепроницаемость металлического экрана по 12.6.3;
- RWP — испытание на радиальную водонепроницаемость соединительных муфт по 12.6.4.
Перед испытанием проводят механическое и термальное кондиционирование образцов как указано ниже.
Механическое кондиционирование включает в себя испытания на изгиб и растяжение и, при необходимости, испытание на укладку кабеля в бухту перед испытанием на изгиб и растяжение.
Вода, используемая в испытаниях, должна соответствовать области применения кабельной системы и быть водопроводной (если кабель прокладывают в пресной воде) или соленой (соленостью, соответствующей конкретной области прокладки кабеля) водой. При отсутствии информации об области применения кабеля используют водный раствор с концентрацией NaCI, равной 3,5 %.
Давление воды следует поднимать до уровня испытательного давления как можно быстрее.
Для удобства расчетов определяют следующие параметры:
- dy — установленное максимальное расстояние для LWP в токопроводящей жиле;
- d2 — установленное максимальное расстояние для LWP в металлическом экране.
Расстояние(я) максимального распространения воды устанавливают по соглашению между изготовителем и заказчиком.
12.6.2 Испытание на водонепроницаемость токопроводящей жилы
Испытания проводят только на кабелях, имеющих продольный водонепроницаемый барьер в токопроводящей жиле.
Образец отбирают от кабеля, на котором было проведено механическое испытание по 12.4.
Длина испытуемого образца, включая любые оголенные части жилы, должна быть не менее расстояния (d^ + 1,0) м; при этом длину испытуемого образца внутри испытательной камеры не ограничивают (см. рисунок 6).
На кабеле проводят предварительное кондиционирование, состоящее не менее чем из трех циклов нагрева, подтверждающее, что при нагреве кабель увеличивается в размерах.
Каждый цикл нагрева состоит из не менее 8 ч нагрева с последующим естественным охлаждением в течение не менее 16 ч. Нагрев путем пропускания тока по жиле используют для достижения на жиле температуры на 5 °C — 10 °C выше максимальной температуры жилы при нормальных условиях эксплуатации, указанной в таблице 2. Температуру жилы поддерживают в вышеуказанном диапазоне в течение не менее 2 ч во время каждого цикла нагрева.
После предварительного кондиционирования с кабеля снимают защитный покров и испытание продолжают на изолированной жиле кабеля. Во всех случаях для упрощения испытания можно удалить слои, наложенные на наружный полупроводящий экран.
Испытуемый образец готовят следующим образом. Оголяют оба конца образца токопроводящей жилы длиной (50 ± 10) мм. Испытуемый образец помещают внутрь сосуда под давлением как показано на рисунке 6. По мере того как сила давления воды будет стремиться выдавливать кабель (или его внутренние элементы) из сосуда, применяют соответствующие механические ограничители для предотвращения такого движения.
26
ГОСТ Р МЭК 63026—2025

1 — изоляция; 2 — наружный полупроводящий слой; 3 — оголенная токопроводящая жила длиной (50 ± 10) мм
Рисунок 6 — Устройство для проведения испытания на водонепроницаемость токопроводящей жилы
Испытуемый образец находится под давлением пока погружен в воду с давлением воды, соответствующим заявленной максимальной глубине прокладки кабеля в воде (см. раздел 6). Давление повышают как можно быстрее для моделирования пробоя кабеля в самой глубокой части секции кабеля.
По истечении времени испытания испытуемый образец извлекают из воды. В жиле на отрезке с/1 делают надрез и проверяют наличие в нем воды внешним осмотром конца(ов) или с использованием абсорбирующей бумаги. По результатам проверки не должно быть обнаружено воды.
12.6.3 Испытание на водонепроницаемость металлического экрана
Испытание проводят только на кабелях, у которых изолированная жила (жилы) имеет металлическую оболочку или наружную оболочку и продольный водонепроницаемый барьер в экране.
Длина испытуемого образца, за исключением участков, выступающих за пределы испытательной камеры, должна быть не менее расстояния (d2 + 1,0) м (см. рисунок 7).
На кабеле, от которого отбирают испытуемый образец, проводят предварительное кондиционирование, состоящее не менее чем из трех циклов нагрева. Каждый цикл нагрева состоит из не менее 8 ч нагрева с последующим охлаждением в течение не менее 16 ч. Нагрев путем пропускания тока по жиле используют для достижения на жиле температуры на 5 °C — 10 °C выше максимальной температуры жилы при нормальных условиях эксплуатации, указанной в таблице 2. Температуру жилы поддерживают в вышеуказанном диапазоне в течение не менее 2 ч во время каждого цикла нагрева.
После предварительного кондиционирования с кабеля снимают защитный покров и испытание продолжают на изолированной жиле кабеля.
Примечание — Для испытания трехжильных кабелей изолированную жилу допускается отбирать от того же образца кабеля, который был использован при проведении испытания на водонепроницаемость токопроводящей жилы.
Все слои, являющиеся наружными по отношению к наружному полупроводящему экрану, удаляют на расстоянии не менее 1,0 м от одного конца испытуемого образца, оголяя таким образом наружный полупроводящий экран и делая его доступным для воздействия воды. Испытуемый образец помещают внутрь сосуда под давлением, как показано на рисунке 7. Температуру токопроводящей жилы измеряют внутри сосуда под давлением. Положение датчика температуры выбирают таким образом, чтобы ограничить влияние концевого эффекта.
27
ГОСТ Р МЭК 63026—2025
Размеры в метрах

1 — изоляция; 2 — наружный полупроводящий слой; 3 — металлический экран; 4 — наружная оболочка
Рисунок 7 — Устройство для проведения испытания на водонепроницаемость металлического экрана
Сосуд под давлением наполняют водой при температуре окружающей среды и давлении, соответствующем установленному значению для максимальной глубины прокладки (максимальное давление 3 бар). Испытуемый образец подвергают 10 циклам нагрева под давлением. Испытуемую сборку нагревают пропусканием тока по токопроводящей жиле до достижения жилой кабеля постоянной температуры на 5 °C — 10 °C выше максимальной температуры жилы при нормальных условиях эксплуатации, указанной в таблице 2. Нагрев проводят в течение не менее 8 ч. Температуру жилы поддерживают в установленных пределах в течение не менее 2 ч в каждый период нагрева. За периодом нагрева следует период естественного охлаждения длительностью не менее 16 ч.
По истечении времени испытания испытуемый образец извлекают из воды. Нижнюю сторону наружной оболочки или металлической оболочки, которая соприкасается с продольным водонепроницаемым барьером, оголяют на отрезке с/2 от оголенного конца и проводят проверку на наличие воды внешним осмотром или с использованием абсорбирующей бумаги. По результатам проверки не должно быть обнаружено воды.
12.6.4 Испытание на радиальную водонепроницаемость соединительных муфт
Испытание проводят на заводских, ремонтных и полевых муфтах.
Соединительные муфты подвергают соответствующим механическим испытаниям по 12.4, проводят не менее 10 циклов нагрева. Испытуемую сборку нагревают пропусканием тока по жиле до достижения жилой кабеля постоянной температуры на 5 °C — 10 °C выше максимальной температуры жилы при нормальных условиях эксплуатации, указанной в таблице 2. Нагрев проводят в течение не менее 8 ч. Температуру жилы поддерживают в установленных пределах в течение не менее 2 ч в каждый период нагрева. За периодом нагрева следует период естественного охлаждения длительностью не менее 16 ч.
Испытания проводят на части соединительной муфты, находящейся под давлением, и не обязательно на всем корпусе муфты —для ремонтных (полевых) муфт. Для трехжильных кабелей испытывают не менее одной заводской муфты изолированной жилы.
По завершении циклов нагрева испытуемый образец размещают внутри сосуда под давлением. Герметичные концевые заделки кабеля могут выступать за пределы сосуда, или же кабель может целиком находиться в сосуде при герметизации его концов изолирующими колпачками.
Примечание — Часть муфты, находящаяся под давлением, не включает в свой состав механических устройств, соединенных с муфтой для ограничения изгибания и которые не выполняют функций, относящихся к гидроизоляции.
Испытуемый образец погружают в воду, находящуюся под давлением, соответствующим установленной максимальной глубине прокладки. Испытание проводят в течение 48 ч в воде, имеющей температуру окружающей среды.
28
ГОСТ Р МЭК 63026—2025
По истечении времени испытания давление воды допускается уменьшить до атмосферного давления. Если концы кабеля герметизированы изолирующими колпачками, то концы подготавливают для приложения к ним испытательного напряжения. Испытуемый образец допускается извлекать из воды только на время, достаточное для проведения этой операции. При нахождении образца в воде испытательное постоянное напряжение 25 кВ прикладывают между токопроводящей(ими) жилой (жилами) соединительной муфты и водой. Не должно произойти пробоя изоляции.
Затем испытуемый образец извлекают из воды и проводят внешний осмотр. Испытуемый образец должен соответствовать следующим требованиям:
а) под водоблокирующим барьером соединительной муфты не должно быть воды;
Ь) в металлической оболочке не должно быть обнаружено существенных неровностей. Если металлические экраны состоят из медных проволок, лент, ламинированной фольги или их комбинации, то не должно наблюдаться трещин в металлических элементах.
12.7 Типовые неэлектрические испытания кабеля и элементов конструкции кабеля
12.7.1 Общие положения
Проводят следующие типовые испытания [испытания по перечислениям Ь)—п) проводят на всех изолированных жилах]:
а) проверку конструкции кабеля — по 12.7.2;
Ь) определение механических характеристик изоляции кабеля до и после старения — по 12.7.3;
с) определение механических характеристик наружных оболочек кабеля до и после старения — по 12.7.4;
d) испытание на старение кабеля для проверки совместимости материалов — по 12.7.5;
е) испытание под давлением при высокой температуре наружных оболочек кабеля типа ST7 — по 12.7.6;
f) испытание на озоностойкость изоляции кабеля из ЭПР и ВЭПР — по 12.7.7;
д) испытание на тепловую деформацию изоляции кабеля из ЭПР, ВЭПР и СПЭ — по 12.7.8;
h) определение содержания сажи в наружных оболочках кабеля из ПЭ черного цвета — по 12.7.9;
i) испытание на элементах конструкции кабеля с продольно наложенной металлической лентой или фольгой, обладающей адгезией к наружной оболочке — по 12.7.10 и IEC TR 61901;
j) испытание изоляции кабеля на водопоглощение — по 12.7.11;
к) испытание на усадку изоляции кабеля из СПЭ — по 12.7.12;
I) определение твердости изоляции кабеля из ВЭПР — по 12.7.13;
гл) определение модуля упругости изоляции кабеля из ВЭПР — по 12.7.14.
п) испытание на усадку наружной оболочки кабеля из ПЭ — по 12.7.15.
12.7.2 Проверка конструкции кабеля
Проверку конструкции кабеля осуществляют внешним осмотром жилы и измерением толщин изоляции, наружной и металлической оболочек или экрана и брони по 10.4, 10.6—10.9 и значениям, установленными изготовителем в соответствии с разделом 6.
12.7.3 Определение механических характеристик изоляции кабеля до и после старения
12.7.3.1 Отбор образцов
Отбор и подготовку испытуемых образцов проводят по МЭК 60811-501.
12.7.3.2 Тепловое старение
Тепловое старение проводят по МЭК 60811-401 в условиях, приведенных в таблице 6.
12.7.3.3 Кондиционирование и определение механических характеристик
Кондиционирование и определение механических характеристик проводят по МЭК 60811-501.
12.7.3.4 Требования к результатам испытаний
Результаты испытаний образцов до и после старения должны соответствовать требованиям, указанным в таблице 6.
12.7.4 Определение механических характеристик наружных оболочек кабеля до и после старения
12.7.4.1 Отбор образцов
Отбор и подготовку испытуемых образцов проводят по МЭК 60811-501.
12.7.4.2 Тепловое старение
Тепловое старение образцов проводят по МЭК 60811-401 в условиях, приведенных в таблице 7.
12.7.4.3 Кондиционирование и определение механических характеристик
Кондиционирование и определение механических характеристик проводят по МЭК 60811-501.
29
ГОСТ Р МЭК 63026—2025
12.7.4.4 Требования к результатам испытаний
Результаты испытаний до и после старения образцов должны соответствовать требованиям, указанным в таблице 7.
12.7.5 Испытание на старение кабеля для проверки совместимости материалов
12.7.5.1 Общие положения
Испытание на старение кабеля проводят с целью проверки того, что характеристики изоляции, экструдированных полупроводящих слоев и наружной оболочки не подвержены чрезмерному ухудшению в процессе эксплуатации вследствие контакта с другими элементами конструкции кабеля.
Испытание проводят на кабелях всех типов.
12.7.5.2 Отбор образцов
Отбор образцов кабеля для испытаний изоляции и наружной оболочки — по МЭК 60811-501.
12.7.5.3 Тепловое старение
Тепловое старение испытуемых образцов кабелей проводят в термостате с циркуляцией воздуха по МЭК 60811-401 при следующих условиях:
- температура должна быть на (10 ± 2) °C выше максимальной температуры нагрева жилы кабеля при нормальных условиях эксплуатации, указанной в таблице 6;
- продолжительность испытания — 7 сут.
12.7.5.4 Механические испытания
Образцы изоляции и наружной оболочки, предварительно прошедшие старение, должны быть подготовлены и подвергнуты механическим испытаниям в соответствии с МЭК 60811-501.
12.7.5.5 Требования к результатам испытаний
Отношение разности между медианными значениями прочности при разрыве и относительного удлинения при разрыве после старения и соответствующими значениями, полученными до старения (см. 12.7.3 и 12.7.4), не должны превышать значений, установленных после старения в термостате с циркуляцией воздуха, приведенных в таблице 6 для изоляции и таблице 7 для наружных оболочек.
12.7.6 Испытание под давлением при высокой температуре наружных оболочек кабеля типа ST7
12.7.6.1 Проведение испытания
Испытание под давлением при высокой температуре наружных оболочек кабеля типа ST7 проводят в соответствии с МЭК 60811-508 и условиями проведения испытания, указанными в методе испытания и таблице 7.
12.7.6.2 Требования к результатам испытаний
Результаты испытаний должны соответствовать требованиям, установленным в МЭК 60811-508.
12.7.7 Испытание на озоностойкость изоляции кабеля из этиленпропиленовой резины и высокомодульной этиленпропиленовой резины
12.7.7.1 Проведение испытаний
Порядок отбора образцов и метод испытаний приведены в МЭК 60811-403. Концентрация озона и продолжительность испытаний приведены в таблице 8.
12.7.7.2 Требования к результатам испытаний
Результаты испытаний должны соответствовать требованиям, установленным в МЭК 60811-403.
12.7.8 Испытание на тепловую деформацию изоляции кабеля из сшитого полиэтилена, этиленпропиленовой резины и высокомодульной этиленпропиленовой резины
Изоляция кабеля из ЭПР, ВЭПР и СПЭ должна выдержать испытание на тепловую деформацию по 10.10 и соответствовать установленным требованиям к результатам этого испытания.
12.7.9 Определение содержания сажи в наружных оболочках кабеля из полиэтилена черного цвета
12.7.9.1 Проведение испытаний
Содержание сажи в наружных оболочках кабеля из ПЭ типа ST7 черного цвета определяют по МЭК 60811-605. На полупроводящих наружных оболочках данное испытание не проводят.
12.7.9.2 Требования к результатам испытаний
Номинальное значение содержания сажи должно быть (2,5 ± 0,5) %.
Допускаются более низкие значения содержания сажи для особых областей применения, в которых оболочка не подвержена влиянию ультрафиолетового излучения.
30
ГОСТ Р МЭК 63026—2025
12.7.10 Испытания элементов конструкции кабеля с продольно наложенной металлической лентой или фольгой, обладающих адгезией к наружной оболочке
На образце проводят следующие испытания:
а) внешний осмотр — noD.1;
b) проверку прочности адгезии металлической фольги — по D.2.2;
с) проверку стойкости к отслаиванию металлической фольги, наложенной с перекрытием, — по D.2.3.
Испытательное устройство, порядок проведения испытания и требования к результатам испытания приведены в приложении D.
12.7.11 Испытание изоляции кабеля на водопоглощение
12.7.11.1 Проведение испытаний
Отбор испытуемых образцов и проведение испытаний — по МЭК 60811-402, условия испытаний приведены в таблице 8.
12.7.11.2 Требования к результатам испытаний
Результаты испытания должны соответствовать требованиям, установленным в таблице 8.
12.7.12 Испытание на усадку изоляции кабеля из сшитого полиэтилена
12.7.12.1 Проведение испытаний
Отбор испытуемых образцов и проведение испытаний — по МЭК 60811-502, условия испытаний приведены в таблице 8.
12.7.12.2 Требования к результатам испытаний
Результаты испытаний должны соответствовать требованиям, установленным в таблице 8.
12.7.13 Определение твердости изоляции кабеля из высокомодульной этиленпропиленовой резины
12.7.13.1 Проведение испытаний
Отбор испытуемых образцов и проведение испытаний — по приложению Е.
12.7.13.2 Требования к результатам испытаний
Результаты испытаний должны соответствовать требованиям, установленным в таблице 8.
12.7.14 Определение модуля упругости изоляции кабеля из высокомодульной этиленпропиленовой резины
12.7.14.1 Проведение испытаний
Отбор, подготовку образцов и испытание проводят по МЭК 60811-501.
Измеряют нагрузку при 150 %-ном относительном удлинении. Значение напряженности определяют путем деления значения нагрузки на значение поперечного сечения нерастянутого образца. Значение модуля упругости при 150 %-ном относительном удлинении определяют отношением значения напряженности к значению растяжения.
За значение модуля упругости принимают его медианное значение.
12.7.14.2 Требования к результатам испытаний
Результаты испытания должны соответствовать значениям, установленным в таблице 8.
12.7.15 Испытание на усадку наружной оболочки кабеля из полиэтилена
12.7.15.1 Проведение испытаний
Отбор, подготовку образцов и испытание проводят по МЭК 60811-503, условия испытаний приведены в таблице 7.
12.7.15.2 Требования к результатам испытаний
Результаты испытаний должны соответствовать требованиям, установленным в таблице 7.
13 Электрические испытания после прокладки
13.1 Общие положения
Испытания новых кабельных линий проводят после завершения монтажа кабельной системы.
13.2 Испытание наружной оболочки кабеля напряжением постоянного тока
Уровень испытательного напряжения, продолжительность испытания и условия его проведения установлены в МЭК 60229:2007 (раздел 5). Испытательное напряжение прикладывают между каждым металлическим экраном и землей. Для полупроводящих оболочек испытание не проводят.
31
ГОСТ Р МЭК 63026—2025
13.3 Испытание изоляции кабеля напряжением переменного тока
По согласованию между изготовителем и заказчиком испытание напряжением переменного тока, прикладываемым между каждой токопроводящей жилой и металлическим экраном, по МЭК 60060-3 допускается проводить в следующем порядке:
а) для Um < 36 кВ, в течение 15 мин, значение напряжения — в соответствии с графой 10 таблицы 4, значение частоты в диапазоне от 10 до 500 Гц;
для Um > 36 кВ, в течение 60 мин, значение напряжения — в соответствии с графой 10 таблицы 4, значение частоты в диапазоне от 10 до 500 Гц;
Ь) для Um < 36 кВ, в течение 15 мин, среднеквадратичное номинальное значение напряжения 3U0 при частоте 0,1 Гц;
с) в течение 24 ч при номинальном напряжении системы UQ.
Для испытаний кабельных линий, находящихся в эксплуатации, допускается использовать более низкие значения напряжения и/или меньшие длительности приложения напряжения. Значения устанавливают по согласованию с учетом времени эксплуатации, условий окружающей среды, произошедших аварий и цели проводимого испытания.
13.4 Испытание изоляции кабеля напряжением постоянного тока
При проведении испытания напряжением постоянного тока может произойти повреждение изоляции. По возможности, следует проводить вышеуказанное испытание напряжением переменного тока.
Испытание напряжением постоянного тока не рекомендуется проводить в порядке, указанном в 13.3 (см. приложение Н).
13.5 Рефлектометрия во временной области
Рефлектометрию во временной области (TDR) проводят с целью получения технической информации.
Если оборудование для проведения TDR используют с кабельной линией, то рекомендуется проводить TDR для выявления характерных признаков распространения электромагнитных волн, излучаемых кабелем.
Распространение импульсов, используемых при TDR, зависит от электрического сопротивления, электрической емкости и индуктивности кабеля (см. рисунок 8).

Es и Zs — источник напряжения и волновое сопротивление (устройство TDR);
L и R — индуктивность и электрическое сопротивление элемента токопроводящей жилы кабеля;
С и G — электрическая емкость и электропроводность (диэлектрические потери) элемента изоляции кабеля; ZL — оконечное волновое сопротивление (волновое сопротивление нагрузки)
Рисунок 8 — Принципиальная электрическая схема для проведения TDR (типовая линейная диаграмма передачи, тг-модель)
32
ГОСТ Р МЭК 63026—2025
Таблица 3 — Значения тангенса угла диэлектрических потерь tg 5 изоляционных материалов кабелей
Обозначение изоляционного материала (см. 4.2) | ЭПР/ВЭПР | СПЭ |
Максимальное значение tg 3 | 50 • 10-4 | 10 Ю-4а |
а Для кабелей с изоляцией из СПЭ, содержащего специальные добавки, максимальное значение tg 3 = 50 • 10-4. | ||
Таблица 4 — Испытательные напряжения
Напряжение в киловольтах
Номинальное напряжение и | Максимальное напряжение для оборудования ч. | Значение Uo для определения испытательного напряжения ^0 | Испытание напряжением по 9.2.2 и 9.4.2 | Длительность испытания напряжением, мин | Измерение частичных разрядов по 9.2.1, 9.4.3 и 12.5.3 1,73U0 | Измерение tg 5 по 12.5.4 ^0 | Испытание циклическим нагревом под напряжением по 12.5.5 2^о | Испытание грозовым импульсным напряжением по 12.5.6 | Испытание напряжением по 12.5.6 в течение 15 мин | Испытание напряжением после прокладки по 13.3, перечисление а) |
1 | 2 | 3 | 4а | 5а | 6 а | 7а | 8 а | 9 а | 10ь | |
От 6 до 6,6 | 7,2 | 3,6 | 12,5 | 5 | 6,2 | 3,6 | 7,2 | 60 | 12,5 | 6,2 |
От 10 ДО 11 | 12 | 6 | 21 | 5 | 10,4 | 6 | 12 | 75 | 21 | 10,4 |
От 13,8 ДО 15 | 17,5 | 8,7 | 30,5 | 5 | 15,1 | 8,7 | 17,5 | 95 | 30,5 | 15,1 |
От 20 ДО 22 | 24 | 12 | 42 | 5 | 20,8 | 12 | 24 | 125 | 42 | 20,8 |
От 30 до 33 | 36 | 18 | 63 | 5 | 31,1 | 18 | 36 | 170 | 63 | 31,1 |
От 45 ДО 47 | 52 | 26 | 65 | 30 | 45 | 26 | 52 | 250 | 65 | 52 |
От 60 до 69 | 72,5 | 36 | 90 | 30 | 62,3 | 36 | 72 | 325 | 90 | 72 |
а При необходимости значения испытательных напряжений корректируют в соответствии с 12.5.1. ь При необходимости значения испытательных напряжений корректируют в соответствии с 13.3. | ||||||||||
Таблица 5 — Типовые неэлектрические испытания изоляции и наружных оболочек кабелей
Условное обозначение изоляционного материала (см. 4.2 и 5.6) | Изоляция | Наружная оболочка из ПЭ | ||
ЭПР | ВЭПР | СПЭ | ST7 | |
Проверка конструкции | Применяют независимо от материалов изоляции | |||
Испытание на водонепроницаемость а | и наружной оболочки | |||
Размеры: - измерение толщины | X | X | X | X |
Механические характеристики (прочность при разрыве и относительное удлинение при разрыве): а) до старения | X | X | X | X |
Ь) после старения в термостате | X | X | X | X |
с) после старения кабеля (испытание на совместимость) | X | X | X | X |
Испытание под давлением при высокой температуре | — | — | — | X |
33
ГОСТ Р МЭК 63026—2025
Окончание таблицы 5
Условное обозначение изоляционного материала (см. 4.2 и 5.6) | Изоляция | Наружная оболочка из ПЭ | ||
ЭПР | ВЭПР | СПЭ | ST7 | |
Испытание на озоностойкость Испытание на тепловую деформацию Испытание на водопоглощение Испытание на усадку Определение содержания сажи ь Определение твердости Определение модуля упругости | X X X | X X X X X | X X X | X X |
В настоящей таблице применены следующие обозначения: - знак «х» — обязательное проведение испытания; - знак «—» — испытание не проводят. а Требование распространяется на кабели, в конструкциях которых предусмотрены барьеры, препятствующие продольному проникновению воды LWP a, LWP b и RWP (см. 12.6.1). ь Только для кабелей с наружными оболочками черного цвета (см.12.7.9). | ||||
Таблица 6 — Механические характеристики изоляционных материалов кабелей (до и после старения)
Условное обозначение изоляционного материала (см. 4.2) | Единица измерения | ЭПР | ВЭПР | СПЭ |
Максимальная температура нагрева жилы при нормальных условиях эксплуатации (см. 4.2) | °C | 90 | 90 | 90 |
До старения по МЭК 60811-501: | ||||
- прочность при растяжении, не менее | Н/мм2 | 4,2 | 8,5 | 12,5 |
- относительное удлинение при разрыве, не менее | % | 200 | 200 | 200 |
После старения в термостате по МЭК 60811-401 без токопроводящей жилы: | ||||
условия испытания: | ||||
- температура | °C | 135 | 135 | 135 |
- допуск | °C | ±3 | ±3 | ±3 |
- продолжительность | ч | 168 | 168 | 168 |
прочность при разрыве: | ||||
а) значение после старения, не менее | Н/мм2 | — | — | — |
Ь) отклонение*, не более | % | ±30 | ±30 | ±25 |
относительное удлинение при разрыве: | ||||
а) значение после старения, не менее | % | — | — | — |
Ь) отклонение*, не более | % | ±30 | ±30 | ±25 |
* Отклонение — это разность между медианным значением, полученным после старения, и медианным значением, полученным до старения, выраженная в процентах от последнего. | ||||
Таблица 7 — Механические характеристики материалов наружной оболочки (до и после старения)
Условное обозначение материала (см. 5.6) | Единица измерения | st7 |
До старения по МЭК 60811-501: - прочность при разрыве, не менее - относительное удлинение при разрыве, не менее | Н/мм2 % | 12,5 300 |
34
Окончание таблицы 7
ГОСТ Р МЭК 63026—2025
Условное обозначение материала (см. 5.6) | Единица измерения | st7 |
После старения в термостате по МЭК 60811-401: условия испытания: - температура | °C | 110 |
- допуск | °C | ±2 |
- продолжительность | ч | 240 |
относительное удлинение при разрыве: - значение после старения, не менее | % | 300 |
Испытание на усадку по МЭК 60811-503: условия испытания: - температура (допуск ±2 °C) | °C | 80 |
- продолжительность нагрева | ч | 5 |
- число циклов нагрева | — | 5 |
допустимое значение усадки, не более | % | 3 |
Испытание под давлением при высокой температуре по МЭК 60811-508: условия испытания: - температура | °C | 110 |
- допуск | °C | ±2 |
вдавливание, не более | % | 50 |
Таблица 8 — Характеристики изоляционных материалов кабелей
Условное обозначение материала (см. 4.2) | Единица измерения | ЭПР | ВЭПР | СПЭ |
Испытание на озоностойкость по МЭК 60811-403: - концентрация озона (объемная) | % | 0,025— | 0,025— | _ |
- продолжительность испытания без растрескивания | ч | 0,030 24 | 0,030 24 | — |
Испытание на тепловую деформацию по МЭК 60811-507: условия испытания: - температура воздуха (допуск ±3 °C) | °C | 250 | 250 | 200 |
- растягивающее усилие | Н/см2 | 20 | 20 | 20 |
относительное удлинение под нагрузкой, не более | % | 175 | 175 | 175 |
остаточное относительное удлинение после охлаждения, не более | % | 15 | 15 | 15 |
Испытание на водопоглощение по МЭК 60811-402 гравиметрическим методом: условия испытания: - температура (допуск ±2 °C) | °C | 85 | 85 | 85 |
- продолжительность | ч | 336 | 336 | 336 |
допустимое увеличение массы, не более | мг/см2 | 5 | 5 | 1а |
Испытание на усадку по МЭК 60811-502: условия испытания: - расстояние L между отметками | мм | 200 | ||
- температура (допуск ±3 °C) | °C | — | — | 130 |
- продолжительность | ч | — | — | 1 |
допустимое значение усадки, не более | % | — | — | 4 |
Определение твердости по приложению Е: IRHD ь , не менее | — | 80 | — | |
Определение модуля упругости по 12.7.14: модуль упругости при 150 %-ном относительном удлинении, не менее | Н/мм2 | — | 4,5 | — |
а Допускается увеличение массы более чем на 1 мг/см2 для СПЭ плотностью более 1 г/см3 | ||||
b IRHD — международная единица твердости резины. | ||||
35
ГОСТ Р МЭК 63026—2025
Приложение А (обязательное)
Методы нагрева испытуемого кабеля и определение температуры токопроводящей жилы кабеля
А.1 Общие положения
При проведении некоторых испытаний необходимо повысить температуру токопроводящей жилы до заданного значения, как правило, на 5 °C — 10 °C выше максимально допустимой температуры жилы при нормальных условиях эксплуатации путем приложения к кабелю напряжения промышленной частоты или импульсного напряжения. При этом возможность доступа к токопроводящей жиле для непосредственного измерения ее температуры отсутствует.
Все изолированные жилы одножильных и трехжильных кабелей нагревают путем пропускания тока по токопроводящей жиле с использованием одного из методов, указанных в А.2. Температуру жилы (жил) следует поддерживать в ограниченном диапазоне (+5 °C) в течение установленного времени, при этом температура окружающей среды может изменяться в более широком диапазоне. В связи с этим следует применять методы (для одножильных или трехжильных кабелей), в которых можно постоянно регистрировать и контролировать температуру жилы в течение всего испытания.
А.2 Методы нагрева бронированных кабелей для проведения электрического испытания
А.2.1 Одножильные кабели
Одножильные кабели нагревают путем пропускания тока по токопроводящей жиле. Схема нагрева одножильных кабелей представлена на рисунке А.1.



1 — испытательное напряжение; 2 — испытуемый кабель; 3 — концевые муфты;
4 — U-образный изгиб испытуемого кабеля; 5 — трансформатор, индуцирующий ток; 6 — измерительный трансформатор тока
Рисунок А.1 — Схема нагрева одножильных кабелей
А.2.2 Трехжильные кабели
Как правило, на трехжильные кабели накладывают броню, состоящую из оцинкованных стальных проволок, обладающих магнитным свойством, и поэтому они очень чувствительны к нагреву брони, происходящему вследствие возбуждаемых вихревых токов. Следовательно, для нагрева испытуемого кабеля и минимизации эффекта вихревых токов к токопроводящим жилам прикладывают трехфазное напряжение в установившемся режиме.
36
ГОСТ Р МЭК 63026—2025
Используют одну из двух схем нагрева трехжильных кабелей:
а) нагрев путем приложения трехфазного напряжения с использованием нагрузочных трансформаторов на каждой изолированной жиле (на конце испытуемого кабеля, где отдельные изолированные жилы разделены) и при соединении всех токопроводящих жил на обоих концах. На нагрузочные трансформаторы следует подавать такое напряжение, чтобы ток в изолированных жилах кабеля был трехфазным и имел одинаковое значение в каждой токопроводящей жиле с допустимым отклонением не более ±2 % (см. рисунок А.2);

1 — испытательное напряжение, приложенное только к одному концу кабеля; 2— испытуемый кабель;
3— концевые муфты; 4 — U-образный изгиб испытуемого кабеля; 5 — трансформатор, индуцирующий ток;
6 — измерительный трансформатор тока
Рисунок А.2 — Схема нагрева трехжильных кабелей (вариант а)
Ь) данная схема нагрева аналогична схеме по перечислению а) за исключением того, что концы каждой токопроводящей жилы соединяют вместе для пропускания тока нагрева (как правило, для этого применяют электрическую шину высокого напряжения). Затем делают единое соединение между изолированными жилами и прикладывают высокое напряжение ко всем изолированным жилам для проведения испытания напряжением переменного тока. С целью проведения испытания грозовым импульсным напряжением, в случае, когда предпочтительно проводить отдельные испытания грозовым импульсным напряжением на каждой изолированной жиле кабеля, единое соединение между изолированными жилами прерывают и испытание грозовым импульсным напряжением проводят путем последовательного приложения напряжения к каждой изолированной жиле отдельно. Напряжение на нагрузочные трансформаторы подают таким образом, чтобы ток в изолированных жилах кабеля был трехфазным и имел одинаковое значение в каждой токопроводящей жиле с допустимым отклонением не более ±2 % (см. рисунок А.З).
Схему нагрева трехжильного кабеля по перечислению Ь) выбирают, например, в том случае, когда рекомендуется уменьшить электрическую емкость нагрузки при проведении испытания грозовым импульсным напряжением при наличии соответствующего оборудования.
37
ГОСТ Р МЭК 63026—2025

1 — испытательное напряжение, одновременно приложенное к одной или трем изолированным жилам в зависимости от требований испытания: 2 — испытуемый кабель; 3 — концевые муфты;
4 — U-образный изгиб испытуемого кабеля; 5 — трансформатор, индуцирующий ток;
6 — измерительный трансформатор тока; 7 — номер изолированной жилы; 8 — зазор между шинами, соответствующий требованиям к испытанию грозовым импульсным напряжением
Рисунок А.З — Схема нагрева трехжильных кабелей (вариант Ь)
А.З Измерение температуры испытуемого кабеля
А.3.1 Общие положения
Температуру токопроводящей жилы испытуемого кабеля определяют путем непосредственных измерений температуры токопроводящей(их) жилы (жил) на второй длине кабеля, по которой проходит тот же ток и при такой же температуре окружающей среды, что и для испытуемого кабеля.
Кабель, используемый для измерения температуры (далее — эталонный кабель), должен быть идентичен испытуемому кабелю.
А.3.2 Монтаж кабеля и датчиков температур
А.3.2.1 Общие положения
Эталонный кабель должен иметь длину не менее 10 м, длина эталонного кабеля должна быть такой, чтобы при передаче тепла вдоль кабеля к его концам температура центральной двухметровой части кабеля не изменялась более чем на 2 °C.
Эталонный кабель должен быть прямым и может быть проложен за пределами высоковольтной стойки, но в тех же условиях окружающей среды что и испытуемый кабель.
Для установки датчиков температуры на токопроводящей жиле эталонного кабеля разрезают наружные слои кабеля для доступа к токопроводящей жиле. Удаление или сматывание наружного защитного покрова и слоев брони и последующая их замена не допускаются, так как в этом случае возможно изменение тепловых характеристик кабеля. Допускается вырезать в наружном защитном покрове и броне кабеля отверстия диаметром не более 20 мм для установки датчиков температуры. После установки датчика температуры удаленные из отверстия слои возвращают на место.
38
ГОСТ Р МЭК 63026—2025

1 — токопроводящая жила; 2 — электропроводящие экраны; 3 — изоляция; 4 — металлическая оболочка;
5 — эластичный теплоизолирующий компаунд; 6 — датчик температуры; 7 — наружная оболочка кабеля
Рисунок А.4 — Пример расположения датчика температуры на токопроводящей жиле эталонного кабеля
А.3.2.2 Одножильный кабель
В середине эталонного кабеля на токопроводящей жиле размещают датчик температуры ТСГ
Два других датчика ТС2 и ТС3 устанавливают на токопроводящей жиле эталонного кабеля (см. рисунок А.5); каждый датчик крепят на расстоянии, приблизительно равном 1 м от центра кабеля.
Датчики температуры крепят к токопроводящей жиле с использованием механических приспособлений с целью предотвращения их перемещения вследствие колебаний кабеля при нагреве. Следует применять меры по обеспечению надежного теплового контакта во время испытаний и по предотвращению утечки тепла в окружающую среду. Рекомендуется крепить датчик(и), как показано на рисунке А.4. Для обеспечения доступа к жиле в середине эталонного кабеля делают небольшой проем путем удаления слоев, лежащих выше токопроводящей жилы. После установки датчика(ов) удаленные слои допускается вернуть на место с целью восстановления тепловых характеристик кабеля.
При передаче незначительного количества тепла в направлении концов кабеля разность между показаниями датчиков ТС1, ТС2 и ТС3 должна быть менее 2 °C.
39
ГОСТ Р МЭК 63026—2025
Размеры в миллиметрах

1 — эталонный кабель; 2 — электрическое соединение; 3 — трансформатор, индуцирующий ток;
4 — измерительный трансформатор тока
Рисунок А.5 — Эталонный кабель для нагрева одножильных кабелей
А.3.2.3 Трехжильный кабель
Установку датчиков температуры на трехжильном кабеле проводят в соответствии с А.3.2.2 со следующими отличиями (см. рисунок А.6):
- три датчика температуры устанавливают на одной из токопроводящих жил эталонного кабеля, один — в центре (ТС^) и два, каждый на расстоянии равном 1 м от центра кабеля, на каждой из сторон (ТС12 и ТС13). Дополнительно один датчик температуры устанавливают на токопроводящей жиле каждой из двух других изолированных жил в центре кабеля (ТС21 и ТС31);
- перед установкой датчиков температуры необходимо определить радиальное положение изолированных жил в местах, в которых они должны быть установлены. Рекомендуется использовать следующий метод:
- ток в токопроводящих жилах эталонного кабеля регулируют таким образом, чтобы расчетная температура токопроводящей жилы составляла приблизительно 60 °C;
- используют тепловизионное оборудование с целью нахождения наиболее горячих точек по окружности на наружной оболочке в центре кабеля и на расстоянии 1 м в каждую сторону от центра кабеля;
- датчики температуры устанавливают на токопроводящие жилы в вышеуказанных точках;
- увеличивают ток в токопроводящих жилах эталонного кабеля для определения значения тока, необходимого для нагрева кабеля до температуры на 5 °C выше максимально допустимой температуры при нормальных условиях эксплуатации кабеля. С целью поддержания температуры в установленном диапазоне в течение требуемого времени ток, протекающий в токопроводящей жиле, допускается регулировать в ручном или автоматическом режиме. В это время проводят установку и регулировку используемой системы.
Размеры в миллиметрах

1 — эталонный кабель; 2— измерительный трансформатор тока; 3 — трансформатор, индуцирующий ток
Рисунок А.6 — Эталонный кабель для нагрева трехжильных кабелей
40
ГОСТ Р МЭК 63026—2025
А.4 Нагрев кабеля для проведения испытаний
Монтаж испытуемого кабеля, эталонного кабеля и датчиков температуры проводят в соответствии с рисунками А.1—А.6.
Испытание проводят в помещении при отсутствии сквозняков и температуре окружающей среды.
Температуру, измеренную датчиком температуры ТС1 на токопроводящей жиле одножильного эталонного кабеля или датчиками температуры ТС^, ТС21 и ТС31 трехжильного эталонного кабеля принимают за температуру токопроводящей жилы испытательного кабеля, находящегося под напряжением. Для трехжильного кабеля среднее арифметическое трех значений температуры токопроводящей жилы, измеренных в центре эталонного кабеля, принимают за температуру токопроводящих жил испытуемого кабеля.
Все датчики температуры должны быть соединены с регистрирующим устройством для обеспечения мониторинга температуры. Ток нагрева каждой токопроводящей жилы эталонного и испытуемого кабелей регистрируют в течение всего испытания.
Перед началом испытания температура эталонного и испытуемого кабелей должна быть равной температуре окружающей среды.
Среднее значение тока трех фаз испытуемого кабеля должно быть равным среднему значению тока трех фаз эталонного кабеля с допустимой погрешностью ±2 %.
Эталонный и испытуемый кабели нагревают до тех пор, пока температуры токопроводящих жил по показаниям датчика температуры ТС1 на рисунке А.5 или датчиков температуры ТС^, ТС21 и ТС31 на рисунке А.6 не стабилизируются и не достигнут значения на 5—10 °C выше максимально допустимой температуры на жиле кабеля при нормальных условиях эксплуатации (для трехжильного кабеля — среднее арифметическое трех значений температуры), как указано в таблице 2.
Ток(и) нагрева обоих контуров регулируют таким образом, чтобы температура токопроводящей жилы (для трехжильного кабеля — среднее арифметическое трех значений температуры) поддерживалась в рамках установленного диапазона в течение времени проведения испытания.
41
ГОСТ Р МЭК 63026—2025
Приложение В
(обязательное)
Порядок округления чисел
Если необходимо округлить значение до определенного знака после запятой, например, при расчете среднего значения нескольких измерений или минимального значения, используя допуск в процентах от заданного номинального значения, то выполняют следующие действия:
- если до округления последнего знака, который должен быть оставлен после запятой, приведены цифры 0, 1,2, 3 или 4, то цифру оставляют без изменения (округление в сторону уменьшения);
- если до округления последнего знака, который должен быть оставлен после запятой, приведены цифры 9, 8, 7, 6 или 5, то цифру увеличивают на единицу (округление в сторону увеличения).
Примеры:
2,449 = 2,45 округление до двух знаков после запятой.
2,449 = 2,4 округление до одного знака после запятой.
2,453 я 2,45 округление до двух знаков после запятой.
2,453 ~ 2,5 округление до одного знака после запятой.
25,0478 = 25,048 округление до трех знаков после запятой.
25,0478 я 25,05 округление до двух знаков после запятой.
25,0478 я 25,0 округление до одного знака после запятой.
42
ГОСТ Р МЭК 63026—2025
Приложение С (обязательное)
Метод определения объемного удельного электрического сопротивления полупроводящих экранов
Испытуемые образцы отбирают от выборки кабеля длиной 150 мм.
При определении на экране по жиле испытуемый образец готовят следующим образом: изолированную жилу разрезают вдоль пополам и удаляют токопроводящую жилу и разделительный слой (при наличии) [см. рисунок С.1 а)]. При определении на экране по изоляции испытуемый образец готовят следующим образом: удаляют все покрытия с экрана, наложенного по изоляции [см. рисунок С.1 Ь)].
Объемное удельное электрическое сопротивление полупроводящих экранов определяют следующим образом.
Электроды А, В, С и D, покрытые серебряной краской [см. рисунки С.1 а) и С.1 Ь)], закрепляют на полупроводящих поверхностях. Электроды напряжения В и С должны находиться на расстоянии 50 мм один от другого, а электроды тока А и D — на расстоянии не менее 25 мм от электродов напряжения.
Соединения на электродах должны быть выполнены посредством соответствующих зажимов. Выполняя соединение электродов экрана по жиле, следует убедиться, что на внешней поверхности испытуемого образца зажимы надежно изолированы от экрана по изоляции.
Данную сборку помещают в предварительно нагретый до установленной температуры термостат и по истечении не менее 30 мин измеряют электрическое сопротивление между электродами посредством цепи, выделяемая мощность которой должна быть не более 100 мВт.
После проведения электрических измерений при температуре окружающей среды измеряют диаметры по экранам, по жиле и по изоляции, а также толщину экранов по жиле и по изоляции. За результат измерений принимают среднее значение шести измерений, выполненных на испытуемом образце, представленном на рисунке С.1 Ь).
Объемное удельное электрическое сопротивление экранов р, Ом • м, вычисляют по формулам:
а) для экрана по жиле
Rc-л - (Dc- Тс) • Тс =-----------------------------,
где рс — объемное удельное электрическое сопротивление экрана по жиле, Ом • м;
Rc — измеренное электрическое сопротивление, Ом;
Dc — наружный диаметр экрана по жиле, м;
Тс — средняя толщина экрана по жиле, м;
Lc — расстояние между электродами напряжения, м.
Ь) для экрана по изоляции
Rj-n{Di-T^Ti О - = -------------------------------5
где р,- — объемное удельное электрическое сопротивление экрана по изоляции, Ом • м;
R, — измеренное электрическое сопротивление, Ом;
Dt — наружный диаметр экрана по изоляции, м;
7} — средняя толщина экрана по изоляции, м;
L, — расстояние между электродами напряжения, м.
43
ГОСТ Р МЭК 63026—2025

а) Испытуемый образец для определения объемного удельного электрического сопротивления экрана по жиле
1 — экран по изоляции; 2 — экран по жиле; A, D — электроды тока; В, С — электроды напряжения

А
Ь) Испытуемый образец для определения объемного удельного электрического сопротивления экрана по изоляции
1 — экран по изоляции; 2 — экран по жиле; A, D — электроды тока; В, С — электроды напряжения
Рисунок С.1 — Испытуемые образцы для определения объемного удельного электрического сопротивления экранов по жиле и изоляции
44
ГОСТ Р МЭК 63026—2025
Приложение D (обязательное)
Испытание элементов конструкции кабеля с продольно наложенной металлической лентой или фольгой, обладающей адгезией к наружной оболочке
D.1 Внешний осмотр
Проводят разделку кабеля и внешний осмотр. Внешний осмотр образцов проводят без применения увеличительных приборов. При внешнем осмотре на образцах не должны быть выявлены расслоения, складки, трещины или разрывы металлической фольги, а также коробления или перехлесты проволок экрана.
D.2 Испытания на прочность адгезии и прочность при отслаивании металлической фольги
D.2.1 Общие положения
Прочность адгезии и прочность при отслаивании определяют как F/w,
где F — сила, Н;
и/— ширина ленты, мм.
При применении в кабеле экрана конструкции CD (комбинированная конструкция — металлический экран, обеспечивающий радиальную водонепроницаемость и электрические характеристики) существует вероятность того, что отслаивание может привести к повреждению металлического компонента и ухудшить электрическую функциональность экрана. Следовательно, значения прочности адгезии и прочности при отслаивании ламинированного (многослойного) покрытия должны быть максимальными.
При применении в кабеле экрана конструкции SD (раздельная конструкция — металлический экран, в котором для обеспечения радиальной водонепроницаемости и электрических характеристик используют различные металлические элементы) отсутствует вероятность того, что расслоение изменит электрическую функциональность экрана. Кабель может функционировать при возникновении токов короткого замыкания за счет наличия в составе экрана проволок. При этом значения прочности адгезии и прочности при отслаивании должны быть достаточными для недопущения образования складок и изгибов в многослойном покрытии.
Примечание — Примеры вышеуказанных конструкций приведены в IEC TR 61901:2016 (приложение А).
D.2.2 Испытание на прочность адгезии
Испытуемый образец отбирают от покрытия кабеля в том месте, где металлическая фольга обладает адгезией к наружной оболочке.
Отбирают пять образцов, три из которых с места перекрытия металлической фольги или сварного шва металлического экрана, два других — с противоположной стороны кабеля.
Длина и ширина одного образца должны быть 200 и 10 мм соответственно.
С одного конца образца снимают поверхностный слой на длине 50—120 мм и вставляют его в разрывную машину, закрепив свободный конец наружной оболочки в одном зажиме. Свободный конец металлической фольги отводят вниз и закрепляют в другом зажиме, как показано на рисунке D.1.
1 — наружная оболочка; 2 — металлическая фольга; 3 — зажим
Рисунок D.1 — Местоположение испытуемого образца при испытании на прочность адгезии
45
ГОСТ Р МЭК 63026—2025
Во время испытания образец должен находиться приблизительно в вертикальном положении в плоскости зажимов.
После регулировки регистрирующего устройства начинают отделение металлической фольги от образца под углом приблизительно 180 0 и продолжают на достаточной длине для получения значения прочности адгезии. Не менее чем на половине оставшегося склеенного участка испытание на адгезию (отделение) проводят со скоростью, приблизительной равной 50 мм/мин.
Если прочность адгезии более прочности при разрыве металлической фольги настолько, что последняя обрывается до отслаивания, то испытание следует закончить, а точку разрыва зафиксировать.
D.2.3 Испытания на прочность при отслаивании металлической фольги, наложенной с перекрытием
Образец длиной не менее 200 мм отбирают от кабеля, включая участок перекрытия металлической фольги. Испытуемый образец подготавливают, вырезая из него только часть с перекрытием металлической фольги, как показано на рисунке D.2.

1 — образец; 2 — наружная оболочка; 3 — металлическая фольга или ламинированная металлическая фольга
Рисунок D.2 — Пример металлической фольги, наложенной с перекрытием
Испытания проводят аналогично испытаниям на прочность адгезии. Месторасположение испытуемого образца показано на рисунке D.3.
Испытания проводят на трех образцах.


1 — наружная оболочка; 2 — металлическая фольга или ламинированная металлическая фольга; 3 — зажим Рисунок D.3 — Местоположение испытуемого образца при испытании на прочность при отслаивании металлической фольги с перекрытием
Значение прочности регистрируют в зависимости от расстояния между зажимами. Типовые графики значений прочности приведены на рисунках D.4 и D.5.
Первая часть кривой относится к подготовке образца. Убывающая часть кривой соответствует концу образца. В промежуточной части кривой отражено устойчивое состояние образца. Минимально допустимые значения
46
ГОСТ Р МЭК 63026—2025
прочности адгезии и прочности при отслаивании Fmjn в перерасчете на 1 мм ширины образца должны быть не менее значений, приведенных в таблице D.1.

Рисунок D.4 — Типовой график зависимости прочности от расстояния между зажимами (вариант 1)

Рисунок D.5 — Типовой график зависимости прочности от расстояния между зажимами (вариант 2)
D.2.4 Требования к результатам испытаний на прочность адгезии и прочность при отслаивании
В таблице D.1 приведены минимальные значения прочности адгезии и прочности при отслаивании в зависимости от конструкции экрана (CD или SD).
47
ГОСТ Р МЭК 63026—2025
Таблица D.1 — Минимальные допустимые значения прочности адгезии и прочности при отслаивании
Прочность адгезии или прочность при отслаивании Fmin /мм | Конструкция экрана | |||
CD | SD | |||
Н/мм | Медь | 1,5 | Медь | 1,0 |
Н/мм | Алюминий | 1,5 | Алюминий | 1,0 |
Н/мм | Перекрытие | 1,5 | Перекрытие | 1,0 |
48
ГОСТ Р МЭК 63026—2025
Приложение Е (обязательное)
Определение твердости изоляции кабеля из высокомодульной этиленпропиленовой резины
Е.1 Испытуемый образец
Испытуемым образцом является образец кабеля, с которого удалены все покрытия снаружи изоляции из ВЭПР. Допускается проводить испытание на образце изолированной жилы.
Е.2 Проведение испытаний
Е.2.1 Общие положения
Испытания проводят по ИСО 48-2 с изменениями, указанными ниже.
Е.2.2 Испытания образцов с большим радиусом кривизны поверхности
Конструкция испытательного прибора по ИСО 48-2 должна обеспечивать его жесткое расположение на изоляции кабеля из ВЭПР и вертикальное соприкосновение прижимной лапки и индентора с поверхностью изоляции одним из следующих способов:
а) прибор должен иметь прижим, перемещающийся на универсальных шарнирах, обеспечивающих регулировку соприкосновения с кривой поверхностью образца;
Ь) в основании прибора должны быть два параллельных стержня А и А', расположенных на расстоянии, определяемом кривизной поверхности образца (см. рисунок Е.1).
Указанные способы применяют для испытаний образцов, радиус кривизны поверхности которых менее 20 мм.
Если толщина изоляции из ВЭПР менее 4 мм, то используют прибор по ИСО 48-2 для тонких и небольших испытуемых образцов.
Е.2.3 Испытания образцов с небольшим радиусом кривизны поверхности
Если радиус кривизны поверхности образца менее указанного в Е.2.2, то образец должен быть расположен на той же жесткой опоре, что и испытательный прибор в целях предотвращения перемещения изоляции из ВЭПР при приложении к индентору дополнительного усилия продавливания и обеспечения его вертикального расположения над осью образца. Для этого применяют следующие способы:
а) помещают образец в канавку или паз металлического зажима в соответствии с рисунком Е.2 а);
Ь) помещают концы жилы испытуемого образца в V-образный блок в соответствии с рисунком Е.2 Ь).
Указанные способы применяют для испытаний образцов, радиус кривизны поверхности которых не менее 4 мм.
Для испытаний образцов, радиус кривизны поверхности которых менее 4 мм, применяют прибор по ИСО 48-2.
Е.2.4 Кондиционирование образцов и температура испытаний
Период времени между изготовлением, т. е. между вулканизацией и испытанием образца, должен быть не менее 16 ч.
Испытание проводят при температуре (20 ± 2) °C, перед испытанием образцы выдерживают при заданной температуре в течение не менее 3 ч.
Е.2.5 Число измерений и результаты испытаний
Проводят по одному измерению в трех или пяти разных точках, расположенных по окружности образца. За результат испытаний принимают медианное значение твердости образца, округленное до ближайшего целого числа и выраженное в международных единицах твердости резины (IRHD).
49
ГОСТ Р МЭК 63026—2025

Д и Д’— параллельные стержни
Рисунок Е.1 — Схема испытаний образцов с большим радиусом кривизны поверхности


50
а) Образец помещен в канавку
Ь) Образец помещен в V-образный блок
Рисунок Е.2 — Схема испытаний образцов с небольшим радиусом кривизны поверхности
ГОСТ Р МЭК 63026—2025
Приложение F (справочное)
Рекомендации по проведению приемо-сдаточных испытаний на заводских соединительных муфтах
Применяют один из трех методов приемо-сдаточных испытаний для проверки качества системы изоляции заводских муфт:
- испытание напряжением переменного тока;
- измерение частичных разрядов;
- рентгеновский контроль.
На каждой заводской соединительной муфте измеряют частичные разряды в соответствии с МЭК 60270. Измерение частичных разрядов проводят перед восстановлением наружного полупроводящего экрана.
Если отсутствует возможность измерения частичных разрядов по МЭК 60270, например, вследствие высокого уровня шума окружающей среды или практической нецелесообразности, то по согласованию между изготовителем и заказчиком допускается применять альтернативные методы измерений частичных разрядов (акустический и т. д.) или процедуры контроля качества.
Рентгеновский контроль применяют для получения информации о качестве границ раздела сред или наличии возможных металлических включений.
На всех заводских соединительных муфтах в готовой поставочной длине кабеля проводят испытания высоким напряжением переменного тока в соответствии с 9.2.2. Однако, проведение испытания напряжением переменного тока непосредственно после установки соединительных муфт приведет к уменьшению временной задержки в случае выявления неисправности соединительной муфты на более позднем этапе производственного процесса.
На токопроводящих жилах, соединенных с помощью сварки, рекомендуется проводить рентгеновский контроль.
Монтаж заводских соединительных муфт должен проводить квалифицированный персонал независимо от того, что каждая соединительная муфта прошла приемо-сдаточные испытания. Рекомендуется, чтобы изготовитель соединительных муфт в сопроводительной документации приводил требования к квалификации персонала, осуществляющего монтаж соединительных муфт. Процессы контроля размеров, проверки значений температуры и давления во время производства соединительных муфт должны быть запротоколированы и выполняться в соответствии с инструкциями.
51
ГОСТ Р МЭК 63026—2025
Приложение G (обязательное)
Метод расчета испытательного усилия растяжения для испытаний на растяжение, изгиб и испытания на растяжение
Значение испытательного усилия растяжения Т, используемое при проведении испытаний на растяжение, изгиб и испытания на растяжение (см. 12.4.2 и 12.4.3), выбирают на основании того, что оно должно превышать максимально возможное значение силы растяжения, воздействующее на кабель на всех этапах его монтажа (и ремонта, при необходимости). В нижеприведенной формуле учтена сила растяжения, воздействующая на кабель при его прокладке или ремонте в случае, когда кабель при прокладке свешивается с судна-кабелеукладчика. При необходимости проводят анализ силы растяжения, воздействующей на кабель при протягивании его в J-образом трубопроводе для соединения с наземным электрооборудованием.
Увеличение максимального значения силы растяжения при прокладке кабеля, которое возможно при монтаже жестких соединительных муфт или другой арматуры, следует учитывать при установлении максимального ожидаемого значения силы растяжения при прокладке. Также следует учитывать увеличение значения силы растяжения вследствие трения при извлечении кабеля из проложенного по дну моря трубопровода или аналогичных операций с кабелем.
Значение испытательного усилия растяжения Т вычисляют по формуле
Т= 1,3 • w d+H, (G.1)
где w — вес 1 м кабеля, находящегося в положении под водой, Н/м;
d — максимальная глубина прокладки кабеля (значение d должно быть не менее 50), м;
Н — максимальное ожидаемое значение силы растяжения при прокладке на дне (значение /-/должно быть не менее 40 • w), Н.
Значение испытательного усилия растяжения Т округляют до ближайшего целого числа и выражают в кН. Приложенное значение Тдолжно быть не менее расчетного значения Т.
Формулу G.1 применяют, если высота волны Hs (см. 3.4.11) при прокладке кабеля не превышает 2 м. Коэффициент 1,3 вводят для учета динамических сил, который включает в себя коэффициент надежности для значения Hs, не превышающего 2 м.
Примечание — В CIGRE ТВ 623 приведено руководство по оценке растяжения кабеля, возникающего вследствие неблагоприятных погодных условий, когда значение Hs может превышать 2 м.
52
ГОСТ Р МЭК 63026—2025
Приложение Н (справочное)
Порядок проведения испытания изоляции кабеля напряжением постоянного тока
При проведении испытания напряжением постоянного тока может произойти повреждение изоляции. По возможности, следует проводить испытание напряжением переменного тока в соответствии с 13.3.
Установлен следующий порядок испытаний кабелей на номинальное напряжение до 30 кВ (Um = 36 кВ):
- испытательное напряжение постоянного тока, равное 4 Uo, прикладывают в течение 15 мин.
Для кабельных линий, находящихся в эксплуатации, допускается использовать более низкие значения напряжения и/или меньшие длительности приложения напряжения. Значения, устанавливаемые для проведения испытаний, допускается уменьшать с учетом условий окружающей среды, длительности и особенностей эксплуатации и цели проводимого испытания.
53
ГОСТ Р МЭК 63026—2025
Приложение ДА (справочное)
Сведения о соответствии ссылочных международных стандартов национальным и межгосударственным стандартам
Таблица ДА.1
Обозначение ссылочного международного стандарта | Степень соответствия | Обозначение и наименование соответствующего национального, межгосударственного стандарта |
IEC 60228 | MOD | ГОСТ 22483—2021 (IEC 60228:2004) «Жилы токопроводящие для кабелей, проводов и шнуров» |
IEC 60229:2007 | — | * |
IEC 60230 | IDT | ГОСТ Р МЭК 60230—2022 «Кабели и арматура к ним. Методы испытаний импульсным напряжением» |
IEC 60287-1-1:2006 | IDT | ГОСТ Р МЭК 60287-1-1—2022 «Кабели электрические. Расчет номинальной токовой нагрузки. Часть 1-1. Методы расчета номинальной токовой нагрузки (100 %-ный коэффициент нагрузки) и потерь. Общие положения» |
IEC 60502-2:2014 | NEQ | ГОСТ 34834-2022 «Кабели силовые с экструдированной изоляцией на номинальное напряжение от 6 до 35 кВ включительно. Общие технические условия» |
IEC 60502-4 | NEQ | ГОСТ 34839—2022 «Муфты для силовых кабелей на напряжение до 35 кВ включительно. Общие технические условия» |
IEC 60811-201 | IDT | ГОСТ IEC 60811-201—2015 «Кабели электрические и волоконно-оптические. Методы испытаний неметаллических материалов. Часть 201. Общие испытания. Измерение толщины изоляции» |
IEC 60811-202 | IDT | ГОСТ IEC 60811-202—2015 «Кабели электрические и волоконно-оптические. Методы испытаний неметаллических материалов. Часть 202. Общие испытания. Измерение толщины неметаллической оболочки» |
IEC 60811-203 | IDT | ГОСТ IEC 60811-203—2015 «Кабели электрические и волоконно-оптические. Методы испытаний неметаллических материалов. Часть 203. Общие испытания. Измерение наружных размеров» |
IEC 60811-401 | IDT | ГОСТ IEC 60811-401—2015 «Кабели электрические и волоконно-оптические. Методы испытаний неметаллических материалов. Часть 401. Разные испытания. Методы теплового старения. Старение в термостате» |
IEC 60811-402 | IDT | ГОСТ IEC 60811-402—2015 «Кабели электрические и волоконно-оптические. Методы испытаний неметаллических материалов. Часть 402. Разные испытания. Испытания на водопоглощение» |
IEC 60811-403 | IDT | ГОСТ IEC 60811-403—2015 «Кабели электрические и волоконно-оптические. Методы испытаний неметаллических материалов. Часть 403. Разные испытания. Испытание сшитых композиций на озоностойкость» |
IEC 60811-501 | IDT | ГОСТ IEC 60811-501—2015 «Кабели электрические и волоконно-оптические. Методы испытаний неметаллических материалов. Часть 501. Механические испытания. Испытания для определения механических свойств композиций изоляции и оболочек» |
IEC 60811-502 | IDT | ГОСТ IEC 60811-502—2015 «Кабели электрические и волоконно-оптические. Методы испытаний неметаллических материалов. Часть 502. Механические испытания. Испытание изоляции на усадку» |
54
Окончание таблицы ДА. 1
ГОСТ Р МЭК 63026—2025
Обозначение ссылочного международного стандарта | Степень соответствия | Обозначение и наименование соответствующего национального, межгосударственного стандарта |
IEC 60811-503 | IDT | ГОСТ IEC 60811-503—2015 «Кабели электрические и волоконно-оптические. Методы испытаний неметаллических материалов. Часть 503. Механические испытания. Испытание оболочек на усадку» |
IEC 60811-507 | IDT | ГОСТ IEC 60811-507—2015 «Кабели электрические и волоконно-оптические. Методы испытаний неметаллических материалов. Часть 507. Механические испытания. Испытания на тепловую деформацию для сшитых композиций» |
IEC 60811-508 | IDT | ГОСТ IEC 60811-508—2015 «Кабели электрические и волоконно-оптические. Методы испытаний неметаллических материалов. Часть 508. Механические испытания. Испытание изоляции и оболочек под давлением при высокой температуре» |
IEC 60811-605 | IDT | ГОСТ IEC 60811-605—2016 «Кабели электрические и волоконно-оптические. Методы испытаний неметаллических материалов. Часть 605. Физические испытания. Определение содержания сажи и/или минерального наполнителя в полиэтиленовых композициях» |
IEC 60840 | IDT | ГОСТ Р МЭК 60840—2022 «Кабели силовые с экструдированной изоляцией и арматура к ним на номинальное напряжение свыше 30 кВ (Um = 36 кВ) до 150 кВ (Um = 170 кВ). Методы испытаний» |
IEC 60885-3 | — | * |
ISO 48-2 | — | * |
* Соответствующий национальный стандарт отсутствует. До его принятия рекомендуется использовать перевод на русский язык данного международного стандарта. Примечание — В настоящей таблице использованы следующие условные обозначения степени соответствия стандартов: - IDT— идентичные стандарты; - MOD — модифицированный стандарт; - NEQ — неэквивалентные стандарты. | ||
55
ГОСТ Р МЭК 63026—2025
Библиография
IEC 60038, IEC standard voltages (Напряжения стандартные по МЭК)
IEC 60060-1, High-voltage test techniques — Part 1: General definitions and test requirements (Методы испытаний высоким напряжением. Часть 1. Общие определения и требования к испытаниям)
IEC 60060-3, High-voltage test techniques — Part 3: Definitions and requirements for on-site testing (Технология испытаний высоким напряжением. Часть 3. Определения и требования к испытаниям на месте)
IEC 60183, Guidance for the selection of high-voltage A.C. cable systems (Сети кабельные высоковольтные переменного тока. Руководство по выбору)
IEC 60270, High-voltage test techniques — Partial discharge measurements (Технология испытаний высоким напряжением. Измерения частичных разрядов)
IEC 60287 (all parts), Electric cables — Calculation of the current rating [(все части) Кабели электрические. Расчет номинальной токовой нагрузки]
IEC 60287-3-1, Electric cables — Calculation of the current rating — Part 3-1: Operating conditions — Site reference conditions (Кабели электрические. Расчет номинальной токовой нагрузки. Часть 3-1. Условия эксплуатации. Нормированные условия эксплуатации)
IEC 60811-100, Test methods for non-metallic materials — Part 100: General (Методы испытаний неметаллических материалов. Часть 100. Общие положения)
IEC 60853 (all parts), Calculation of the cyclic and emergency current rating of cables (Расчет циклических и аварийных токовых нагрузок кабелей)
IEC 60949, Calculation of thermally permissible short-circuit currents, taking into account non-adiabatic heating effects (Расчет термически допустимых токов короткого замыкания с учетом неадиабатического нагрева)
IEC 60986, Short-circuit temperature limits of electric cables with rated voltages from 6 kV (Um = 7,2 kV) up to 30 kV (Um = 36 kV) [Кабели электрические на номинальные напряжения от 6 кВ (Um = 7,2 кВ) до 30 кВ (Um = 36 кВ). Температурные пределы короткого замыкания]
IEC 61443, Short-circuit temperature limits of electric cables with rated voltages above 30 kV (Um = 36 kV) [Кабели электрические на номинальное напряжение свыше 30 кВ (Um = 36 кВ). Температурные пределы короткого замыкания]
IEC TR 61901:2016, Tests recommended on cables with a longitudinally applied metal foil for rated voltages above 30 kV (Um = 36 kV) up to and including 500 kV (Um = 550 kV) [Испытания, рекомендуемые для кабелей с продольно наложенной металлической фольгой для номинальных напряжений свыше 30 кВт (Um = 36 кВт) и до 500 кВт (Um = 550 кВт) включительно]
Electra No. 128, Guide to the protection of specially bonded cable systems against sheath overvoltages, January 1990, pp 46—62 (Руководство по защите кабельных систем co специальным соединением от перенапряжений на оболочке, январь 1990, стр. 46—62)
Electra No. 157, CIGRE Technical Brochure, Accessories for HV extruded cables, December 1994, pp 84—89 (Техническая брошюра СИГРЭ, Арматура для высоковольтных кабелей с экструдированной изоляцией, декабрь 1994, стр. 84—89)
Electra No. 173, After laying tests on high-voltage extruded insulation cable systems, August 1997, pp 32—41 (Испытания, проводимые на высоковольтных кабельных системах с экструдированной изоляцией после прокладки, август 1997, стр. 32^11)
Electra No. 171, Recommendations for mechanical tests on submarine cables, April 1997, pp 5—66 (Рекомендации no проведению механических испытаний подводных кабелей, апрель 1997, стр. 5—66)
CIGRE ТВ 610, Offshore generation cable connections, February 2015 (Кабельные соединения для подводных силовых кабелей, февраль 2015)
CIGRE ТВ 623, Recommendations for mechanical testing of submarine cables, June 2015 (Рекомендации по проведению механических испытаний подводных кабелей, июнь 2015)
CIGRE ТВ 722, Recommendations for additional testing for submarine cables from 6 kV (Um = 7,2 kV) up to 60 kV (Um = 72,5 kV) [Рекомендации по проведению дополнительных испытаний подводных кабелей на напряжение от 6 кВ (Um = 7,2 кВ) до 60 кВ (Um = 72,5 кВ)]
56
ГОСТ Р МЭК 63026—2025
УДК 621.315.28: 006.354 ОКС 29.060.20
Ключевые слова: силовые подводные кабели с экструдированной изоляцией, арматура, методы испытаний
57
Редактор Е.Ю. Митрофанова
Технический редактор И.Е. Черепкова
Корректор С.И. Фирсова
Компьютерная верстка Е.А. Кондрашовой
Сдано в набор 11.07.2025. Подписано в печать 23.07.2025. Формат 60x847s. Гарнитура Ариал.
Усл. печ. л. 6,98. Уч.-изд. л. 5,93.
Подготовлено на основе электронной версии, предоставленной разработчиком стандарта
Создано в единичном исполнении в ФГБУ «Институт стандартизации» , 117418 Москва, Нахимовский пр-т, д. 31, к. 2.