МЕЖГОСУДАРСТВЕННЫЙ СОВЕТ ПО СТАНДАРТИЗАЦИИ, МЕТРОЛОГИИ И СЕРТИФИКАЦИИ (МГС)
INTERSTATE COUNCIL FOR STANDARDIZATION, METROLOGY AND CERTIFICATION (ISC)
МЕЖГОСУДАРСТВЕННЫЙ СТАНДАРТ
ГОСТ
ISO 13056—
2025
ТРУБОПРОВОДЫ ИЗ ПЛАСТМАСС
Напорные трубопроводы для горячей и холодной воды. Метод испытания на герметичность под вакуумом
(ISO 13056:2011, Plastics piping systems — Pressure systems for hot and cold water — Test method for leaktightness under vacuum, IDT)
Издание официальное
Москва Российский институт стандартизации 2025
ГОСТ ISO 13056—2025
Предисловие
Цели, основные принципы и общие правила проведения работ по межгосударственной стандартизации установлены ГОСТ 1.0 «Межгосударственная система стандартизации. Основные положения» и ГОСТ 1.2 «Межгосударственная система стандартизации. Стандарты межгосударственные, правила и рекомендации по межгосударственной стандартизации. Правила разработки, принятия, обновления и отмены»
Сведения о стандарте
1 ПОДГОТОВЛЕН Обществом с ограниченной ответственностью «Группа ПОЛИПЛАСТИК» (ООО «Группа ПОЛИПЛАСТИК») на основе собственного перевода на русский язык англоязычной версии стандарта, указанного в пункте 5
2 ВНЕСЕН Межгосударственным техническим комитетом по стандартизации МТК 562 «Трубы, фитинги и другие изделия из пластмасс, методы испытаний»
3 ПРИНЯТ Межгосударственным советом по стандартизации, метрологии и сертификации (протокол от 30 мая 2025 г. № 185-П)
За принятие проголосовали:
Краткое наименование страны по МК(ИСО 3166) 004—97 | Код страны по МК (ИСО 3166) 004--97 | Сокращенное наименование национального органа по стандартизации |
Армения | АМ | ЗАО «Национальный орган по стандартизации и метрологии» Республики Армения |
Беларусь | BY | Госстандарт Республики Беларусь |
Киргизия | KG | Кыргызстандарт |
Россия | RU | Росстандарт |
Таджикистан | TJ | Таджикстандарт |
Узбекистан | uz | Узбекское агентство по техническому регулированию |
4 Приказом Федерального агентства по техническому регулированию и метрологии от 25 июня 2025 г. № 611-ст межгосударственный стандарт ГОСТ ISO 13056—2025 введен в действие в качестве национального стандарта Российской Федерации с 1 марта 2026 г. с правом досрочного применения
5 Настоящий стандарт идентичен международному стандарту ISO 13056:2011 «Трубопроводы из пластмасс. Напорные трубопроводы для горячей и холодной воды. Метод испытания на герметичность под вакуумом» («Plastics piping systems — Pressure systems for hot and cold water — Test method for leaktightness under vacuum», IDT).
Международный стандарт разработан подкомитетом SC 5 «Общие свойства труб, фитингов и арматуры из пластмасс и их комплектующих. Методы испытаний и основные технические требования» Технического комитета по стандартизации ISO/TC 138 «Пластмассовые трубы, фитинги и арматура для транспортирования жидких и газообразных сред» Международной организации по стандартизации (ISO).
Наименование настоящего стандарта изменено относительно наименования указанного стандарта для приведения в соответствие с ГОСТ 1.5 (подраздел 3.6).
6 ВВЕДЕН ВПЕРВЫЕ
II
ГОСТ ISO 13056—2025
Информация о введении в действие (прекращении действия) настоящего стандарта и изменений к нему на территории указанных выше государств публикуется в указателях национальных стандартов, издаваемых в этих государствах, а также в сети Интернет на сайтах соответствующих национальных органов по стандартизации.
В случае пересмотра, изменения или отмены настоящего стандарта соответствующая информация будет опубликована на официальном интернет-сайте Межгосударственного совета по стандартизации, метрологии и сертификации в каталоге «Межгосударственные стандарты»
© ISO, 2011
© Оформление. ФГБУ «Институт стандартизации», 2025

В Российской Федерации настоящий стандарт не может быть полностью или частично воспроизведен, тиражирован и распространен в качестве официального издания без разрешения Федерального агентства по техническому регулированию и метрологии
III
ГОСТ ISO 13056—2025
МЕЖГОСУДАРСТВЕННЫЙ СТАНДАРТ
ТРУБОПРОВОДЫ ИЗ ПЛАСТМАСС
Напорные трубопроводы для горячей и холодной воды. Метод испытания на герметичность под вакуумом
Plastic pipelines. Pressure pipelines for hot and cold water. Test method for leaktightness under vacuum
Дата введения — 2026—03—01 с правом досрочного применения
1 Область применения
Настоящий стандарт устанавливает метод испытания соединений трубопроводов из термопластов на герметичность в условиях вакуума.
Стандарт применяют для трубопроводов на основе труб из термопластов, предназначенных для использования в напорных системах горячего и холодного водоснабжения.
2 Сущность метода
Узел соединения в сборе подвергается частичному вакуумированию в пределах определенного периода времени, в течение которого соединения проверяются на герметичность.
Следующие параметры испытания должны быть установлены в стандарте на изделие со ссылкой на настоящий стандарт:
а) количество образцов для испытания (см. 4.2);
Ь) температура испытания (см. 6.1);
с) испытательное давление (см. 6.2);
d) продолжительность испытания (см. 6.3);
е) повышение давления, указывающее на разрушение (см. 6.3).
3 Оборудование
3.1 Источник вакуума (насос), обеспечивающий в испытуемом образце частичный вакуум, указанный в стандарте на изделие.
3.2 Средство измерения давления, способное измерять давление в образце с точностью ±0,01 бар1\
3.3 Запорный клапан для изоляции образца для испытания от источника вакуума (см. 3.1).
3.4 Термометр(ы), способный(ые) измерять соответствие заданной температуре испытания (см. 6.1).
3.5 Концевая заглушка соответствующего размера и способа крепления для герметизации свободного конца испытуемого образца. Устройство должно быть закреплено таким образом, чтобы на соединение не воздействовали продольные силы.
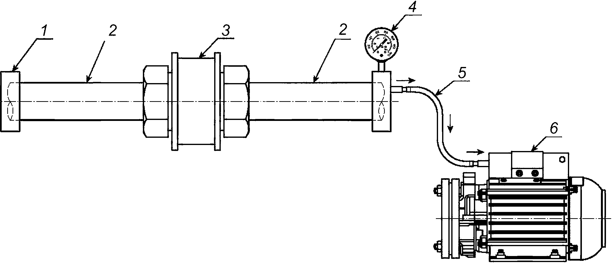
Типовая схема проведения испытания представлена на рисунке 1.
1) 1 бар = 100 кПа.
Издание официальное
1
ГОСТ ISO 13056—2025

1 — концевая заглушка; 2 — участок трубы; 3 — испытуемый узел соединения; 4 — вакуумметр; 5 — подключение к вакуумному насосу (запорный клапан не изображен); 6 — вакуумный насос
Рисунок 1 —Типовая схема проведения испытания
4 Образцы для испытаний
4.1 Подготовка образцов для испытаний
Образец для испытания должен состоять из труб и/или фитингов, соединенных в соответствии с рекомендациями изготовителя.
Образец для испытания подсоединяют к источнику вакуума (насосу) через линию с запорным клапаном. Вакуумный манометр подключают между запорным клапаном и образцом для испытания.
4.2 Количество образцов для испытаний
Количество образцов для испытаний должно быть указано в стандарте на изделие.
5 Кондиционирование
Если в стандарте на изделие не указано иное, образец следует выдерживать при температуре (23 ± 5) °C не менее 2 ч.
6 Проведение испытания
6.1 Следует убедиться, что при проведении испытания температура соответствует установленной в стандарте на изделие и изменения температуры не превышают ±2 °C.
6.2 Испытательное давление, указанное в стандарте на изделие, устанавливают в образце для испытания. Регистрируют время достижения испытательного давления и закрывают запорный клапан.
6.3 В течение времени испытания, указанного в стандарте на изделие, регистрируют повышение давления в образце для испытания до завершения испытания (при наблюдении) или до его разрушения за счет повышения внутреннего разряжения.
7 Протокол испытания
Протокол испытания должен содержать:
а) обозначение настоящего стандарта и стандарта на изделие;
Ь) идентификационные данные и количество испытанных образцов, в т. ч. рабочее давление;
с) температуру испытания;
d) время проведения испытания;
2
ГОСТ ISO 13056—2025
е) испытательное давление, уровень повышения давления до разрушения и, при наличии, повышенное давление;
f) любые факторы, влияющие на результаты, такие как происшествия или технические детали, не указанные в настоящем стандарте;
д) дату проведения испытания.
3
ГОСТ ISO 13056—2025
УДК 678:006.354
МКС 23.040.01
91.140.60
IDT
Ключевые слова: трубопроводы из пластмасс, напорные трубопроводы для горячей и холодной воды, метод испытания на герметичность под вакуумом
Редактор Е.Ю. Митрофанова
Технический редактор В.Н. Прусакова
Корректор Р.А. Ментова
Компьютерная верстка И.Ю. Литовкиной
Сдано в набор 27.06.2025. Подписано в печать 01.07.2025. Формат 60*847в. Гарнитура Ариал.
Усл. печ. л. 0,93. Уч.-изд. л. 0,70.
Подготовлено на основе электронной версии, предоставленной разработчиком стандарта
Создано в единичном исполнении в ФГБУ «Институт стандартизации» , 117418 Москва, Нахимовский пр-т, д. 31, к. 2.