ГОСТ 6732.2-89
Группа Л29
ГОСУДАРСТВЕННЫЙ СТАНДАРТ СОЮЗА ССР
КРАСИТЕЛИ ОРГАНИЧЕСКИЕ, ПРОДУКТЫ
ПРОМЕЖУТОЧНЫЕ ДЛЯ КРАСИТЕЛЕЙ, ВЕЩЕСТВА
ТЕКСТИЛЬНО-ВСПОМОГАТЕЛЬНЫЕ
Методы отбора проб
Organic dyes, intermediates for dyes,
auxiliary compounds for textiles. Sampling methods
ОКСТУ 2409
Срок действия с 01.01.91
до 01.01.2001*
_______________________________
* Ограничение срока действия снято по протоколу N 7-95
Межгосударственного Совета по стандартизации,
метрологии и сертификации (ИУС N 11, 1995 год). -
.
ИНФОРМАЦИОННЫЕ ДАННЫЕ
1. РАЗРАБОТАН И ВНЕСЕН Министерством химической и нефтеперерабатывающей промышленности
РАЗРАБОТЧИКИ
А.Л.Познякевич (руководитель темы), М.Б.Дубинский, И.А.Балакирев, Н.Н.Красикова, С.Н.Еремина
2. УТВЕРЖДЕН И ВВЕДЕН В ДЕЙСТВИЕ Постановлением Государственного комитета СССР по управлению качеством продукции и стандартам от 20.12.89 N 3918
3. ВЗАМЕН ГОСТ 6732-76, разд.2.
4. ПЕРЕИЗДАНИЕ. Август 1993 г.
Настоящий стандарт распространяется на органические красители, промежуточные продукты для красителей, текстильно-вспомогательные вещества и устанавливает методы отбора проб для испытаний.
1. АППАРАТУРА
1.1. Для отбора проб красителей, полупродуктов и текстильно-вспомогательных веществ из всех видов тары, специализированных контейнеров, транспортных средств и хранилищ применяют пробоотборники, указанные в приложении.
1.2. Сосуды, приспособления и пробоотборники должны быть изготовлены из материала, устойчивого к действию продукта (стекла, латуни, нержавеющей стали и других материалов).
Материалы дли изготовления пробоотборников выбирает предприятие с учетом выпускаемой или применяемой продукции.
2. МЕТОДЫ ОТБОРА ПРОБ
2.1. Упаковочные единицы, отобранные в выборку для контроля качества, должны быть перед вскрытием тщательно очищены снаружи от загрязнений.
2.2. Отбор проб необходимо проводить быстро, в условиях, не влияющих на свойства продукта и исключающих возможность изменения состава пробы, учитывая агрегатное состояние продукта, летучесть, гигроскопичность, светостойкость и др.
2.3. Пробы отбирают по следующей схеме:
от упаковочных единиц, отобранных для контроля, отбирают точечные пробы;
из точечных проб составляют объединенную пробу;
от объединенной пробы отбирают среднюю пробу.
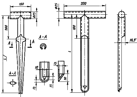
2.4. Точечные пробы сыпучих продуктов (порошкообразных, гранулированных, чешуированных) отбирают из любых точек массы продукта по всей толщине слоя при помощи металлического щупа (черт.1), трубок, ковшей или механических пробоотборников. Отбирают не менее двух точечных проб следующим способом: упаковочную единицу устанавливают наклонно под углом 35-45°, щуп кладут на продукт, располагая щель щупа против предполагаемого направления поворота, потом поворачивают тару примерно на 50-60° для наполнения щупа продуктом. Держа щуп в горизонтальном положении на высоте 2-3 см, осторожно высыпают продукт на негигроскопичную поверхность.
Щуп для отбора проб сыпучих продуктов

Черт.1
Допускается отбирать пробы, поворачивая пробоотборник (щуп) под углом 35-40°.
2.5. Точечные пробы пастообразных продуктов отбирают после проверки продукта на однородность визуальным способом из любых точек массы продукта по всей толщине слоя при помощи металлического щупа с продольным вырезом (черт.2) и трубок. Отбирают не менее трех точечных проб.
Щуп с продольным вырезом для отбора проб пастообразных продуктов

Черт.2
При расслаивании продукт предварительно перемешивают по возможности механическим способом. Если перемешивание затруднительно, пробы отбирают по всей толщине слоя из любых точек массы продукта, равномерно расположенных внутри тары.
При отборе проб щупом с продольным вырезом его опускают, ввинчивая по всей толщине слоя продукта, затем вынимают и извлекают из него пробу шпателем, вставленным в верхнюю часть прорези, перемещая его вниз. В пробу берут все содержимое щупа.
2.6. Точечные пробы продуктов в виде плавов, застывающих при температуре окружающей среды, отбирают при помощи щупа-сверла (черт.3) с наружным диаметром 24 мм и глубиной нарезки винта 6 мм, который вручную или при помощи электропривода опускают, ввинчивая в продукт до дна тары, затем вынимают и извлекают пробу шпателем. Для различной по высоте тары применяют сверла разной длины. Отбирают три точечных пробы: две вблизи стенки упаковки и одну вблизи ее центра.
Щуп-сверло для отбора проб продуктов в виде плавов

Черт.3
Плав, не представляющий опасности, измельчают с помощью механического воздействия в барабане, не расшивая его, затем барабан расшивают по продольному шву и отбирают пробы из разных мест вдоль оси и по диаметру барабана: две пробы по оси и две - по диаметру.
Нелетучие продукты с температурой плавления до 80 °С нагревают в специально оборудованных грелках в таре с отвернутыми пробками или открытыми крышками. После полного расплавления отбирают пробы жидкого продукта, как указано в п.2.7.
На предприятиях-изготовителях допускается отбирать пробы расплавов сразу после разлива в тару, до застывания продукта.
2.7. Точечные пробы жидких продуктов (жидкостей, растворов, суспензии) отбирают после тщательного перемешивания при помощи стеклянных трубок с оттянутыми концами, стеклянных или металлических пипеток, погружных металлических кружек или банок, закрытых металлических банок с крышками или колпачками для взятия проб из любых слоев упакованного продукта. Отбирают не менее двух точечных проб.
Погружные кружки и банки должны иметь ручки достаточной длины для опускания на дно любой емкости. Закрытые металлические банки должны иметь конструкцию, позволяющую отбирать пробы на любой глубине.
Пробы вязких жидкостей отбирают при помощи стеклянных трубок или закрытых металлических банок с крышками и колпачками.
Пробы жидких продуктов из различных видов тары отбирают по всей высоте слоя стеклянной трубкой с оттянутым концом.
Пробы жидких продуктов из вагонов-цистерн, автоцистерн, контейнеров отбирают из верхнего, среднего и нижнего слоев по одной пробе, в соотношении по объему 2:3:2. Допускается другое соотношение в соответствии с нормативно-технической документацией.
2.8. Все отобранные точечные пробы соединяют вместе, тщательно перемешивают и получают объединенную пробу.
2.8.1. Если продукт слежавшийся (наличие кусков в разовой пробе), его измельчают.
Пробу, предназначенную для определения гранулометрического состава, не измельчают.
2.9. Из объединенной пробы методом квартования (для сыпучих продуктов и плавов) или отбором (для жидких и пастообразных продуктов) получают среднюю пробу.
Масса средней пробы должна быть достаточной для трехкратного определения всех нормируемых показателей качества продукта и должна быть указана в нормативно-технической документации на конкретные продукты.
2.10. При формировании партии в хранилище пробы отбирают от каждой загружаемой в него технологической партии или равномерно из потока. В этом случае допускается у изготовителя не отбирать пробы от каждой цистерны, специального контейнера и из бочек.
2.11. Допускается пробы жидких продуктов брать из цистерн и хранилищ во время слива (вначале, середине и конце слива).
2.12. Среднюю пробу помещают в чистую сухую стеклянную или полиэтиленовую банку или бутылку, плотно закрывают крышкой или пробкой.
Среднюю пробу порошкообразных и твердых продуктов допускается помещать в полиэтиленовый пакет.
2.13. На сосуды и пакеты со средней пробой наклеивают этикетки с указанием:
наименования продукта;
наименования предприятия-изготовителя;
номера партии и количества мест в партии;
даты отбора проб;
фамилии пробоотборщика-контролера.
Электронный текст документа
и сверен по:
Красители органические, продукты промежуточные
для красителей, вещества текстильно-вспомогательные.
Приемка. Методы отбора проб. Упаковка. Маркировка.
Транспортирование: Сб. ГОСТов.
ГОСТ 6732.1-89-ГОСТ 6732.5-89. -
М.: Издательство стандартов, 1993