МЕЖГОСУДАРСТВЕННЫЙ СОВЕТ ПО СТАНДАРТИЗАЦИИ, МЕТРОЛОГИИ И СЕРТИФИКАЦИИ (МГС)
INTERSTATE COUNCIL FOR STANDARDIZATION, METROLOGY AND CERTIFICATION
(ISC)
МЕЖГОСУДАРСТВЕННЫЙ СТАНДАРТ
ГОСТ
2770—
2025
МАСЛО КАМЕННОУГОЛЬНОЕ ДЛЯ ПРОПИТКИ ДРЕВЕСИНЫ
Технические условия
Издание официальное
Москва Российский институт стандартизации 2025
ГОСТ 2770—2025
Предисловие
Цели, основные принципы и общие правила проведения работ по межгосударственной стандартизации установлены ГОСТ 1.0 «Межгосударственная система стандартизации. Основные положения» и ГОСТ 1.2 «Межгосударственная система стандартизации. Стандарты межгосударственные, правила и рекомендации по межгосударственной стандартизации. Правила разработки, принятия, обновления и отмены»
Сведения о стандарте
1 РАЗРАБОТАН Акционерным обществом «Восточный научно-исследовательский углехимический институт» (АО «ВУХИН»), Техническим комитетом по стандартизации ТК 395 «Кокс и продукты коксохимии»
2 ВНЕСЕН Федеральным агентством по техническому регулированию и метрологии
3 ПРИНЯТ Межгосударственным советом по стандартизации, метрологии и сертификации (протокол от 30 мая 2025 г. № 185-П)
За принятие проголосовали:
Краткое наименование страны по МК (ИСО 3166) 004—97 | Код страны по МК (ИСО 3166) 004—97 | Сокращенное наименование национального органа по стандартизации |
Азербайджан | AZ | Азстандарт |
Армения | АМ | ЗАО «Национальный орган по стандартизации и метрологии» Республики Армения |
Беларусь | BY | Госстандарт Республики Беларусь |
Россия | RU | Росстандарт |
Таджикистан | TJ | Таджи кстанда рт |
Узбекистан | UZ | Узбекское агентство по техническому регулированию |
4 Приказом Федерального агентства по техническому регулированию и метрологии от 1 июля 2025 г. № 649-ст межгосударственный стандарт ГОСТ 2770—2025 введен в действие в качестве национального стандарта Российской Федерации с 1 августа 2025 г.
5 ВЗАМЕН ГОСТ 2770—74
II
ГОСТ 2770—2025
Информация о введении в действие (прекращении действия) настоящего стандарта и изменений к нему на территории указанных выше государств публикуется в указателях национальных стандартов, издаваемых в этих государствах, а также в сети Интернет на сайтах соответствующих национальных органов по стандартизации.
В случае пересмотра, изменения или отмены настоящего стандарта соответствующая информация будет опубликована на официальном интернет-сайте Межгосударственного совета по стандартизации, метрологии и сертификации в каталоге «Межгосударственные стандарты»
© Оформление. ФГБУ «Институт стандартизации», 2025
В Российской Федерации настоящий стандарт не может быть полностью или частично воспроизведен, тиражирован и распространен в качестве официального издания без разрешения Федерального агентства по техническому регулированию и метрологии
III
ГОСТ 2770—2025
Содержание
1 Область применения..................................................................1
2 Нормативные ссылки..................................................................1
3 Технические требования...............................................................2
4 Требования безопасности..............................................................3
5 Правила приемки.....................................................................3
6 Отбор проб и методы испытаний........................................................3
7 Транспортирование, хранение и утилизация..............................................9
8 Гарантии изготовителя...............................................................10
Библиография........................................................................11
IV
ГОСТ 2770—2025
МЕЖГОСУДАРСТВЕННЫЙ СТАНДАРТ
МАСЛО КАМЕННОУГОЛЬНОЕ ДЛЯ ПРОПИТКИ ДРЕВЕСИНЫ
Технические условия
Coal-tar oil for wood impregnation. Specifications
Дата введения — 2025—08—01
1 Область применения
Настоящий стандарт распространяется на каменноугольное масло для пропитки древесины (далее — масло, продукт), получаемое смешением дистиллятных фракций каменноугольной смолы, предназначенное для защиты древесины от биологического разрушения.
Параметры защищенности древесины, пропитанной каменноугольным маслом, должны соответствовать ГОСТ 20022.0.
2 Нормативные ссылки
В настоящем стандарте использованы нормативные ссылки на следующие межгосударственные
стандарты:
ГОСТ 12.1.005 Система стандартов безопасности труда. Общие санитарно-гигиенические требования к воздуху рабочей зоны
ГОСТ 12.1.007 Система стандартов безопасности труда. Вредные вещества. Классификация и общие требования безопасности
ГОСТ 12.1.016 Система стандартов безопасности труда. Воздух рабочей зоны. Требования к методикам измерения концентраций вредных веществ
ГОСТ 12.3.034 Система стандартов безопасности труда. Работы по защите древесины. Общие требования безопасности
ГОСТ 400 Термометры стеклянные для испытаний нефтепродуктов. Технические условия
ГОСТ 450 Кальций хлористый технический. Технические условия
ГОСТ 1770 (ИСО 1042—83, ИСО 4788—80) Посуда мерная лабораторная стеклянная. Цилиндры, мензурки, колбы, пробирки. Общие технические условия
ГОСТ 2477 Нефть и нефтепродукты. Метод определения содержания воды
ГОСТ 4165 Реактивы. Медь (II) сернокислая 5-водная. Технические условия
ГОСТ 4166 Реактивы. Натрий сернокислый. Технические условия
ГОСТ 4333 (ISO 2592:2017) Нефтепродукты. Методы определения температур вспышки и вос
пламенения в открытом тигле
ГОСТ 5445 Продукты коксования химические. Правила приемки и методы отбора проб
ГОСТ 5520 Прокат толстолистовой из нелегированной и легированной стали для котлов и сосу
дов, работающих под давлением. Технические условия
ГОСТ 5541 Средства укупорочные корковые. Общие технические условия
ГОСТ 5789 Реактивы. Толуол. Технические условия
ГОСТ 6258 Нефтепродукты. Метод определения условной вязкости
ГОСТ 6613 Сетки проволочные тканые с квадратными ячейками. Технические условия
ГОСТ 9880 Толуол каменноугольный и сланцевый. Технические условия
Издание официальное
1
ГОСТ 2770—2025
ГОСТ 9949 Ксилол каменноугольный. Технические условия
ГОСТ 14710 Толуол нефтяной. Технические условия
ГОСТ 18481 Ареометры и цилиндры стеклянные. Общие технические условия
ГОСТ 18995.1—73 Продукты химические жидкие. Методы определения плотности
ГОСТ 20022.0 Защита древесины. Параметры защищенности
ГОСТ 20022.5 Защита древесины. Автоклавная пропитка маслянистыми защитными средствами
ГОСТ 22235 Вагоны грузовые магистральных железных дорог колеи 1520 мм. Общие требования по обеспечению сохранности при производстве погрузочно-разгрузочных и маневровых работ
ГОСТ 25336 Посуда и оборудование лабораторные стеклянные. Типы, основные параметры и размеры
ГОСТ 28498 Термометры жидкостные стеклянные. Общие технические требования. Методы испытаний
ГОСТ OIML R 76-1 Государственная система обеспечения единства измерений. Весы неавтоматического действия. Часть 1. Метрологические и технические требования. Испытания
Примечание — При пользовании настоящим стандартом целесообразно проверить действие ссылочных стандартов и классификаторов на официальном интернет-сайте Межгосударственного совета по стандартизации, метрологии и сертификации (www.easc.by) или по указателям национальных стандартов, издаваемым в государствах, указанных в предисловии, или на официальных сайтах соответствующих национальных органов по стандартизации. Если на документ дана недатированная ссылка, то следует использовать документ, действующий на текущий момент, с учетом всех внесенных в него изменений. Если заменен ссылочный документ, на который дана датированная ссылка, то следует использовать указанную версию этого документа. Если после принятия настоящего стандарта в ссылочный документ, на который дана датированная ссылка, внесено изменение, затрагивающее положение, на которое дана ссылка, то это положение применяется без учета данного изменения. Если ссылочный документ отменен без замены, то положение, в котором дана ссылка на него, применяется в части, не затрагивающей эту ссылку.
3 Технические требования
3.1 Масло должно быть изготовлено в соответствии с требованиями настоящего стандарта по технологическому регламенту или другому документу, утвержденному в установленном порядке.
3.2 По физико-химическим показателям масло должно соответствовать требованиям и нормам, указанным в таблице 1.
Таблица 1 — Физико-химические показатели масла
Наименование показателя | Норма | Метод испытания |
1 Плотность при 20 °C, кг/м3 | 1090—1130 | По ГОСТ 18995.1—73 (раздел 1) и 6.3 |
2 Массовая доля веществ, нерастворимых в толуоле, %, не более | 0,3 | По 6.4 |
3 Объемная доля воды, %, не более | 1,5 | По ГОСТ 2477 и 6.5 |
4 Фракционный состав, % об.: | По 6.6 | |
до 210 °C, не более | 3 | |
до 275 °C | 10—35 | |
до 315 °C | 30—50 | |
до 360 °C, не менее | 70 | |
5 Осадок в масле, нагретом до 35 °C | Отсутствует | По 6.7 |
2
Окончание таблицы 1
ГОСТ 2770—2025
Наименование показателя | Норма | Метод испытания |
6 Условная вязкость при 80 °C, условные градусы, не более | 1,3 | По ГОСТ 6258 |
7 Температура вспышки в открытом тигле, °C, не менее | 105 | По ГОСТ 4333 и 6.8 |
Примечания 1 Показатель 2 определяется изготовителем периодически один раз в месяц или по требованию потребителя. 2 При разногласиях в оценке объемной доли воды испытание проводят по ГОСТ 2477. 3 Показатели 1 и 4 определяются изготовителем периодически по требованию потребителя. | ||
3.3 Не допускается добавлять в масло пековые дистилляты, кубовые остатки ректификации бензола, нафталиновую фракцию.
4 Требования безопасности
4.1 При производстве масла и работе с ним следует выполнять общие требования безопасности по ГОСТ 12.1.007, требования, установленные ГОСТ 12.3.034 и ГОСТ 20022.5, и правила безопасности в коксохимическом производстве, утвержденные в установленном порядке.
4.2 Масло является горючим веществом.
Температура вспышки в открытом тигле — не менее 105 °C.
Температура воспламенения — приблизительно 150 °C.
Температура самовоспламенения — приблизительно 530 °C.
4.3 Масло при загорании тушат распыленной водой, огнетушительной пеной, при объемном тушении — углекислым газом, составом СЖБ, водяным паром.
4.4 Масло по степени воздействия на организм человека относится ко 2-му классу опасности в соответствии с ГОСТ 12.1.007.
Предельно допустимые концентрации (ПДК) в воздухе рабочей зоны наиболее токсичных компонентов: антрацена — 0,1 мг/м3, фенантрена — 0,8 мг/м3. Контроль за концентрацией вредных веществ — по методикам, разработанным в соответствии с ГОСТ 12.1.016. Периодичность контроля — по ГОСТ 12.1.005.
4.5 При производстве масла токсичные соединения в воздушной среде и сточных водах в присутствии других веществ не образуются.
4.6 Помещения, в которых проводятся работы с маслом, должны быть оборудованы приточновытяжной вентиляцией, обеспечивающей содержание вредных веществ в концентрациях не выше предельно допустимых.
5 Правила приемки
Правила приемки — по ГОСТ 5445 со следующими дополнениями:
- партией считается каждая цистерна;
- объем точечной пробы из цистерны, а также объем средней лабораторной пробы при отборе точечных проб из потока должен быть в интервале от 1 до 2 дм3.
При получении неудовлетворительных результатов испытаний хотя бы по одному из показателей проводят повторное испытание пробы, отобранной от той же партии. Результаты повторного испытания являются окончательными и распространяются на всю партию.
6 Отбор проб и методы испытаний
6.1 Отбор проб — по ГОСТ 5445.
6.2 При взвешивании допускается применять следующие лабораторные весы по ГОСТ OIML R 76-1:
3
ГОСТ 2770—2025
- электронные, класса точности II, с наибольшим пределом взвешивания 200 г и поверочной ценой деления 0,001—0,1 г;
- технические, класса точности III, с наибольшим пределом взвешивания 500 г и поверочной ценой деления 0,1—5,0 г;
- обычный класс точности ИН, с наибольшим пределом взвешивания 500 г и поверочной ценой деления > 5 г.
Допускается использование весов по другой нормативно-технической документации, в том числе импортных, технические характеристики которых не хуже указанных в настоящем стандарте и использование которых не ухудшает точности метода.
6.3 Измерение плотности
Плотность измерений по ГОСТ 18995.1—73 (раздел 1) со следующими дополнениями.
Приблизительно 120 см3 пробы продукта помещают в стакан или коническую колбу и подогревают при температуре 60 °C — 80 °C до полного растворения кристаллов. Затем добавляют 2—5 г сернокислого натрия по ГОСТ 4166 или безводной сернокислой меди по ГОСТ 4165, тщательно перемешивают и после отстаивания в течение 2—3 мин продукт осторожно сливают в предварительно нагретый до 60 °C — 80 °C цилиндр для дальнейшего измерения плотности.
Плотность измеряют ареометрами АОН-1 по ГОСТ 18481 с использованием термометров по ГОСТ 28498, с диапазоном измерения от 0 °C до 100 °C и ценой деления 1 °C.
Для приведения значения плотности к 20 °C используют температурную поправку плотности 0,7 кг/м3 на разность между температурой пробы и 20 °C.
За результат испытания принимают среднеарифметическое результатов двух параллельных измерений плотности, абсолютное значение разности между которыми (предел повторяемости) при доверительной вероятности Р = 0,95 не превышает 1 кг/м3.
Допускаемые расхождения между результатами измерений, выполненными в разных лабораториях (предел воспроизводимости), не должны превышать 2 кг/м3.
6.4 Измерение массовой доли веществ, нерастворимых в толуоле
Метод применяют в интервале значений массовой доли от 0,1 % до 0,3 %.
6.4.1 Аппаратура, посуда и реактивы
Колба коническая по ГОСТ 25336, вместимостью 250 см3.
Воронка типа В по ГОСТ 25336, диаметром 75 или 100 мм.
Стаканчик для взвешивания (бюкса) по ГОСТ 25336.
Эксикатор по ГОСТ 25336, с прокаленным хлористым кальцием по ГОСТ 450, который должен обновляться при появлении признаков видимого увлажнения.
Цилиндр мерный по ГОСТ 1770, вместимостью 100 см3.
Шкаф сушильный, обеспечивающий температуру нагрева 120 °C.
Фильтры бумажные обеззоленные «белая лента» диаметром 11 см, по нормативному документу государства, принявшего настоящий стандарт1).
Толуол каменноугольный и сланцевый по ГОСТ 9880 или толуол по ГОСТ 5789, или толуол нефтяной по ГОСТ 14710.
6.4.2 Подготовка к испытанию
Фильтр промывают толуолом и сушат в бюксе с открытой крышкой в сушильном шкафу при 100 °C — 110 °C не менее 30 мин, после этого бюкс с фильтром охлаждают в эксикаторе до температуры окружающей среды, закрывают крышкой и взвешивают.
Результат взвешивания, в граммах, записывают с точностью до четвертого десятичного знака. Высушивание, охлаждение и взвешивание бюкса с фильтром повторяют до постоянной массы.
1) В Российской Федерации действуют ТУ 6-09-1678-77 «Фильтры обеззоленные (белая, красная, синяя ленты). Технические условия».
4
ГОСТ 2770—2025
6.4.3 Проведение испытания
В предварительно взвешенную колбу помещают приблизительно 25 г тщательно перемешанного масла и снова взвешивают. Результат взвешивания, в граммах, записывают с точностью до второго десятичного знака. Затем в колбу добавляют 25 см3 толуола, тщательно перемешивают и фильтруют через подготовленный по 5.4.2 фильтр. Остаток на фильтре промывают нагретым до 50 °C — 70 °C толуолом до получения бесцветного фильтрата. Фильтр с осадком сушат и взвешивают по 6.4.2.
6.4.4 Обработка результатов
Массовую долю веществ, нерастворимых в толуоле, X, %, вычисляют по формуле
v (П72-т-|)Ю0
х=—m■ (1)
где т — масса навески продукта, г;
т1 — масса сухого фильтра, г;
т2 — масса фильтра с осадком, г.
За результат испытания принимают среднеарифметическое двух параллельных измерений, допускаемые расхождения между которыми (предел повторяемости) при доверительной вероятности Р = 0,95 не должны превышать 0,03 %. Допускаемые расхождения между результатами измерений, выполненными в разных лабораториях (предел воспроизводимости), не должны превышать 0,06 %.
6.5 Измерение объемной доли воды
Объемную долю воды определяют по ГОСТ 2477 со следующим дополнением: в качестве растворителя применяют каменноугольный и сланцевый толуол по ГОСТ 9880 или нефтяной толуол по ГОСТ 14710 и ГОСТ 5789 или ксилол по ГОСТ 9949.
Допускаемые расхождения между результатами двух параллельных измерений в одной лаборатории (предел повторяемости) не должны превышать 0,2 %.
Допускаемые расхождения между результатами измерений, выполненными в разных лабораториях (предел воспроизводимости), не должны превышать 0,5 %.
6.6 Определение фракционного состава
6.6.1 Аппаратура и посуда
Дефлегматор одношариковый стеклянный (см. рисунок 1).
Алонж типа АИ по ГОСТ 25336.
Сосуд для охлаждения вместимостью 2—3 дм3.
Цилиндры мерные по ГОСТ 1770 вместимостью 10 и 100 см3.
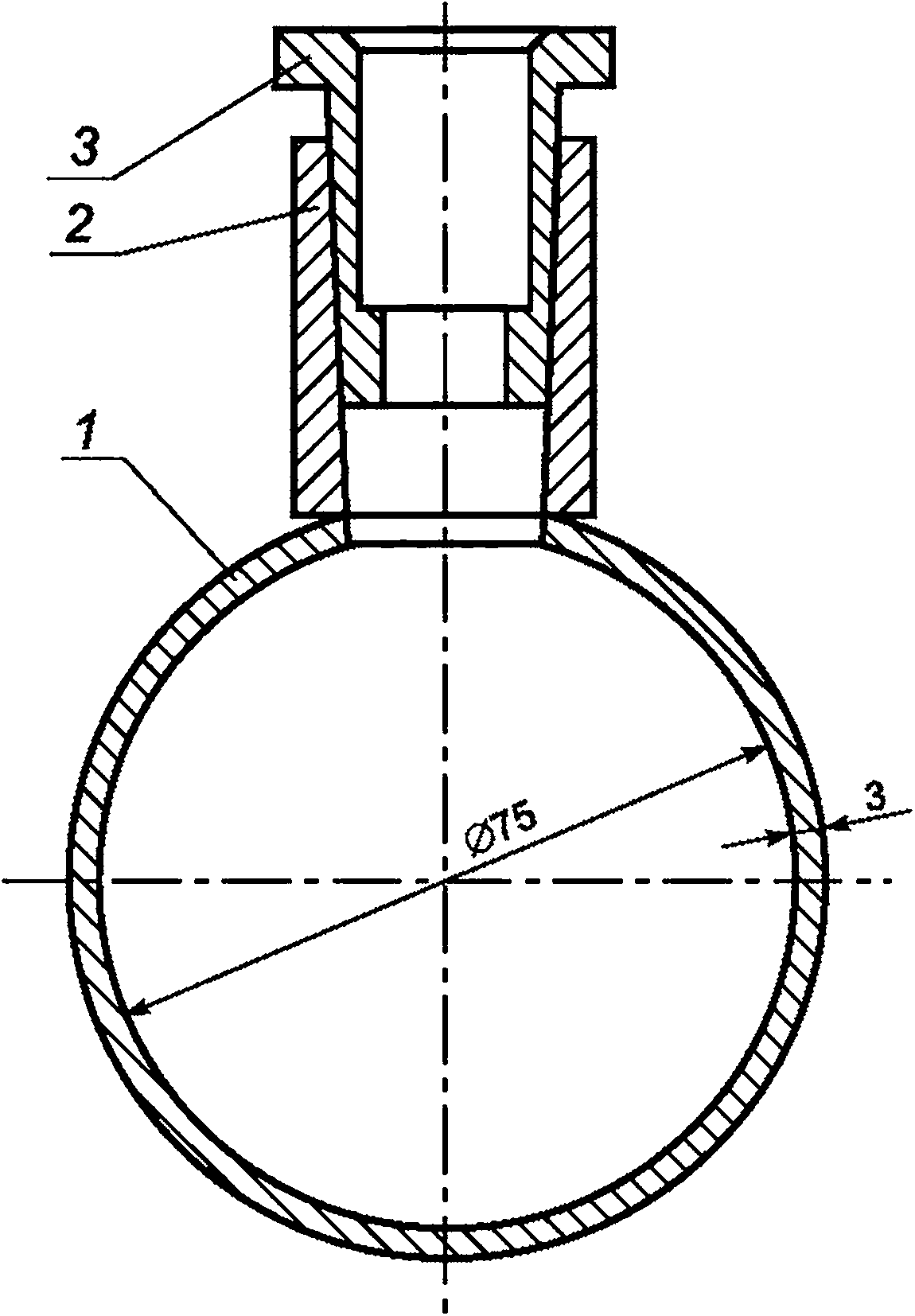
Колба перегонная металлическая (см. рисунок 2) круглодонная или стеклянная по ГОСТ 25336 типа К или КРН с укороченной до 25 мм горловиной, вместимостью 200—250 см3.
5
ГОСТ 2770—2025
014 ±1
см
+1 о ю

Рисунок 1 — Одношариковый стеклянный дефлегматор
Средства укупорочные конические:
- резиновые пробки по нормативному документу1) государства, принявшего настоящий стандарт;
- корковые пробки по ГОСТ 5541;
- термостойкие пробки из полихлоропрена, фторопласта или силиконовой резины подходящих размеров.
1) В Российской Федерации действуют ТУ 38-1051835-88 «Пробки резиновые конусные. Технические условия».
6
Деталь 3
ГОСТ 2770—2025


7 — колба из меди М 2; 2 — втулка из латуни ЛКС 80-3-3; 3 — пробка из латуни ЛКС-30-3-3
Рисунок 2 — Металлическая круглодонная колба
Термометры ртутные стеклянные с диапазоном измерения от 0 °C до 400 °C, ценой деления шкалы 1 °C по ГОСТ 400 или жидкостные по ГОСТ 28498.
Горелка газовая или электронагреватель с регулируемым электрообогревом.
Холодильник воздушный по ГОСТ 25336 — стеклянная трубка длиной 600 мм, внутренним диаметром 15—18 мм (см. рисунок 3).
Допускается применение других средств измерений с метрологическими характеристиками и оборудования с техническими характеристиками не хуже, а также реактивов по качеству не ниже указанных в настоящем стандарте.
7
ГОСТ 2770—2025
20±2

Рисунок 3 — Воздушный холодильник
6.6.2 Проведение испытания
Масло перед испытанием нагревают до 60 °C — 80 °C до полного растворения кристаллов и тщательно перемешивают.
Цилиндром отмеряют 100 см3 тщательно перемешанной средней пробы масла и помещают в перегонную колбу (см. 6.6.1). К колбе присоединяют дефлегматор со вставленным в него на пробке термометром так, чтобы его ось совпала с осью дефлегматора, а ртутный резервуар находился в центре шарика дефлегматора.
Примечание — При применении колбы типа КРН дефлегматор не используют, а термометр устанавливают так, чтобы верх ртутного резервуара термометра находился на одном уровне с нижней стенкой отводной трубки в месте ее спая.
Колбу с продуктом устанавливают на кольцо штатива, а отводную трубку дефлегматора соединяют с холодильником при помощи пробки так, чтобы она входила в него на половину своей длины. Колбу обогревают пламенем газовой горелки или электрообогревателем вначале осторожно, избегая перебросов, при достижении 150 °C со скоростью двух капель дистиллята в секунду, производя отсчет капель на выходе из холодильника.
8
ГОСТ 2770—2025
В процессе разгонки холодильник при необходимости подогревают пламенем газовой горелки для удаления кристаллов продукта с его стенок.
Фракцию, отогнанную до 210 °C, отбирают в цилиндр вместимостью 10 см3 и после ее расслоения измеряют объем воды и продукта.
Следующие фракции отбирают в цилиндр вместимостью 100 см3, отмечая количество отгона при температурах 275 °C, 315 °C и 360 °C с учетом отгона продукта до 210 °C.
Полученные объемы отгонов, в см3, до каждой из нормируемых температур представляют собой объемную долю отгонов в процентах.
Допускаемые расхождения между результатами двух параллельных измерений в одной лаборатории (предел повторяемости) для отгона продукта до 210 °C — 0,2 %, для остальных отгонов — 2 %.
Допускаемые расхождения между результатами измерений, выполненными в разных лабораториях (предел воспроизводимости), для отгона продукта до 210 °C не должны превышать 0,5 %, для остальных отгонов — 4 %.
6.7 Определение осадка в масле
6.7.1 Аппаратура, посуда и реактивы
Сетка металлическая проволочная тканая по ГОСТ 6613, номера сеток 018—0224.
Смесь для охлаждения — вода со льдом.
Стаканы стеклянные лабораторные или колбы конические по ГОСТ 25336 вместимостью 250 см3.
Термометр ртутный стеклянный по ГОСТ 400 с максимальным диапазоном измерения 0 °C до 100 °C и ценой деления шкалы 1 °C.
Цилиндр по ГОСТ 1770 исполнения 1 вместимостью 500 или 1000 см3.
Медь сернокислая по ГОСТ 4165, свежепрокаленная при температуре приблизительно 220 °C или натрий сернокислый по ГОСТ 4166, подсушенный при температуре приблизительно 100 °C — водоотнимающие вещества.
Допускается применение других средств измерений с метрологическими характеристиками и оборудования с техническими характеристиками не хуже указанных, а также реактивов по качеству не ниже указанных в настоящем стандарте.
6.7.2 Подготовка пробы к испытанию
Приблизительно 150 см3 анализируемого масла помещают в стакан вместимостью 250 см3 и подогревают до 60 °C — 80 °C. Затем добавляют 2—5 г водоотнимающего вещества и фильтруют через нагретую до 40 °C — 50 °C металлическую сетку, избегая попадания на нее осадка водоотнимающего вещества. Если в процессе фильтрования на сетке выпадут кристаллы, часть отфильтрованного масла возвращают в стакан, подогревают до первоначальной температуры и снова фильтруют. При необходимости эту операцию повторяют.
6.7.3 Проведение испытания
Пробу масла, подготовленного по 6.7.2, в количестве 100 см3, нагретого до полного растворения кристаллов при температуре от 40 °C до 60 °C, наливают в стакан, который помещают в водяную баню со смесью так, чтобы уровень смеси был выше уровня масла в стакане. Содержимое стакана при помешивании термометром охлаждают до температуры 35 °C. При этой температуре масло выдерживают в течение 1 ч, продолжая его помешивание в течение 50 мин. За 10 мин до окончания испытания перемешивание прекращают, чтобы при наличии кристаллов дать возможность последним осесть на дно стакана. Затем масло осторожно сливают тонкой струей по стенке в другой стакан. Отмечают наличие или отсутствие кристаллов на дне первого стакана.
6.8 Определение температуры вспышки в открытом тигле
Определение температуры вспышки масла проводят по ГОСТ 4333 со следующим дополнением: - подготовку пробы масла к испытанию (обезвоживание) проводят по 6.7.2.
7 Транспортирование, хранение и утилизация
7.1 Масло транспортируют наливом в танк-контейнерах или железнодорожных вагонах-цистернах, вагонах бункерного типа по ГОСТ 22235, снабженных устройствами для подогрева, в соответствии с правилами перевозки грузов, действующими на железнодорожном транспорте.
Котлы цистерн должны быть изготовлены из стали по ГОСТ 5520.
9
ГОСТ 2770—2025
Автомобильным транспортом продукт транспортируют в закрытых металлических емкостях (автомобильных цистернах, снабженных устройствами для подогрева, или бочках) в соответствии с правилами перевозки грузов, действующими на данном виде транспорта.
7.2 Масло в соответствии с [1] относится к 9-му классу опасности, классификационный шифр 9063, группа упаковки III. Номер ООН 3082. Аварийная карточка при перевозке железнодорожным транспортом № 906.
7.3 Степень (уровень) заполнения цистерны рассчитывают с учетом полного использования вместимости и объемного расширения продукта при возможном перепаде температур в пути следования.
7.4 Масло хранят на складах в обогреваемых емкостях при 60 °C — 80 °C. Допускается хранить масло при 30 °C — 35 °C.
7.5 Закристаллизовавшийся при транспортировании или хранении продукт перед сливом разогревают до 60 °C — 80 °C с помощью приспособления для разогрева или горячим маслом с температурой 60 °C — 100 °C. Слив из цистерны осуществляют через нижнее сливное отверстие с использованием сливного прибора, с тройным затвором.
При разливе — обваловка места разлива. В целях предотвращения попадания продукта в поверхностные воды его следует изолировать песком или воздушно-механической пеной. Слой почвы с загрязнениями следует вывозить в места утилизации.
8 Гарантии изготовителя
8.1 Изготовитель гарантирует соответствие качества масла требованиям настоящего стандарта при соблюдении условий транспортирования и хранения.
8.2 Гарантийный срок хранения масла — один год с даты изготовления.
8.3 Допускается использование масла после истечения срока хранения при условии соответствия его качества показателям, приведенным в 3.2.
10
ГОСТ 2770—2025
Библиография
[1] Правила перевозок опасных грузов по железным дорогам Совета по железнодорожному транспорту государств — участников Содружества (утверждены Советом по железнодорожному транспорту государств — участников Содружества, протокол от 5 апреля 1996 г. № 15)
11
ГОСТ 2770—2025
УДК 662.749.363.2:006.354
МКС 71.080.90
Ключевые слова: масло каменноугольное, масло для пропитки
Редактор Н.В. Таланова
Технический редактор В.Н. Прусакова
Корректор М.И. Першина
Компьютерная верстка А.Н. Золотаревой
Сдано в набор 02.07.2025. Подписано в печать 10.07.2025. Формат 60x84%. Гарнитура Ариал.
Усл. печ. л. 1,86. Уч.-изд. л. 1,70.
Подготовлено на основе электронной версии, предоставленной разработчиком стандарта
Создано в единичном исполнении в ФГБУ «Институт стандартизации» , 117418 Москва, Нахимовский пр-т, д. 31, к. 2.