ГОСТ 23862.7-79
Группа В59
МЕЖГОСУДАРСТВЕННЫЙ СТАНДАРТ
РЕДКОЗЕМЕЛЬНЫЕ МЕТАЛЛЫ И ИХ ОКИСИ
Химико-спектральные методы определения примесей окисей редкоземельных элементов
Rare-earth metals and their oxides. Chemical-spectral method of determination of impurities in oxides of rare-earth elements
MКC 77.120.99
ОКСТУ 1709
Дата введения 1981-01-01
Постановлением Государственного комитета СССР по стандартам от 19 октября 1979 г. N 3988 дата введения установлена 01.01.81
Ограничение срока действия снято по протоколу N 7-95 Межгосударственного совета по стандартизации, метрологии и сертификации (ИУС 11-95)
ИЗДАНИЕ с Изменениями N 1, 2, утвержденными в апреле 1985 г., мае 1990 г. (ИУС 7-85, 8-90).
Настоящий стандарт устанавливает химико-спектральные методы определения примесей окисей редкоземельных элементов (методы I и II) в редкоземельных металлах и их окисях (кроме празеодима и его окиси).
Метод I основан на экстракционно-хроматографическом концентрировании редкоземельных примесей с последующим спектральным анализом полученных концентратов; метод II - на концентрировании редкоземельных примесей осаждением их гидроокисей аммиаком после восстановления европия с последующим спектральным анализом полученных концентратов.
Интервал определяемых массовых долей примесей окисей для метода I:
в лантане и его окиси: | ||||
коллектор окись иттрия | коллектор окись лантана | |||
церия | от 4·10 | от 4·10 | ||
празеодима | от 4·10 | от 4·10 | ||
неодима | от 2·10 | от 8·10 | ||
самария | от 2·10 | от 4·10 | ||
европия | от 4·10 | от 4·10 | ||
гадолиния | от 8·10 | от 2·10 | ||
тербия | от 2·10 | от 8·10 | ||
диспрозия | от 8·10 | от 2·10 | ||
гольмия | от 8·10 | от 4·10 | ||
эрбия | от 4·10 | от 2·10 | ||
тулия | от 4·10 | от 2·10 | ||
иттербия | от 4·10 | от 4·10 | ||
лютеция | от 4·10 | от 8·10 | ||
иттрия | от 2·10 | |||
в церии и его двуокиси: | ||||
коллектор окись иттрия | коллектор двуокись церия | |||
лантана | от 1·10 | от 4·10 | ||
празеодима | от 2·10 | от 1·10 | ||
неодима | от 1·10 | от 1·10 | ||
самария | от 1·10 | от 1·10 | ||
европия | от 2·10 | от 4·10 | ||
гадолиния | от 4·10 | от 4·10 | ||
тербия | от 1·10 | от 1·10 | ||
диспрозия | от 4·10 | от 2·10 | ||
гольмия | от 4·10 | от 1·10 | ||
эрбия | от 2·10 | от 1·10 | ||
тулия | от 2·10 | от 1·10 | ||
иттербия | от 2·10 | от 4·10 | ||
лютеция | от 2·10 | от 2·10 | ||
иттрия | от 4·10 | |||
в неодиме и его окиси: | ||||
коллектор окись иттрия | коллектор окись неодима | |||
лантана | от 1·10 | от 4·10 | ||
церия | от 4·10 | от 2·10 | ||
самария | от 4·10 | |||
европия | от 4·10 | |||
гадолиния | от 4·10 | |||
тербия | от 2·10 | |||
диспрозия | от 4·10 | |||
гольмия | от 2·10 | |||
эрбия | от 4·10 | |||
тулия | от 8·10 | |||
иттербия | от 2·10 | |||
лютеция | от 2·10 | |||
иттрия | от 2·10 | |||
в самарии и его окиси: | ||||
коллектор окись иттрия | коллектор окись самария | |||
лантана | от 1·10 | от 2·10 | ||
церия | от 2·10 | от 2·10 | ||
празеодима | от 2·10 | от 2·10 | ||
неодима | от 1·10 | от 2·10 | ||
европия | от 2·10 | |||
гадолиния | от 4·10 | |||
тербия | от 2·10 | |||
диспрозия | от 8·10 | |||
гольмия | от 8·10 | |||
эрбия | от 2·10 | |||
тулия | от 8·10 | |||
иттербия | от 4·10 | |||
лютеция | от 2·10 | |||
иттрия | от 8·10 | |||
в европии и его окиси: | ||||
коллектор окись иттрия | коллектор окись европия | |||
лантана | от 1·10 | от 1·10 | ||
церия | от 2·10 | от 2·10 | ||
празеодима | от 2·10 | от 2·10 | ||
неодима | от 1·10 | от 2·10 | ||
самария | от 1·10 | от 1·10 | ||
гадолиния | от 4·10 | |||
тербия | от 1·10 | |||
диспрозия | от 2·10 | |||
гольмия | от 2·10 | |||
эрбия | от 4·10 | |||
тулия | от 1·10 | |||
иттербия | от 2·10 | |||
лютеция | от 2·10 | |||
иттрия | от 1·10 | |||
в гадолинии и его окиси: | ||||
коллектор окись иттрия | коллектор окись гадолиния | |||
лантана | от 1·10 | от 4·10 | ||
церия | от 2·10 | от 2·10 | ||
празеодима | от 2·10 | от 2·10 | ||
неодима | от 1·10 | от 4·10 | ||
самария | от 1·10 | от 4·10 | ||
тербия | от 2·10 | |||
диспрозия | от 4·10 | |||
гольмия | от 4·10 | |||
эрбия | от 1·10 | |||
тулия | от 4·10 | |||
иттербия | от 2·10 | |||
лютеция | от 2·10 | |||
иттрия | от 4·10 | |||
коллектор окись лютеция | ||||
тербия | от 5·10 | |||
диспрозия | от 2·10 | |||
гольмия | от 2·10 | |||
эрбия | от 1·10 | |||
иттрия | от 5·10 | |||
в тербии и его окиси: | ||||
коллектор окись иттрия | коллектор окись тербия | |||
лантана | от 7·10 | от 2·10 | ||
церия | от 1·10 | от 4·10 | ||
празеодима | от 1·10 | от 4·10 | ||
неодима | от 7·10 | от 1·10 | ||
самария | от 7·10 | от 1·10 | ||
европия | от 1·10 | от 4·10 | ||
гадолиния | от 1·10 | от 2·10 | ||
диспрозия | от 1·10 | |||
гольмия | от 2·10 | |||
эрбия | от 2·10 | |||
тулия | от 2·10 | |||
иттербия | от 1·10 | |||
лютеция | от 2·10 | |||
иттрия | от 1·10 | |||
в диcпpoзии и его окиси: | ||||
коллектор окись иттрия | коллектор окись диспрозия | |||
лантана | от 2·10 | от 4·10 | ||
церия | от 4·10 | от 2·10 | ||
празеодима | от 4·10 | от 2·10 | ||
неодима | от 2·10 | от 8·10 | ||
самария | от 2·10 | от 8·10 | ||
европия | от 4·10 | от 2·10 | ||
гадолиния | от 8·10 | от 2·10 | ||
тербия | от 2·10 | от 2·10 | ||
гольмия | от 2·10 | |||
эрбия | от 4·10 | |||
тулия | от 1·10 | |||
иттербия | от 2·10 | |||
лютеция | от 1·10 | |||
иттрия | от 1·10 | |||
в гольмии и его окиси: | ||||
коллектор окись иттрия | коллектор окись гольмия | |||
лантана | от 2·10 | от 4·10 | ||
церия | от 4·10 | от 8·10 | ||
празеодим | от 4·10 | от 2·10 | ||
неодима | от 2·10 | от 4·10 | ||
самария | от 2·10 | от 8·10 | ||
европия | от 4·10 | от 8·10 | ||
гадолиния | от 8·10 | от 2·10 | ||
тербия | от 2·10 | от 8·10 | ||
диспрозия | от 2·10 | от 4·10 | ||
эрбия | от 1·10 | |||
тулия | от 4·10 | |||
иттербия | от 2·10 | |||
лютеция | от 2·10 | |||
иттрия | от 2·10 | |||
в эрбии и его окиси: | ||||
коллектор окись иттрия | коллектор окись эрбия | |||
лантана | от 2·10 | от 2·10 | ||
церия | от 4·10 | от 2·10 | ||
празеодима | от 4·10 | от 8·10 | ||
неодима | от 2·10 | от 4·10 | ||
самария | от 2·10 | от 2·10 | ||
европия | от 4·10 | от 8·10 | ||
гадолиния | от 8·10 | от 8·10 | ||
тербия | от 2·10 | от 4·10 | ||
диспрозия | от 8·10 | от 8·10 | ||
гольмия | от 2·10 | от 4·10 | ||
тулия | от 4·10 | |||
иттербия | от 2·10 | |||
лютеция | от 4·10 | |||
в тулии и его окиси: | ||||
коллектор окись иттрия | коллектор окись тулия | |||
лантана | от 2·10 | от 8·10 | ||
церия | от 4·10 | от 8·10 | ||
празеодима | от 4·10 | от 4·10 | ||
неодима | от 2·10 | от 4·10 | ||
самария | от 2·10 | от 8·10 | ||
европия | от 4·10 | от 2·10 | ||
гадолиния | от 8·10 | от 8·10 | ||
тербия | от 2·10 | от 4·10 | ||
диспрозия | от 8·10 | от 8·10 | ||
гольмия | от 8·10 | от 4·10 | ||
эрбия | от 4·10 | от 4·10 | ||
иттербия | от 1·10 | |||
лютеция | от 2·10 | |||
иттрия | от 2·10 | |||
в иттербии и его окиси: | ||||
коллектор окись иттрия | коллектор окись иттербия | |||
лантана | от 2·10 | от 2·10 | ||
церия | от 4·10 | от 8·10 | ||
празеодима | от 4·10 | от 8·10 | ||
неодима | от 2·10 | от 2·10 | ||
самария | от 2·10 | от 4·10 | ||
европия | от 4·10 | от 4·10 | ||
гадолиния | от 8·10 | от 2·10 | ||
тербия | от 2·10 | от 8·10 | ||
диспрозия | от 8·10 | от 8·10 | ||
гольмия | от 8·10 | от 4·10 | ||
эрбия | от 4·10 | от 8·10 | ||
тулия | от 5·10 | от 5·10 | ||
лютеция | от 4·10 | |||
иттрия | от 4·10 | |||
в лютеции и его окиси: | ||||
коллектор окись иттрия | коллектор окись лютеция | |||
лантана | от 2·10 | от 2·10 | ||
церия | от 4·10 | от 4·10 | ||
празеодима | от 4·10 | от 8·10 | ||
неодима | от 2·10 | от 2·10 | ||
самария | от 2·10 | от 8·10 | ||
европия | от 4·10 | от 2·10 | ||
гадолиния | от 8·10 | от 8·10 | ||
тербия | от 2·10 | от 2·10 | ||
диспрозия | от 8·10 | от 8·10 | ||
гольмия | от 8·10 | от 8·10 | ||
эрбия | от 4·10 | от 4·10 | ||
тулия | от 4·10 | от 8·10 | ||
иттербия | от 4·10 | от 4·10 | ||
иттрия | от 4·10 | |||
в иттрии и его окиси: | ||||
лантана | от 1·10 | |||
церия | от 2·10 | |||
празеодима | от 2·10 | |||
неодима | от 1·10 | |||
самария | от 1·10 | |||
европия | от 2·10 | |||
гадолиния | от 4·10 | |||
тербия | от 1·10 | |||
диспрозия | от 4·10 | |||
гольмия | от 4·10 | |||
эрбия | от 2·10 | |||
тулия | от 2·10 | |||
иттербия | от 2·10 | |||
лютеция | от 2·10 | |||
Интервал определяемых массовых долей для метода II: | ||||
в окиси европия: | ||||
неодима | от 5·10 | |||
самария | от 5·10 | |||
гадолиния | от 5·10 | |||
(Измененная редакция, Изм. N 1).
1. ОБЩИЕ ТРЕБОВАНИЯ
1.1. Общие требования к методу анализа - по ГОСТ 23862.0-79.
Метод I
2. АППАРАТУРА, МАТЕРИАЛЫ И РЕАКТИВЫ
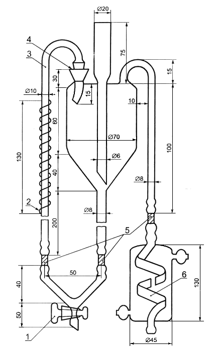
Колонки хроматографические из молибденового стекла (черт.1) высотой 600-800 мм двух типов: колонки с водяной рубашкой; колонки без водяной рубашки. Схемы колонок приведены на черт.1.

1 - трубка толстостенная; 2 - кран вакуумный; 3 - фильтр стеклянный пористый N 1; 4 - рубашка водяная; 5 - шлиф; 6 - держатели стеклянные; 7 - патрубок для подачи газа в систему; 8 - патрубок для соединения системы с атмосферой
Черт.1
Испарители из молибденового стекла (черт.2).

1 - кран вакуумный; 2 - спираль из нихрома с диаметром проволоки 0,4 мм и длиной проволоки 3000 мм; 3 - трубка кварцевая; 4 - шлиф; 5 - соединения хлорвиниловыми трубками; 6 - холодильник с 6 витками
Черт.2
Термостат ТС-16 или аналогичный, обеспечивающий нагрев воды до (40±2) °С.
Потенциометр ЛПУ-01 или аналогичный для измерения рН от 1 до 11.
Мельница шаровая металлическая диаметром 210 мм, высотой 200 мм, массой 4 кг.
Шары металлические диаметром 30 мм, 25 шт.
Сита металлические.
Шкаф сушильный с терморегулятором, обеспечивающим температуру до 200 °С.
Печь муфельная с терморегулятором, обеспечивающим температуру до 1000 °С.
Мотор швейный ДШС-2.
Спектрограф дифракционный ДФС-13 с решеткой 1200 штр/мм, работающей в первом порядке отражения, и трехлинзовой системой освещения.
Генератор дуговой типа ДГ-2 с дополнительным реостатом или аналогичный, приспособленный для поджига дуги постоянного тока высокочастотным разрядом.
Выпрямитель 250-300 В, 30-50 А. Микрофотометр нерегистрирующий типа МФ-2 или аналогичный.
Спектропроектор ПС-18 или аналогичный.
Весы аналитические.
Весы торсионные типа ВТ-500 или аналогичные.
Ступка и пестик из агата или яшмы.
Станок для заточки электродов.
Угли спектральные ОСЧ-7-3, диаметром 6 мм.
Электроды, выточенные из углей спектральных ОСЧ-7-3, диаметром 6 мм, заточенные на усеченный конус с углом при вершине 15° и с площадкой диаметром 1,5 мм на конце.
Электроды, выточенные из углей спектральных ОСЧ-7-3, диаметром 6 мм с каналом глубиной 5 мм, диаметром 2 мм и толщиной стенок 1 мм.
Графит порошковый особой чистоты по ГОСТ 23463-79.
Тигли фарфоровые.
Пластинки фотографические спектрографические тип I, размером 9х24 или аналогичные, обеспечивающие нормальные почернения аналитических линий в спектре.
Бумага универсальная индикаторная.
Баня водяная.
Плитка электрическая.
Редукторы кислородные.
Манометры по ГОСТ 2405-88 на 1-4 кгс/см.
Насос водоструйный лабораторный стеклянный.
Воронки делительные вместимостью 2000 см.
Воронка Бюхнера диаметром 132 мм.
Бюретки вместимостью 25 см.
Цилиндры стеклянные вместимостью 1000 см с притертой пробкой.
Колба стеклянная вместимостью 1000 см с обратным холодильником.
Колбы мерные вместимостью 100, 1000 см.
Стаканы химические вместимостью 50, 100, 200, 500, 2000, 3000 см.
Мешалка стеклянная пропеллерная.
Прибор стеклянный для перегонки с колбой Вюрца вместимостью 500, 1000 см.
Чашки фарфоровые диаметром 210 мм.
Пробки резиновые.
Пленка полиэтиленовая.
Силикагель марки КСК N 2 или 2,5.
Окиси редкоземельных элементов лантана, церия, празеодима, неодима, самария, европия, гадолиния, тербия, диспрозия, гольмия, эрбия, тулия, иттербия, лютеция, иттрия - чистые по определяемым примесям.
Медь сернокислая 5-водная по ГОСТ 4165-78, 0,5 моль/дм раствор.
Натрий уксуснокислый по ГОСТ 199-78, х.ч., насыщенный раствор.
Натрий углекислый кристаллический по ГОСТ 84-76, х.ч., раствор с концентрацией 50 г/дм.
Натрий хлористый по ГОСТ 4233-77, раствор с концентрацией 100 г/дм.
Натрий гидроокись по ГОСТ 4328-77, х.ч., 0,1; 0,5; 1; 2 моль/дм растворы.
Калий бромноватокислый по ГОСТ 4457-74, х.ч.
0,1 моль/дм раствор (16,8 г растворяют в 1000 см
воды); готовят в день употребления.
0,1 моль/дм раствор в 3,5 моль/дм
растворе азотной кислоты; готовят в день употребления.
0,1 моль/дм раствор в 7 моль/дм
азотной кислоте; готовят в день употребления.
Азот газообразный по ГОСТ 9293-74.
Аммоний роданистый 0,3; 0,8 моль/дм растворы с рН 4,7.
Арсеназо-III, раствор с концентрацией 0,2 г/дм.
Кислота соляная по ГОСТ 3118-77, х.ч., концентрированная, 0,01; 0,1; 0,3; 0,4; 0,5; 0,8; 1; 1,1; 1,2; 1,5; 2; 2,2; 2,4; 2,5; 3; 4; 5; 7 моль/дм титрованные растворы.
Кислота щавелевая по ГОСТ 22180-76, х.ч., насыщенный раствор.
Кислота азотная по ГОСТ 4461-77, х.ч., 15; 7; 3,5; 2; 0,3; 0,1; 0,01 моль/дм растворы.
Кислота фтористоводородная по ГОСТ 10484-78, х.ч.
Аммиак водный по ГОСТ 3760-79, х.ч., концентрированный, раствор с концентрацией 50 г/дм.
Водорода пероксид по ГОСТ 10929-76.
Ди-(2-этилгексил) фосфорная кислота (
), техническая (50-70%) и улучшенная (не менее 95%).
100%-ную получают из технической
(см. п.3.1) или из улучшенной
(см. п.3.2).
Толуол по ГОСТ 5789-78.
Раствор 100%-ной
в толуоле (60%
, 40% толуола).
Трибутилфосфат (ТБФ).
Эфир этиловый.
Спирт этиловый ректификованный технический по ГОСТ 18300-87.
Диметилдихлорсилан.
Углерод четыреххлористый по ГОСТ 20288-74.
Диметилдихлорсилан, раствор в четыреххлористом углероде (1:4).
Ацетон по ГОСТ 2603-79.
Этиленгликоль по ГОСТ 10164-75.
Кислота аскорбиновая, раствор с концентрацией 5 г/дм в 1 моль/дм
соляной кислоте; готовят в день употребления.
Разд.2. (Измененная редакция, Изм. N 1, 2).
3. ПОДГОТОВКА К АНАЛИЗУ
3.1. Очистка технической Д2ЭГФК
В стакан вместимостью 2000 см помещают 500 см
технической Д2ЭГФК, добавляют 250 см
7 моль/дм
соляной кислоты, выдерживают в течение 5-6 ч в водяной бане при 80 °С, перемешивая механической мешалкой. Смесь переносят в делительную воронку и после расслаивания отделяют водный слой (нижний). Органическую фазу промывают 4 раза водным раствором хлористого натрия, порциями по 700 см
, добавляют 500 см
этилового эфира, 600 см
3 моль/дм
раствора гидроокиси натрия и осторожно перемешивают. Затем прибавляют 500 см
раствора хлористого натрия и снова перемешивают. После отделения водного слоя (нижнего) органическую фазу дважды промывают 1 моль/дм
раствором гидроокиси натрия порциями по 750 см
и один раз 750 см
0,5 моль/дм
раствора гидроокиси натрия. После этого органическую фазу промывают 3 раза раствором хлористого натрия порциями по 500 см
.
К органической фазе прибавляют 1200 см раствора сульфата меди и перемешивают до окрашивания органической фазы в темно-синий цвет. После расслаивания фазы разделяют. Органическую фазу (верхнюю) переносят в стакан вместимостью 3000 см
, добавляют 1500 см
ацетона, перемешивают механической мешалкой. Полученный осадок отфильтровывают через воронку Бюхнера и промывают его 4 раза ацетоном, порциями по 100 см
. Промытый осадок переносят в стакан вместимостью 2000 см
, добавляют 700 см
1 моль/дм
раствора соляной кислоты, 300 см
этилового эфира и перемешивают стеклянной палочкой. После растворения осадка содержимое стакана переносят в делительную воронку и после расслаивания отделяют водный слой (нижний).
Органическую фазу в воронке промывают 3 раза 1 моль/дм раствором соляной кислоты порциями по 100 см
, 5 раз раствором хлористого натрия порциями по 100 см
, 6 раз этиленгликолем порциями по 200 см
и 4 раза раствором хлористого натрия порциями по 100 см
.
Органическую фазу переносят в перегонный аппарат и отгоняют эфир и воду при 40 °С и разрежении, создаваемом водоструйным насосом.
Чистоту полученной Д2ЭГФК проверяют потенциометрическим титрованием. На титрование берут 1 г Д2ЭГФК, разбавляют 15 см этилового спирта и титруют 0,1 моль/дм
раствором гидроокиси натрия. На кривой титрования должен быть один скачок потенциала. Если наблюдаются два скачка потенциала, необходимо повторить очистку экстрагента этиленгликолем.
Массовую долю Д2ЭГФК в процентах вычисляют по формуле
,
где - количество раствора гидроокиси натрия, израсходованное на титрование, см
;
- молярность раствора гидроокиси натрия.
(Измененная редакция, Изм. N 1).
3.2. Очистка улучшенной Д2ЭГФК
В стакан вместимостью 1000 см помещают 500 см
улучшенной Д2ЭГФК, добавляют 250 см
7 моль/дм
соляной кислоты и выдерживают в водяной бане в течение 5-6 ч при 80 °С при перемешивании механической мешалкой. Смесь переносят в делительную воронку вместимостью 1000 см
и после расслаивания фаз отделяют водный слой (нижний). Органическую фазу промывают 3-4 раза водным раствором хлористого натрия порциями по 300 см
, переносят в делительную воронку вместимостью 2000 см
, добавляют 500 см
этилового эфира, перемешивают и нейтрализуют 2 моль/дм
раствором гидроокиси натрия до рН 7 (контроль проводят по универсальной индикаторной бумаге). Далее органический раствор дважды промывают 1 моль/дм
раствором гидроокиси натрия (порциями по 750 см
), один раз 750 см
0,5 моль/дм
раствора гидроокиси натрия, нейтрализуют 2 моль/дм
раствором соляной кислоты до рН 2,5 (контроль проводят по универсальной индикаторной бумаге) и трижды промывают водным раствором хлористого натрия порциями по 750 см
.
К органической фазе добавляют 200 см этилового эфира, перемешивают и промывают 6-8 раз этиленгликолем порциями по 200 см
и 3-4 раза водой для удаления этиленгликоля.
Очищенную Д2ЭГФК переносят в перегонный аппарат и отгоняют эфир и воду при 40 °С и разрежении, создаваемом водоструйным насосом.
Чистоту полученной Д2ЭГФК проверяют потенциометрическим титровани
ем (п.3.1).
3.3. Очистка ТБФ
В стакан вместимостью 2000 см помещают 500 см
ТБФ и 500 см
7 моль/дм
соляной кислоты и выдерживают при 60 °С, перемешивая растворы механической мешалкой. Температуру поддерживают нагреванием в водяной бане. Смесь переносят в делительную воронку вместимостью 2000 см
, после расслаивания фаз водный слой (нижний) отбрасывают и промывают органическую фазу два раза дистиллированной водой порциями по 500 см
, три раза раствором углекислого натрия порциями по 500 см
, и три раза водой порциями по 500 см
.
Очищенный ТБФ переносят в перегонный аппарат и отгоняют воду и бутиловый спирт при 40 °С и разрежении, создаваемом водоструйным насосо
м.
3.4. Подготовка силикагеля
3.4.1. В шаровую мельницу помещают 500 г силикагеля, 25 металлических шаров и измельчают силикагель в течение 25 мин. Затем силикагель просеивают и отбирают фракции минус 0,102 мм плюс 0,075 мм; минус 0,075 плюс 0,060 мм.
3.4.2. Для отбора силикагеля с размером зерна 0,06-0,07 мм фракцию минус 0,075 плюс 0,060 мм помещают в цилиндр диаметром 40-50 мм, добавляют дистиллированную воду (отношение объемов твердой и жидкой фаз 1:10) и тщательно перемешивают. Суспензию выдерживают в течение 10 мин и декантируют водную фазу. Эту операцию повторяют 5-6 раз до получения прозрачной водной фазы. Силикагель 5-6 раз промывают горячей 7 моль/дм соляной кислотой и дистиллированной водой до рН 7 (контроль ведут по универсальной индикаторной бумаге). Отмытый силикагель высушивают в сушильном шкафу при 150 °С. Горячий высушенный силикагель переносят в сухую стеклянную емкость и плотно закрывают резиновой пробкой. Если после охлаждения на стенках колбы появится влага, силикагель следует высушить повторно. Высушенный силикагель хранят в плотно закрытых стеклянных емкостях.
3.4.3. Силикагель с размером зерна 0,1 мм получают из фракции минус 0,102 мм плюс 0,075 мм (п.3.4.2).
3.4.4. Гидрофобизирование силикагеля
В фарфоровую чашку помещают 100 г полученного сухого силикагеля и выдерживают в сушильном шкафу при 120 °С в течение 1 ч. Горячий силикагель переносят в сухую колбу вместимостью 1000 см с обратным холодильником, добавляют 250 см
смеси диметилдихлорсилана с четыреххлористым углеродом и кипятят 3 ч при нагревании в водяной бане, поддерживая в водяной бане температуру 80 °С. Силикагель отфильтровывают на воронке Бюхнера, промывают 2-3 раза четыреххлористым углеродом порциями по 100 см
и два раза ацетоном порциями по 100 см
. Промытый силикагель переносят в фарфоровую чашку и высушивают в сушильном шкафу при 60 °С в течение 1 ч, а затем при 120 °С - 2-3 ч.
3.5. Приготовление сорбента
Сорбент получают, пропитывая порции гидрофобизированного силикагеля экстрагентом Д2ЭГФК или ТБФ. 40 г силикагеля помещают в стакан вместимостью 100 см, добавляют по каплям из бюретки, при тщательном перемешивании стеклянной палочкой, 24 см
экстрагента. Сорбент должен быть сухим, порошкообразным предварительно выдержанным не менее 7 сут.
3.6. Заполнение колонки и подготовка ее к работе
Сорбент помещают в колбу Бунзена вместимостью 1000 см, добавляют 200 см
0,1 моль/дм
соляной кислоты, нагретой до 60 °С, помещают в водяную баню, поддерживая температуру 60 °С, закрывают резиновой пробкой, подключают к водоструйному насосу и выдерживают при разрежении до полного осаждения сорбента. Затем сорбент взмучивают и полученную суспензию количественно переносят в стеклянную хроматографическую колонку. В закрытой колонке создают избыточное давление 0,2·10
Па.
После уплотнения сорбента на него помещают перфорированный поливинилхлоридный диск с диаметром отверстия 0,5 мм (диаметр диска равен внутреннему диаметру колонки). Сорбент в колонке промывают раствором аскорбиновой кислоты объемом, равным трем свободным объемам колонки, и затем 0,1 моль/дм соляной кислотой, объемом, равным двум свободным объемам колонки. Свободные объемы колонок приведены в разд.4.
(Измененная редакция, Изм. N 1).
3.7. Техника работы на хроматографической колонке
Выделение концентрата примесей из церия и его двуокиси и концентрата примесей средних и тяжелых РЗЭ из иттрия и его окиси проводят в колонках без водяной рубашки при комнатной температуре.
Выделение концентратов примесей РЗЭ из остальных редкоземельных металлов и их окисей проводят в колонках с водяной рубашкой при температуре 40 °С. Температуру поддерживают термостатированной водой. Все растворы заливают в колонку сверху. Растворы, которые пропускают через колонку с водяной рубашкой, предварительно нагревают до 50-60 °С. При прохождении растворов через колонку следят, чтобы сорбент всегда был под слоем раствора. Перед началом разделений колонку промывают раствором соляной кислоты с концентрацией, равной концентрации ее в первом элюанте объемом, равным свободному объему колонки. После окончания разделений колонку промывают 0,1 моль/дм соляной кислотой объемом, равным свободному объему колонки. Если перед выделением концентрата примесей всех РЗЭ на колонке выделяли концентрат примесей не всех РЗЭ, то после окончания разделения перед промывкой колонки 0,1 моль/дм
соляной кислотой ее промывают 7 моль/дм
соляной кислотой объемами, указанными в соответствующих подпунктах для элюирования всех РЗЭ. Растворы пропускают через колонку со скоростью, вычисленной по формуле
,
где - скорость пропускания раствора через колонку, см
/мин;
- внутренний диаметр колонки, см.
При подготовке колонки к работе по п.3.6, промывании ее перед началом и после окончания разделений, а также при выделении концентратов примесей РЗЭ, элюирующихся после элемента основы, допускается увеличение скорости пропускания растворов в два раза. Скорость пропускания растворов поддерживают давлением, создаваемым азотом из баллона или сжатым воздухом. Для этого в колонку подают избыточное давление, которое не должно превышать 0,5·10 Па.
3.8. Выделение концентрата примесей РЗЭ
Концентраты примесей получают, пропуская через экстракционно-хроматографическую колонку раствор анализируемой пробы, с последующим раздельным элюированием примесей и основы элюантами, составы которых приведены в методиках анализа исследуемых основ.
Наличие элемента основы в отдельных фракциях элюата, отобранных по пп.4.1-4.15, устанавливают по цветной реакции с арсеназо-III. Для этого на полиэтиленовую пленку наносят одну каплю раствора арсеназо-III, одну каплю испытуемого раствора, две капли насыщенного раствора ацетана натрия и перемешивают стеклянной палочкой. Полученную окраску сравнивают с окраской контрольного опыта.
Контрольный опыт выполняют следующим образом: одну каплю арсеназо-III помещают на полиэтиленовую пленку, добавляют одну каплю элюата, две капли насыщенного раствора ацетата натрия и перемешивают; окраска раствора должна быть розовой.
Сиреневая, синяя и зеленая окраски указывают на наличие элемента основы в испытуемом растворе. Фракции элюата, не содержащие элемента основы, упаривают до объема 15-20 см (концентрат примесей) (пп.4.1-4.15).
(Измененная редакция, Изм. N 1).
3.9. Подготовка концентрата примесей РЗЭ к спектральному анализу
В концентрат примесей добавляют 20-40 мг коллектора - окиси иттрия или окиси анализируемого РЗЭ, которые должны быть чистыми по определяемым примесям. Концентрат с добавками РЗЭ нагревают на электроплитке до полного растворения и упаривают до влажных солей. Влажные соли растворяют в 10 см 1 моль/дм
соляной кислоты и раствор фильтруют через фильтр с синей лентой, собирая фильтрат в стакан вместимостью 50 см
. Фильтр промывают 10 см
дистиллированной воды, промывной раствор собирают в стакан с фильтратом. Растворы перемешивают, нагревают до кипения и добавляют 10 см
горячего насыщенного раствора щавелевой кислоты. Раствор с осадком выдерживают при комнатной температуре 24 ч. Осадок отфильтровывают, промывают 1%-ным раствором щавелевой кислоты, переносят в фарфоровый тигель, подсушивают на электроплитке и прокаливают 1 ч в муфельной печи при температуре 900 °С. Полученную окись, обогащенную определяемыми примесями, подвергают спектральному анализу и находят содержание окисей определяемых элементов по ГОСТ 23862.1-79
.
3.10. Проверка правильности работы хроматографической колонки
Для анализа каждого из редкоземельных металлов или его окиси используют отдельную, специально подготовленную колонку. Параметры колонок приведены в разд.4. ГОСТ 23862.7-79 - ГОСТ 23862.9-79, ГОСТ 23862.18-79.
На каждой из вновь приготовленных хроматографических колонок проводят выделение концентратов редкоземельных примесей из двух проб с добавками определяемых элементов по методике анализа исследуемой основы.
Выделенные концентраты анализируют спектральным методом по ГОСТ 23862.1-79, ГОСТ 23862.8-79, ГОСТ 23862.9-79.
Расхождения между результатами анализа не должны превышать допускаемых расхождений, приведенных в ГОСТ 23862.1-79, ГОСТ 23862.8-79, ГОСТ 23862.9-79. В противном случае сорбент в колонке заменяют. При использовании колонки для последующих анализов сравнивают объемы элюатов до начала появления элемента основы. Различие в величинах этих объемов в разных опытах не должно превышать 5%. Если объем элюата до появления элемента основы сдвигается более чем на 5%, выполняют анализ двух проб с добавками определяемых элементов. Если полученные результаты анализа занижены, сорбент в колонке следует заменить. После десяти разделений проверяют чистоту колонки, пропуская элюаты, составы и объемы которых приведены в методиках анализа исследуемых основ. Элюаты упаривают и анализируют, как концентраты. При наличии определяемых элементов в элюатах, сорбент в колонке промывают раствором 7 моль/дм соляной кислоты объемом, равным 4-5 свободным объемам сорбента и повторяют контрольный опыт.
4. ПРОВЕДЕНИЕ АНАЛИЗА
4.1. Анализ лантана или его окиси
4.1.1. Определение содержания окисей церия, празеодима, неодима, самария, европия, гадолиния, тербия, диспрозия, гольмия, эрбия, тулия, иттербия, лютеция и иттрия
Концентрат примесей РЗЭ получают в экстракционно-хроматографической колонке. Внутренний диаметр колонки 16 мм. Колонка заполнена сорбентом (25 г силикагеля с размером зерна 0,06-0,07 мм+15 см 100%-ной Д2ЭГФК, свободный объем сорбента 40 см
). Заполнение колонки по п.3.6.
Навеску металлического лантана массой 0,85 г или 1 г его окиси помещают в стакан вместимостью 100 см, добавляют 6-8 см
7 моль/дм
соляной кислоты, 0,5 см
пероксида водорода и нагревают до растворения. Раствор упаривают почти досуха, хлориды РЗЭ растворяют в 50 см
0,01 моль/дм
соляной кислоты и пропускают через экстракционно-хроматографическую колонку. Техника работы на экстракционно-хроматографической колонке - по п.3.7. Стакан, в котором растворялась проба, промывают 50 см
0,3 моль/дм
соляной кислоты. Промывной раствор пропускают через колонку. Через колонку пропускают 0,3 моль/дм
соляную кислоту, 180 см
элюата (включая объем пробы и промывного раствора) собирают в мерный цилиндр вместимостью 250 см
(раствор чистого лантана). Элюат собирают в пробирки порциями по 5 см
, в каждой из которых определяют наличие лантана по п.3.8.
Порции элюата, не содержащие лантан, переносят в мерный цилиндр вместимостью 1000 см. Через колонку пропускают 450 см
7 моль/дм
соляной кислоты, собирая элюат в тот же мерный цилиндр. Элюат переносят в испаритель, упаривают до объема 15-20 см
, переносят в стакан вместимостью 50 см
- концентрат редкоземельных примесей. К концентрату примесей РЗЭ добавляют 40 мг окиси иттрия или окиси лантана, подготавливают к спектральному анализу по методике, приведенной в п.3.9, и анализируют полученную окись иттрия или лантана, обогащенную примесями РЗЭ, по ГОСТ 23862.1-79.
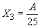
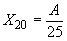
Массовую долю каждой из окисей церия, празеодима, неодима, самария, европия, гадолиния, тербия, диспрозия, гольмия, эрбия, тулия, иттербия, лютеция и иттрия (X) в процентах вычисляют по формуле
,
где - массовая доля окиси определяемого элемента в обогащенной окиси иттрия или лантана, %.
Расхождения результатов двух анализов (отношение большего результата к меньшему) не должны превышать значения допускаемого расхождения, равного 2,1.
4.1.2. Определение массовых долей окисей церия, празеодима, неодима, самария, диспрозия и эрбия
Концентрат примесей РЗЭ получают в экстракционно-хроматографической колонке (размеры колонки приведены в п.4.1.1). Заполнение колонки - по п.3.6.
Навеску металлического лантана массой 0,85 г или 1 г его окиси помещают в стакан вместимостью 100 см, добавляют 6-8 см
7 моль/дм
азотной кислоты и нагревают до растворения. Раствор упаривают досуха. Нитраты РЗЭ растворяют в 50 см
0,01 моль/дм
азотной кислоты и пропускают через экстракционно-хроматографическую колонку. Техника работы на экстракционно-хроматографической колонке по п.3.7. Стакан, в котором растворялась проба, промывают 50 см
0,3 моль/дм
азотной кислоты. Промывной раствор пропускают через колонку, затем через колонку пропускают 0,3 моль/дм
азотную кислоту. Первые 100 см
элюата отбрасывают, далее собирают 100 см
элюата (раствор лантана) в мерный цилиндр и затем собирают элюат в пробирки порциями по 5 см
, в каждой из которых определяют наличие лантана по п.3.8.
Порции элюата, не содержащие лантан, переносят в мерный цилиндр вместимостью 250 см. Через колонку пропускают 150 см
7 моль/дм
азотной кислоты, собирая элюат в тот же мерный цилиндр. Элюат переносят в испаритель, упаривают до объема 15-20 см
и переносят в тигель (концентрат редкоземельных примесей). К концентрату примесей РЗЭ добавляют 30 мг окиси иттрия, упаривают досуха на электроплитке, прокаливают в муфельной печи при температуре 900 °С в течение 1 ч. Полученную окись иттрия, обогащенную определяемыми примесями РЗЭ, подвергают спектральному анализу по п.4.16.
Расхождения результатов двух анализов (отношение большего результата к меньшему) не должны превышать для окисей церия, празеодима, неодима, самария, диспрозия значения допускаемого расхождения, равного 2,2 для окиси эрбия значения - 3.
(Введен дополнительно, И
зм. N 1).
4.2. Анализ церия или его двуокиси
Определение содержания окисей лантана, празеодима, неодима, самария, европия, гадолиния, тербия, диспрозия, гольмия, эрбия, тулия, иттербия, лютеция и иттрия
Концентрат примесей РЗЭ получают в экстракционно-хроматографической колонке. Внутренний диаметр колонки 29 мм. Колонка заполнена сорбентом (42 г силикагеля с размером зерна 0,1 мм+25 см ТБФ, свободный объем сорбента 60 см
). Заполнение колонки см. п.3.6.
Навеску металлического церия массой 1,62 г помещают в стакан вместимостью 100 см, добавляют 30 см
15 моль/дм
азотной кислоты и нагревают до полного растворения пробы.
Навеску двуокиси церия массой 2 г помещают в стакан вместимостью 100 см, смачивают несколькими каплями дистиллированной воды, добавляют 5-6 капель фтористоводородной кислоты, 30 см
15 моль/дм
азотной кислоты и растворяют при нагревании.
Раствор пробы упаривают до объема 15 см, охлаждают до комнатной температуры, добавляют 30 см
0,1 моль/дм
раствора бромноватокислого калия в воде и пропускают через колонку, предварительно промытую 100 см
0,1 моль/дм
раствора бромноватокислого калия в 7 моль/дм
азотной кислоте. Техника работы на хроматографической колонке по п.3.7.
Выделение концентрата примесей РЗЭ проводят при комнатной температуре. Стакан, в котором растворялась проба, промывают 10 см 0,1 моль/дм
раствора бромноватокислого калия в 3,5 моль/дм
азотной кислоте. Промывной раствор пропускают через колонку. Элюат собирают в мерный цилиндр вместимостью 250 см
. Через колонку пропускают 70 см
0,1 моль/дм
раствора бромноватокислого калия в 3,5 моль/дм
азотной кислоте, собирая элюат в тот же цилиндр. Собирают 120 см
элюата (включая объем пробы и промывного раствора). Элюат упаривают в испарителе до объема 20 см
, переносят в стакан вместимостью 100 см
(концентрат примесей РЗЭ). Через колонку пропускают 100 см
1 моль/дм
соляной кислоты, 100 см
раствора аскорбиновой кислоты и 100 см
7 моль/дм
соляной кислоты. Элюаты собирают в стакан вместимостью 500 см
(раствор чистого церия). Через колонку пропускают 100 см
0,1 моль/дм
соляной кислоты. Элюат отбрасывают. К концентрату РЗЭ добавляют 40 мг окиси иттрия или двуокиси церия и нагревают до растворения. Раствор упаривают до объема 2 см
, разбавляют водой до 25 см
и нейтрализуют концентрированным аммиаком. После появления осадка добавляют избыток аммиака 0,5 см
. Раствор с осадком нагревают до кипения и фильтруют через фильтр с белой лентой. Осадок на фильтре промывают два раза 5%-ным раствором аммиака, растворяют в 15 см
0,5 моль/дм
соляной кислоты и подготавливают к спектральному анализу по методике, приведенной в п.3.9. Полученную окись иттрия или двуокись церия, обогащенную примесями РЗЭ, анализируют по ГОСТ 23862.1-79.
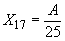
Массовые доли окисей лантана, празеодима, неодима, самария, европия, гадолиния, тербия, диспрозия, гольмия, эрбия, тулия, иттербия, лютеция и иттрия () в процентах вычисляют по формуле
,
где - массовая доля окиси определяемого элемента в обогащенной окиси иттрия или двуокиси церия, %.
Расхождения результатов двух анализов (отношение большего результата к меньшему) не должны превышать значения допускаемого расхождения, равного 2,1.
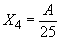
4.3. Анализ неодима или его окиси
Определение содержания окисей лантана, церия, самария, европия, гадолиния, тербия, диспрозия, гольмия, эрбия, тулия, иттербия, лютеция и иттрия
Концентраты примесей получают в экстракционно-хроматографической колонке. Внутренний диаметр колонки - 30 мм. Колонка заполнена сорбентом (130 г силикагеля с размером зерна 0,06-0,07 мм+80 см 100%-ной Д2ЭГФК, свободный объем сорбента 215 см
). Заполнение колонки см. п.3.6.
Навеску металлического неодима массой 0,86 г или 1 г его окиси помещают в стакан вместимостью 50 см, добавляют 6-8 см
7 моль/дм
соляной кислоты, 0,5 см
пероксида водорода нагревают до полного растворения и упаривают досуха. Хлориды РЗЭ растворяют в 30 см
0,1 моль/дм
соляной кислоты и пропускают через колонку. Техника работы на экстракционно-хроматографической колонке по п.3.7.
Стакан, в котором растворялась проба, промывают 30 см 0,1 моль/дм
соляной кислоты. Промывной раствор пропускают через колонку. Затем через колонку пропускают 600 см
0,4 моль/дм
соляной кислоты. Первые 100 см
элюата, включая объемы раствора пробы и промывного раствора, отбрасывают, следующие 360 см
элюата собирают в мерный цилиндр вместимостью 500 см
. Далее элюат собирают порциями по 10 см
, в каждой из которых определяют наличие неодима (см. п.3.8). Порции элюата, не содержащие неодим, добавляют к элюату в мерном цилиндре и упаривают в испарителе до объема 15-20 см
(концентрат I). После того, как в элюате будет обнаружен неодим, через колонку пропускают 1 моль/дм
соляную кислоту. 200 см
элюата собирают в стакан вместимостью 250 см
(раствор чистого неодима). Элюат собирают порциями по 10 см
, в каждой из которых определяют наличие неодима (по п.3.8). Порции элюата, не содержащие неодим, переносят в испаритель и далее упаривают вместе с последующими порциями элюата. Последующие порции элюата получают, пропуская через колонку 2400 см
7 моль/дм
соляной кислоты. Элюат упаривают в испарителе до объема 15-20 см
(концентрат II).
В концентрате I определяют содержание окисей лантана и церия, в концентрате II - окисей самария, европия, гадолиния, тербия, диспрозия, гольмия, эрбия, тулия, иттербия, лютеция и иттрия.
В концентрат I вносят 20 мг окиси иттрия или окиси неодима, а в концентрат II - 40 мг окиси неодима и подготавливают к спектральному анализу по методике, приведенной в п.3.9. Полученные окиси иттрия и неодима, обогащенные РЗ примесями, подвергают спектральному анализу по ГОСТ 23862.1-79.
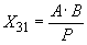
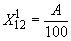
Массовую долю окиси лантана () в процентах вычисляют по формуле
,
где - массовая доля окиси лантана в обогащенной окиси иттрия или окиси неодима, %.
Массовую долю двуокиси церия () в процентах вычисляют по формуле
,
где - массовая доля двуокиси церия в обогащенной окиси иттрия или обогащенной окиси неодима, %.
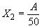
Массовую долю самария, европия, гадолиния, тербия, диспрозия, гольмия, эрбия, тулия, иттербия, лютеция и иттрия () в процентах вычисляют по формуле
,
где - массовая доля окиси определяемого элемента в обогащенной окиси неодима, %.
Допускается определение примесей только окисей лантана, церия, самария, европия, гадолиния, тербия, диспрозия, гольмия, эрбия и иттрия. Для этого выделяют концентрат I и затем, после выделения неодима 1 моль/дм соляной кислотой (см. выше), получают концентрат II
, пропуская через колонку 500 см
7 моль/дм
соляной кислоты. Концентрат II
, содержащий самарий, европий, гадолиний, тербий, диспрозий, гольмий, эрбий и иттрий, подготавливают к спектральному анализу и анализируют так же, как концентрат II.
Расхождения результатов двух анализов (отношение большего результата к меньшему) не должны превышать значения допускаемого расхождения, равного 2,1.
4.4. Анализ самария или его окиси
Определение содержания окисей лантана, церия, празеодима, неодима, европия, гадолиния, тербия, диспрозия, гольмия, эрбия, тулия, иттербия, лютеция и иттрия
Концентрат примесей РЗЭ получают в экстракционно-хроматографической колонке. Внутренний диаметр колонки - 30 мм. Колонка заполнена сорбентом (115 г силикагеля с размером зерна 0,06-0,07 мм+70 см 100%-ной Д2ЭГФК, свободный объем сорбента 187 см
). Заполнение колонки по п.3.6.
Навеску металлического самария массой 0,86 г или 1 г его окиси помещают в стакан вместимостью 50 см, добавляют 6-8 см
7 моль/дм
соляной кислоты, 0,5 см
пероксида водорода и нагревают до полного растворения. Раствор упаривают до влажных солей, которые растворяют в 30 см
0,5 моль/дм
соляной кислоты. Раствор пропускают через экстракционно-хроматографическую колонку. Техника работы на колонке по п.3.7.
Стакан, в котором растворялась проба, промывают 30 см 0,5 моль/дм
соляной кислоты. Промывной раствор пропускают через экстракционно-хроматографическую колонку. Затем через колонку пропускают 1 моль/дм
соляную кислоту. Первые 80 см
элюата, включая объем раствора анализируемой пробы и промывного раствора, отбрасывают, следующие 70 см
элюата собирают в мерный цилиндр вместимостью 200 см
. Затем элюат собирают в пробирки порциями по 10 см
, в каждой из которых определяют наличие самария (см. п.3.8). Порции элюата, не содержащие самарий, добавляют к элюату в цилиндре и упаривают в испарителе до объема 15-20 см
, переносят в стакан вместимостью 50 см
(концентрат I). После того, как в порции элюата будет обнаружен самарий, следующие 100 см
элюата собирают в стакан - раствор чистого самария. Затем элюат собирают в пробирки порциями по 10 см
, в каждой из которых определяют наличие самария (по п.3.8). Порции элюата, не содержащие самарий, переносят в испаритель и в дальнейшем упаривают вместе с последующими порциями элюата. Последующие порции элюата получают, пропуская через колонку 2000 см
7 моль/дм
соляной кислоты. Элюат упаривают в испарителе до объема 15-20 см
и раствор переносят в стакан вместимостью 50 см
(концентрат II).
В концентрате I определяют содержание окисей лантана, церия, празеодима, неодима;
в концентрате II - окисей европия, гадолиния, тербия, диспрозия, гольмия, эрбия, тулия, иттербия, лютеция и иттрия.
К концентрату I добавляют 20 мг окиси иттрия или окиси самария, к концентрату II добавляют 40 мг окиси самария, нагревают до растворения и подготавливают к спектральному анализу (см. п.3.9). Полученные окиси иттрия и самария, обогащенные примесями РЗЭ, подвергают спектральному анализу по ГОСТ 23862.1-79.
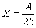
Массовую долю окисей лантана, церия, празеодима и неодима () в процентах вычисляют по формуле
,
где - массовая доля окиси определяемого элемента в обогащенной окиси иттрия или окиси самария, %.
Массовую долю окисей европия, гадолиния, тербия, диспрозия, гольмия, эрбия, тулия, иттербия, лютеция и иттрия () в процентах вычисляют по формуле
,
где - массовая доля окиси определяемого элемента в обогащенной окиси самария, %.
Допускается определение примесей только окисей лантана, церия, празеодима, неодима, европия, гадолиния. Для этого выделяют концентрат I и затем после выделения самария 1 моль/дм соляной кислотой (см. выше) получают концентрат II
, пропуская через колонку 300 см
7 моль/дм
соляной кислоты. Концентрат II
, содержащий европий и гадолиний, подготавливают к спектральному анализу и анализируют так же, как концентрат II.
Расхождения результатов двух анализов (отношение большего результата к меньшему) не должны превышать значения допускаемого расхождения, равного 2,1.
4.5. Анализ европия или его окиси
Определение содержания окисей лантана, церия, празеодима, неодима, самария, гадолиния, тербия, диспрозия, гольмия, эрбия, тулия, иттербия, лютеция и иттрия
Концентраты примесей РЗЭ получают в экстракционно-хроматографической колонке диаметром 33 мм, заполненной сорбентом (150 г силикагеля с размером зерна 0,06-0,07 мм+90 см 100%-ной Д2ЭГФК, свободный объем сорбента 240 см
). Заполнение колонки по п.3.6.
Навеску металлического европия массой 0,86 г или 1 г окиси европия помещают в стакан вместимостью 50 см, добавляют 6-10 см
7 моль/дм
соляной кислоты, 0,5 см
пероксида водорода и нагревают до полного растворения. Раствор упаривают почти досуха, растворяют в 30 см
0,8 моль/дм
соляной кислоты и пропускают через колонку. Техника работы на экстракционно-хроматографической колонке по п.3.7.
Стакан, в котором растворялась проба, промывают 30 см 0,8 моль/дм
соляной кислоты. Промывной раствор пропускают через колонку. Далее через колонку пропускают 1 моль/дм
соляную кислоту. Первые 150 см
элюата, включая объем раствора пробы и промывного раствора, отбрасывают, следующие 300 см
элюата собирают в мерный цилиндр вместимостью 500 см
. Затем элюат собирают в пробирки порциями по 10 см
, в каждой из которых определяют наличие европия (см. п.3.8). Порции элюата, не содержащие европий, добавляют к основной порции элюата в мерном цилиндре и упаривают в испарителе до объема 15-20 см
, раствор переносят в стакан вместимостью 50 см
(концентрат I), 250 см
элюата собирают в стакан вместимостью 500 см
(раствор чистого европия). Элюат собирают в пробирки порциями по 10 см
, в каждой из которых определяют наличие европия (см. п.3.8).
Порции элюата, не содержащие европия, переносят в испаритель и в дальнейшем упаривают вместе с последующими порциями элюата. Последующие порции элюата получают, пропуская через колонку 2600 см 7 моль/дм
соляной кислоты. Элюат упаривают в испарителе до объема 15-20 см
и переносят в стакан вместимостью 50 см
(концентрат II).
В концентрате I определяют содержание окисей лантана, церия, празеодима, неодима, самария;
в концентрате II - окисей гадолиния, тербия, диспрозия, гольмия, эрбия, тулия, иттербия, лютеция и иттрия.
В концентрат I добавляют 20 мг окиси иттрия или окиси европия; в концентрат II добавляют 20 мг окиси европия, нагревают до полного растворения и подготавливают к спектральному анализу по методике, приведенной в п.3.9. Полученные окиси иттрия и европия, обогащенные определяемыми примесями, подвергают спектральному анализу по ГОСТ 23862.1-79.
Массовую долю окисей лантана, церия, празеодима, неодима () в процентах вычисляют по формуле
,
где - массовая доля окиси определяемого элемента в обогащенной окиси иттрия или окиси европия, %.
Массовую долю окиси самария () в процентах вычисляют по формуле
,
где - массовая доля окиси самария в обогащенной окиси иттрия, или окиси европия, %.
Массовую долю окиси гадолиния () в процентах вычисляют по формуле
,
где - массовая доля окиси гадолиния в обогащенной окиси европия, %.
Массовую долю окисей тербия, диспрозия, гольмия, эрбия, тулия, иттербия, лютеция и иттрия () в процентах вычисляют по формуле
,
где - массовая доля окисей определяемых элементов в обогащенной окиси европия, %.
Допускается определение примесей только окисей лантана, церия, празеодима, неодима, самария, гадолиния. Для этого выделяют концентрат I и затем после выделения европия 1 моль/дм соляной кислотой (см. выше) получают концентрат II
, пропуская через колонку 300 см
7 моль/дм
соляной кислоты. Концентрат II
, содержащий гадолиний, подготавливают к спектральному анализу и анализируют так же, как концентрат II.
Расхождения результатов двух анализов (отношение большего результата к меньшему) не должны превышать значения допускаемого расхождения, равного 2,1.
4.3-4.5. (Измененная редакция, Изм. N 1).
4.6. Анализ гадолиния или его окиси
4.6.1. Определение содержания окисей лантана, церия, празеодима, неодима, самария, тербия, диспрозия, гольмия, эрбия, тулия, иттербия, лютеция и иттрия.
Концентраты примесей РЗЭ получают в хроматографической колонке диаметром 33 мм, заполненной сорбентом (150 г силикагеля с размером зерна 0,06-0,07 мм+90 см100%-ной Д2ЭГФК, свободный объем сорбента 240 см
). Заполнение колонки по п.3.6.
Навеску металлического гадолиния массой 0,87 г или 1 г его окиси помещают в стакан вместимостью 50 см, добавляют 6-10 см
7 моль/дм
соляной кислоты, 0,5 см
пероксида водорода и нагревают до полного растворения. Раствор упаривают досуха, хлориды РЗЭ растворяют в 30 см
0,8 моль/дм
соляной кислоты и пропускают через экстракционно-хроматографическую колонку. Техника работы на колонке по п.3.7.
Стакан, в котором растворялась проба, промывают 30 см 0,8 моль/дм
соляной кислоты. Промывной раствор пропускают через колонку. Через колонку пропускают 1 моль/дм
соляную кислоту. Первые 150 см
элюата, включая объем раствора пробы и промывного раствора, отбрасывают, следующие 200 см
элюата собирают в мерный цилиндр вместимостью 500 см
. Затем элюат собирают порциями по 10 см
, в каждой из которых определяют наличие гадолиния (см. п.3.8). Порции элюата, не содержащие гадолиний, добавляют к основной порции элюата в мерном цилиндре, упаривают в испарителе до объема 15-20 см
, раствор переносят в стакан вместимостью 50 см
(концентрат I). Через колонку пропускают 2,5 моль/дм
соляную кислоту. 200 см
элюата (раствор чистого гадолиния) собирают в мерный цилиндр вместимостью 500 см
. Далее элюат собирают в пробирки порциями по 10 см
, в каждой из которых определяют наличие гадолиния (см. п.3.8). Порции элюата, не содержащие гадолиний, переносят в испаритель и упаривают вместе с последующими порциями элюата. Последующие порции элюата получают, пропуская через колонку 2600 см
7 моль/дм
соляной кислоты. Элюат упаривают в испарителе до объема 15-20 см
, раствор переносят в стакан вместимостью 50 см
(концентрат II).
В концентрате I определяют содержание окисей лантана, церия, празеодима, неодима, самария;
в концентрате II - окисей тербия, диспрозия, гольмия, эрбия, тулия, иттербия, лютеция и иттрия.
В концентрат I добавляют 20 мг окиси иттрия или окиси гадолиния, в концентрат II - 20 мг окиси гадолиния - нагревают до растворения и подготавливают к спектральному анализу по методике, приведенной в п.3.9. Полученные окиси иттрия и гадолиния, обогащенные определяемыми примесями, подвергают спектральному анализу по ГОСТ 23862.1-79.
Массовую долю окисей лантана, церия, празеодима, неодима, самария () в процентах вычисляют по формуле
,
где - массовая доля окиси определяемого элемента в обогащенной окиси иттрия или окиси гадолиния, %.
Массовую долю окисей тербия, диспрозия, гольмия, эрбия, тулия, иттербия, лютеция и иттрия () в процентах вычисляют по формуле
,
где - массовая доля окиси определяемого элемента в обогащенной окиси гадолиния, %.
Допускается определение примесей только окисей лантана, церия, празеодима, неодима, самария. Для этого выделяют концентрат I, как указано выше, далее после появления в элюате гадолиния через колонку пропускают 300 см 7 моль/дм
соляной кислоты. Элюат отбрасывают. Концентрат I анализируют, как указано выше.
Допускается определение примесей только окисей лантана, церия, празеодима, неодима, самария, тербия, диспрозия, гольмия, эрбия, иттрия. Для этого выделяют концентрат I, затем после выделения гадолиния 2,5 моль/дм соляной кислотой (см. выше) получают концентрат II
(окиси тербия, диспрозия, гольмия, эрбия, иттрия), пропуская через колонку 500 см
7 моль/дм
соляной кислоты.
Концентрат II подготавливают к спектральному анализу и анализируют так же, как концентрат II.
Расхождения результатов двух анализов (отношение большего результата к меньшему) не должны превышать значения допускаемого расхождения, равного 2,
1.
4.6.2. Определение массовых долей окисей тербия, диспрозия, гольмия, эрбия, иттрия
Концентрат примесей РЗЭ получают в экстракционно-хроматографической колонке диаметром 22 мм, заполненной сорбентом (50 г силикагеля с размером зерна 0,06-0,07 мм+30 см 100%-ной Д2ЭГФК, свободный объем сорбента 85 см
). Заполнение колонки по п.3.6.
Навеску металлического гадолиния массой 1,74 г или 2 г его окиси помещают в стакан вместимостью 100 см, добавляют 7-8 см
7 моль/дм
соляной кислоты и нагревают до растворения. Раствор упаривают досуха, хлориды РЗЭ растворяют в 30 см
1,3 моль/дм
соляной кислоты и раствор пропускают через экстракционно-хроматографическую колонку. Техника работы на колонке по п.3.7.
Стакан, в котором растворялась проба, промывают 30 см 1,7 моль/дм
соляной кислоты. Промывной раствор пропускают через колонку.
Далее через колонку пропускают 1,7 моль/дм соляную кислоту. Первые 80 см
элюата, включая объем раствора пробы и промывного раствора, отбрасывают, следующие 100 см
элюата (раствор чистого гадолиния) собирают в мерный цилиндр вместимостью 200-300 см
. Затем элюат собирают в пробирки порциями по 5 см
, в каждой из которых определяют наличие гадолиния (см. п.3.8). Две первые (в порядке отбора) порции элюата, не содержащие гадолиний, отбрасывают, остальные упаривают вместе с последующими порциями элюата. Последующие порции элюата получают, пропуская через колонку 300 см
7 моль/дм
соляной кислоты. Элюат упаривают в испарителе до объема 15-20 см
и переносят в стакан вместимостью 50 см
(концентрат I
).
В концентрат I добавляют 20 мг окиси лютеция, нагревают до растворения и подготавливают к спектральному анализу по методике, приведенной в п.3.9. Полученную окись лютеция, обогащенную определяемыми примесями (тербием, диспрозием, гольмием, иттрием), подвергают спектральному анализу по ГОСТ 23862.1-79.
Массовую долю окисей тербия, диспрозия, гольмия и иттрия () в процентах вычисляют по формуле
,
где - массовая доля окиси определяемого элемента в обогащенной окиси лютеция, %.
Расхождения результатов двух анализов (отношение большего результата к меньшему) не должны превышать значения допускаемого расхождения, равного 2,2.
4.6.3. Определение массовых долей окисей гольмия, иттрия, эрбия
Концентрат примесей РЗЭ получают в экстракционно-хроматографической колонке диаметром 14 мм, заполненной сорбентом (10 г силикагеля с размером зерна 0,10 мм+6 см 100%-ной Д2ЭГФК, свободный объем сорбента 20 см
). Заполнение колонки по п.3.6.
Навеску металлического гадолиния массой 0,87 г или 1 г его окиси помещают в стакан вместимостью 50 см, добавляют 6-8 см
7 моль/дм
азотной кислоты и нагревают до полного растворения. Раствор упаривают досуха, нитраты растворяют в 10 см
2 моль/дм
азотной кислоты и пропускают через экстракционно-хроматографическую колонку. Техника работы на экстракционно-хроматографической колонке по п.3.7.
Стакан, в котором растворялась проба, промывают 10 см 2 моль/дм
азотной кислоты. Промывной раствор пропускают через колонку. Далее через колонку пропускают 50 см
2 моль/дм
азотной кислоты. Первые 20 см
элюата отбрасывают, следующие 30 см
(раствор чистого гадолиния) собирают в мерный цилиндр. Затем элюат собирают в пробирки порциями по 5 см
, в каждой из которых определяют наличие гадолиния (см. п.3.8). Порции элюата, не содержащие гадолиний, присоединяют к последующим порциям. Последующие порции элюата получают, пропуская через колонку 50 см
7 моль/дм
азотной кислоты. Элюат упаривают в испарителе до объема 15-20 см
, раствор переносят в кварцевый тигель вместимостью 30 см
(концентрат I). В концентрат I добавляют 25 мг окиси гадолиния, нагревают до растворения, упаривают досуха на электроплитке, затем прокаливают 1 ч в муфельной печи при температуре 900 °С.
Полученную окись гадолиния, обогащенную определяемыми примесями, подвергают спектральному анализу по п.4.16.
Расхождения результатов двух анализов (отношение большего результата к меньшему) не должны превышать значения допускаемого расхождения,
равного 2,0.
4.6.1-4.6.3. (Введены дополнительно, Изм. N 1).
4.7. Анализ тербия или его окиси
Определение содержания окисей лантана, церия, празеодима, неодима, самария, европия, гадолиния, диспрозия, гольмия, эрбия, тулия, иттербия, лютеция и иттрия
Концентраты примесей РЗЭ получают в экстракционно-хроматографической колонке диаметром 25 мм, заполненной сорбентом (75 г силикагеля с размером зерна 0,06-0,07 мм+50 см 100%-ной Д2ЭГФК, свободный объем сорбента 135 см
). Заполнение колонки по п.3.6.
Навеску металлического тербия массой 0,85 г или 1 г его окиси помещают в стакан вместимостью 50 см, добавляют 6-10 см
концентрированной соляной кислоты и нагревают до полного растворения. Раствор упаривают до влажных солей, которые растворяют в 30 см
1 моль/дм
соляной кислоты и пропускают через экстракционно-хроматографическую колонку. Техника работы на колонке по п.3.7.
Стакан, в котором растворялась проба, промывают 30 см 1 моль/дм
соляной кислоты. Промывной раствор пропускают через колонку. Далее колонку промывают 1,2 моль/дм
соляной кислотой. Первые 80 см
элюата, включая объем раствора пробы и промывного раствора, отбрасывают. Следующие 300 см
элюата собирают в мерный цилиндр вместимостью 500 см
. Элюат собирают в пробирки порциями по 10 см
, в каждой из которых определяют наличие тербия (см. п.3.8). Порции элюата, не содержащие тербий, добавляют к основной порции элюата в мерном цилиндре, упаривают в испарителе до объема 15-20 см
и переносят в стакан вместимостью 50 см
(концентрат I). Затем через колонку пропускают 2 моль/дм
соляную кислоту. Первые 60 см
элюата отбрасывают, следующие 300 см
элюата собирают в стакан (раствор чистого тербия), затем элюат собирают в пробирки порциями по 10 см
, в каждой из которых определяют наличие тербия (см. п.3.8). Порции элюата, не содержащие тербий, переносят в испаритель и в дальнейшем упаривают вместе с последующими порциями элюата. Последующие порции элюата получают, пропуская через колонку 1500 см
7 моль/дм
соляной кислоты. Элюат упаривают в испарителе до объема 15-20 см
и переносят в стакан вместимостью 50 см
(концентрат II). В концентрат I добавляют 20 мг окиси иттрия или окиси тербия, в концентрат II - 20 мг окиси тербия, нагревают до полного растворения и подготавливают к спектральному анализу по методике, приведенной в п.3.9. Полученные окиси иттрия и тербия, обогащенные примесями РЗЭ, подвергают спектральному анализу по ГОСТ 23862.1-79.
В концентрате I определяют содержание окисей лантана, церия, празеодима, неодима, самария, европия, гадолиния;
в концентрате II - диспрозия, гольмия, эрбия, тулия, иттербия, лютеция и иттрия.
Массовую долю окисей лантана, церия, празеодима, неодима, самария, европия, гадолиния () в процентах вычисляют по формуле
,
где - массовая доля окиси определяемого элемента в обогащенной окиси иттрия или окиси тербия, %.
Массовую долю окисей диспрозия, гольмия, эрбия, тулия, иттербия, лютеция и иттрия () в процентах вычисляют по формуле
,
где - массовая доля окиси определяемого элемента в обогащенной окиси тербия, %.
Допускается определение примесей только окисей лантана, церия, празеодима, неодима, самария, европия, гадолиния, диспрозия, гольмия, эрбия и иттрия. Для этого выделяют концентрат I и затем после выделения тербия 2 моль/дм соляной кислотой (см. выше) получают концентрат II
, пропуская через колонку 300 см
7 моль/дм
соляной кислоты.
Концентрат II, содержащий окиси диспрозия, гольмия, эрбия и иттрия, подготавливают к спектральному анализу и анализируют так же, как концентрат II.
Расхождения результатов двух анализов (отношение большего результата к меньшему) не должны превышать значения допускаемого расхождения, равного 2,1.
4.8. Анализ диспрозия или его окиси
Определение содержания окисей лантана, церия, празеодима, неодима, самария, европия, гадолиния, тербия, гольмия, эрбия, тулия, иттербия, лютеция и иттрия.
Концентраты примесей РЗЭ получают в экстракционно-хроматографической колонке диаметром 33 мм, заполненной сорбентом (150 г силикагеля с размером зерна 0,06-0,07 мм+90 см 100%-ной Д2ЭГФК, свободный объем сорбента 240 см
). Заполнение колонки по п.3.6.
Навеску металлического диспрозия массой 0,87 г или 1 г его окиси помещают в стакан вместимостью 50 см, добавляют 5-6 см
концентрированной соляной кислоты, 0,5 см
пероксида водорода и нагревают до полного растворения. Раствор упаривают до влажных солей, которые растворяют в 30 см
1,1 моль/дм
соляной кислоты и пропускают через экстракционно-хроматографическую колонку. Техника работы на колонке по п.3.7.
Стакан, в котором растворялась проба, промывают 30 см 1,1 моль/дм
соляной кислоты. Промывной раствор пропускают через колонку. Далее через колонку пропускают 1,6 моль/дм
соляной кислоты. Первые 150 см
элюата, включая объем раствора пробы и промывного раствора, отбрасывают, следующие 550 см
элюата собирают в мерный цилиндр вместимостью 1000 см
. Элюат собирают в пробирки порциями по 10 см
, в каждой из которых определяют наличие диспрозия (см. п.3.8). Порции элюата, не содержащие диспрозий, добавляют к основной порции элюата в мерном цилиндре, упаривают в испарителе до объема 15-20 см
и переносят в стакан вместимостью 50 см
(концентрат I). Затем колонку промывают 2,5 моль/дм
соляной кислотой. Первые 600 см
элюата собирают в стакан (раствор чистого диспрозия), далее элюат собирают в пробирки порциями по 10 см
, в каждой из которых определяют наличие диспрозия (см. п.3.8). Порции элюата, не содержащие диспрозий, переносят в испаритель и в дальнейшем упаривают вместе с последующими порциями элюата. Последующие порции элюата получают, пропуская через колонку 2600 см
7 моль/дм
соляной кислоты. Элюат упаривают в испарителе до объема 15-20 см
, переносят в стакан вместимостью 50 см
(концентрат II).
В концентрате I определяют содержание окисей лантана, церия, празеодима, неодима, самария, европия, гадолиния, тербия;
в концентрате II - гольмия, эрбия, тулия, иттербия, лютеция и иттрия.
В концентрат I добавляют 40 мг окиси иттрия или окиси диспрозия, в концентрат II - 20 мг окиси диспрозия - нагревают до полного растворения и подготавливают к спектральному анализу по методике, приведенной в п.3.9. Полученные окиси иттрия и диспрозия, обогащенные примесями РЗЭ, подвергают спектральному анализу по ГОСТ 23862.1-79.
Массовую долю окисей лантана, церия, празеодима, неодима, самария, европия, гадолиния, тербия () в процентах вычисляют по формуле
,
где - массовая доля окиси определяемого элемента в обогащенной окиси иттрия или окиси диспрозия, %.
Массовую долю окисей гольмия, эрбия, тулия, иттербия, лютеция и иттрия () в процентах вычисляют по формуле
,
где - массовая доля окиси определяемого элемента в обогащенной окиси диспрозия, %.
Допускается определение примесей только окисей лантана, церия, празеодима, неодима, самария, европия, гадолиния, тербия, гольмия, эрбия и иттрия. Для этого выделяют концентрат I и затем после выделения диспрозия 2,5 моль/дм соляной кислотой (см. выше) получают концентрат II
, пропуская через колонку 500 см
7 моль/дм
соляной кислоты. Концентрат II
, содержащий окиси гольмия, эрбия и иттрия, подготавливают к спектральному анализу и анализируют так же, как концентрат II.
Расхождения результатов двух анализов (отношение большего результата к меньшему) не должны превышать значения допускаемого расхождения, равного 2,1.
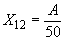
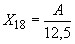
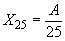
4.9. Анализ гольмия или его окиси
Определение содержания окисей лантана, церия, празеодима, неодима, самария, европия, гадолиния, тербия, диспрозия, эрбия, тулия, иттербия, лютеция и иттрия
Концентраты примесей РЗЭ получают в экстракционно-хроматографической колонке диаметром 33 мм, заполненной сорбентом (150 г силикагеля с размером зерна 0,06-0,07 мм+90 см 100%-ной Д2ЭГФК, свободный объем сорбента 240 см
).
Навеску металлического гольмия массой 0,87 г или 1 г его окиси помещают в стакан вместимостью 50 см, добавляют 5-6 см
7 моль/дм
соляной кислоты, 0,5 см
пероксида водорода и нагревают до полного растворения. Раствор упаривают до влажных солей, которые растворяют в 30 см
1,5 моль/дм
соляной кислоты и пропускают через экстракционно-хроматографическую колонку. Техника работы на колонке по п.3.7.
Стакан, в котором растворялась проба, промывают 30 см 1,5 моль/дм
соляной кислоты. Промывной раствор пропускают через колонку. Колонку промывают 2 моль/дм
соляной кислотой. Первые 150 см
элюата, включая объем раствора пробы и промывного раствора, отбрасывают, следующие 500 см
собирают в мерный цилиндр вместимостью 1000 см
. Далее элюат собирают в пробирки порциями по 10 см
, в каждой из которых определяют наличие гольмия (см. п.3.8). Порции элюата, не содержащие гольмий, добавляют к основной порции элюата в мерном цилиндре, упаривают в испарителе до объема 15-20 см
и переносят в стакан вместимостью 50 см
(концентрат I). Затем через колонку пропускают 3 моль/дм
соляную кислоту. Первые 250 см
элюата собирают в стакан (раствор чистого гольмия), далее элюат собирают в пробирки порциями по 10 см
, в каждой из которых определяют наличие гольмия (см. п.3.8). Порции элюата, не содержащие гольмий, переносят в испаритель и в дальнейшем упаривают вместе с последующими порциями элюата. Последующие порции элюата получают, пропуская через колонку 2600 см
7 моль/дм
соляной кислоты. Элюат упаривают в испарителе до объема 15-20 см
и переносят в стакан вместимостью 50 см
(концентрат II).
В концентрате I определяют содержание окисей лантана, церия, празеодима, неодима, самария, европия, гадолиния, тербия, диспрозия;
в концентрате II - окисей эрбия, тулия, иттербия, лютеция и иттрия.
В концентрат I добавляют 40 мг окиси иттрия или окиси гольмия, в концентрат II - 20 мг окиси гольмия, нагревают до полного растворения и подготавливают к спектральному анализу по методике, приведенной в п.3.9. Полученные окиси иттрия и гольмия, обогащенные примесями РЗЭ, подвергают спектральному анализу по ГОСТ 23862.1-79.
Массовую долю окисей лантана, церия, празеодима, неодима, самария, европия, гадолиния, тербия () в процентах вычисляют по формуле
,
где - массовая доля окиси определяемого элемента в обогащенной окиси иттрия или окиси гольмия, %.
Массовую долю окиси диспрозия () в процентах вычисляют по формуле
,
где - массовая доля окиси определяемого элемента в обогащенной окиси иттрия или окиси гольмия, %.
Массовую долю окисей эрбия, тулия, иттербия, лютеция и иттрия () в процентах вычисляют по формуле
,
где - массовая доля окиси определяемого элемента в обогащенной окиси гольмия, %.
Допускается определение примесей только окисей лантана, церия, празеодима, неодима, самария, европия, гадолиния, тербия, диспрозия, эрбия и иттрия. Для этого выделяют концентрат I и затем после выделения гольмия 3 моль/дм соляной кислотой (см. выше) получают концентрат II
, пропуская через колонку 300 см
7 моль/дм
соляной кислоты. Концентрат II
, содержащий окиси эрбия и иттрия, подготавливают к спектральному анализу и анализируют так же, как концентрат II.
Расхождения результатов двух анализов (отношение большего результата к меньшему) не должны превышать значения допускаемого расхождения, равного 2,1.
4.10. Анализ эрбия или его окиси
Определение содержания окисей лантана, церия, празеодима, неодима, самария, европия, гадолиния, тербия, диспрозия, гольмия, тулия, иттербия, лютеция
Концентраты примесей РЗЭ получают в экстракционно-хроматографической колонке диаметром 33 мм, заполненной сорбентом (150 г силикагеля с размером зерна 0,06-0,07 мм+90 см 100%-ной Д2ЭГФК, свободный объем сорбента 240 см
).
Навеску металлического эрбия массой 0,87 г или 1 г его окиси помещают в стакан вместимостью 50 см, добавляют 5-6 см
7 моль/дм
соляной кислоты, 0,5 см
пероксида водорода и нагревают до полного растворения. Раствор упаривают до влажных солей, которые растворяют в 30 см
2 моль/дм
соляной кислоты и пропускают через экстракционно-хроматографическую колонку. Техника работы на колонке по п.3.7.
Стакан, в котором растворялась проба, промывают 30 см 2,4 моль/дм
соляной кислоты. Промывной раствор пропускают через колонку. Колонку промывают 2,4 моль/дм
соляной кислотой. Первые 150 см
элюата, включая объем раствора пробы и промывного раствора, отбрасывают, следующие 750 см
элюата собирают в мерный цилиндр вместимостью 1000 см
. Элюат собирают в пробирки порциями по 10 см
, в каждой из которых определяют наличие эрбия (см. п.3.8). Порции элюата, не содержащие эрбий, добавляют к основной порции элюата в мерном цилиндре, упаривают в испарителе до объема 15-20 см
и переносят в стакан вместимостью 50 см
(концентрат I). Через колонку пропускают 4,4 моль/дм
соляную кислоту. 350 см
элюата собирают в стакан (раствор чистого эрбия), далее элюат собирают в пробирки порциями по 10 см
, в каждой из которых определяют наличие эрбия (см. п.3.8). Порции элюата, не содержащие эрбий, переносят в испаритель и в дальнейшем упаривают вместе с последующими порциями элюата. Последующие порции элюата получают, пропуская через колонку 2600 см
7 моль/дм
соляной кислоты. Элюат упаривают в испарителе до объема 15-20 см
и переносят в стакан вместимостью 50 см
(концентрат II).
В концентрате I определяют содержание окисей лантана, церия, празеодима, неодима, самария, европия, гадолиния, тербия, диспрозия, гольмия;
в концентрате II - тулия, иттербия, лютеция.
В концентрат I добавляют 40 мг окиси иттрия или окиси эрбия, в концентрат II - 20 мг окиси эрбия, нагревают до полного растворения и подготавливают к спектральному анализу по методике, приведенной в п.3.9.
Полученные окиси иттрия и эрбия, обогащенные примесями РЗЭ, подвергают спектральному анализу по ГОСТ 23862.1-79.
Массовую долю окисей лантана, церия, празеодима, неодима, самария, европия, гадолиния, тербия, диспрозия () в процентах вычисляют по формуле
,
где - массовая доля окиси определяемого элемента в обогащенной окиси иттрия или окиси эрбия, %.
Массовую долю окиси гольмия () в процентах вычисляют по формуле
,
где - массовая доля окиси гольмия в обогащенной окиси иттрия или окиси эрбия, %.
Массовую долю окисей тулия, иттербия, лютеция () в процентах вычисляют по формуле
,
где - массовая доля окиси определяемого элемента в обогащенной окиси эрбия, %.
Расхождения результатов двух анализов (отношение большего результата к меньшему) не должны превышать значения допускаемого расхождения, равного 2,1.
4.11. Анализ тулия или его окиси
Определение содержания окисей лантана, церия, празеодима, неодима, самария, европия, гадолиния, тербия, диспрозия, гольмия, эрбия, иттербия, лютеция и иттрия
Концентраты примесей РЗЭ получают в экстракционно-хроматографической колонке диаметром 33 мм, заполненной сорбентом (150 г силикагеля с размером зерна 0,06-0,07 мм+96 см 100%-ной Д2ЭГФК, свободный объем сорбента 250 см
). Заполнение колонки по п.3.6.
Навеску металлического тулия массой 0,88 г или 1 г его окиси помещают в стакан вместимостью 50 см, добавляют 5-6 см
7 моль/дм
соляной кислоты, 0,5 см
пероксида водорода и нагревают до полного растворения. Раствор упаривают до влажных солей, которые растворяют в 30 см
1 моль/дм
соляной кислоты и пропускают через экстракционно-хроматографическую колонку. Техника работы на колонке по п.3.7.
Стакан, в котором растворялась проба, промывают 30 см 3,5 моль/дм
соляной кислоты. Промывной раствор пропускают через колонку. Далее колонку промывают 3,5 моль/дм
соляной кислотой. Первые 150 см
элюата, включая объем раствора пробы и промывного раствора, отбрасывают, следующие 800 см
собирают в мерный цилиндр вместимостью 1000 см
. Далее элюат собирают в пробирки порциями по 10 см
, в каждой из которых определяют наличие тулия (см. п.3.8). Порции элюата, не содержащие тулий, добавляют к основной порции элюата в мерном цилиндре, упаривают в испарителе до объема 15-20 см
и переносят в стакан вместимостью 50 см
(концентрат I). Затем через колонку пропускают 5 моль/дм
соляную кислоту. Первые 450 см
элюата собирают в стакан (раствор чистого тулия), далее элюат собирают в пробирки порциями по 10 см
, в каждой из которых определяют наличие тулия (см. п.3.8). Порции элюата, не содержащие тулий, переносят в испаритель и в дальнейшем упаривают вместе с последующими порциями элюата. Последующие порции элюата получают, пропуская через колонку 2600 см
7 моль/дм
соляной кислоты. Элюат упаривают в испарителе до объема 15-20 см
и переносят в стакан вместимостью 50 см
(концентрат II).
В концентрате I определяют содержание окисей лантана, церия, празеодима, неодима, самария, европия, гадолиния, тербия, диспрозия, гольмия, эрбия и иттрия;
в концентрате II - иттербия, лютеция.
В концентрат I добавляют 40 мг окиси иттрия или окиси тулия, в концентрат II - 20 мг окиси тулия, нагревают до полного растворения и подготавливают к спектральному анализу по методике, приведенной в п.3.9. Полученные окиси иттрия и тулия, обогащенные примесями РЗЭ, подвергают спектральному анализу по ГОСТ 23862.1-79.
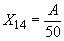
Массовую долю окисей лантана, церия, празеодима, неодима, самария, европия, гадолиния, тербия, диспрозия, гольмия, эрбия и иттрия () в процентах вычисляют по формуле
,
где - массовая доля окиси определяемого элемента в обогащенной окиси иттрия или окиси тулия, %.
Массовую долю окисей иттербия, лютеция () в процентах вычисляют по формуле
,
где - массовая доля окиси определяемого элемента в обогащенной окиси тулия, %.
Расхождения результатов двух анализов (отношение большего результата к меньшему) не должны превышать значения допускаемого расхождения, равного 2,1.
4.7-4.11. (Измененная редакция, Изм. N 1).
4.12. Анализ иттербия или его окиси
Определение содержания окисей лантана, церия, празеодима, неодима, самария, европия, гадолиния, тербия, диспрозия, гольмия, эрбия, тулия, лютеция и иттрия
Концентраты примесей РЗЭ получают в экстракционно-хроматографической колонке диаметром 33 мм, заполненной сорбентом (140 г силикагеля с размером зерна 0,06-0,07 мм+90 см 100%-ной Д2ЭГФК, свободный объем сорбента 240 см
). Заполнение колонки по п.3.6.
Навеску металлического иттербия массой 0,88 г или 1 г его окиси помещают в стакан вместимостью 50 см, добавляют 5-6 см
7 моль/дм
соляной кислоты, 0,5 см
пероксида водорода, нагревают до полного растворения. Раствор упаривают до влажных солей, которые растворяют в 30 см
4 моль/дм
соляной кислоты и пропускают через экстракционно-хроматографическую колонку. Техника работы на колонке по п.3.7.
Стакан, в котором растворялась проба, промывают 30 см 5 моль/дм
соляной кислоты. Промывной раствор пропускают через колонку. Далее колонку промывают 5 моль/дм
соляной кислоты. Первые 150 см
элюата, включая объем раствора пробы и промывного раствора, отбрасывают, следующие 650 см
элюата собирают в мерный цилиндр вместимостью 1000 см
. Далее элюат собирают в пробирки порциями по 10 см
, в каждой из которых определяют наличие иттербия (см. п.3.8). Порции элюата, не содержащие иттербий, добавляют к основной порции элюата в мерном цилиндре, упаривают в испарителе до объема 15-20 см
и переносят в стакан вместимостью 50 см
(концентрат I). Затем через колонку пропускают 7 моль/дм
соляную кислоту. Первые 600 см
элюата собирают в стакан (раствор чистого иттербия), далее элюат собирают в пробирки порциями по 10 см
, в каждой из которых определяют наличие иттербия (см. п.3.8). Порции элюата, не содержащие иттербий, переносят в испаритель и в дальнейшем упаривают вместе с последующими порциями элюата. Последующие порции элюата получают, пропуская через колонку 1600 см
7 моль/дм
соляной кислоты. Элюат упаривают в испарителе до объема 15-20 см
и переносят в стакан вместимостью 50 см
(концентрат II).
В концентрате I определяют содержание окисей лантана, церия, празеодима, неодима, самария, европия, гадолиния, тербия, диспрозия, гольмия, эрбия, тулия и иттрия;
в концентрате II - окиси лютеция.
В концентрат I добавляют 40 мг окиси иттрия или окиси иттербия, в концентрат II - 20 мг окиси иттербия, нагревают до полного растворения и подготавливают к спектральному анализу по методике, приведенной в п.3.9. Полученные окиси иттрия и иттербия, обогащенные примесями РЗЭ, подвергают спектральному анализу по ГОСТ 23862.1-79.
Массовую долю окисей лантана, церия, празеодима, неодима, самария, европия, гадолиния, тербия, диспрозия, гольмия, эрбия и иттрия () в процентах вычисляют по формуле
,
где - массовая доля окиси определяемого элемента в обогащенной окиси иттрия или в окиси иттербия, %.
Массовую долю окиси тулия () в процентах вычисляют по формуле
,
где - массовая доля окиси тулия в обогащенной окиси иттрия или в окиси иттербия, %.
Массовую долю окиси лютеция () в процентах вычисляют по формуле
,
где - массовая доля окиси лютеция в обогащенной окиси иттербия, %.
Расхождение результатов двух анализов (отношение большего результата к меньшему) не должны превышать значения допускаемого расхождения, равного 2,1.
4.13. Анализ лютеция или его окиси
Определение содержания окисей лантана, церия, празеодима, неодима, самария, европия, гадолиния, тербия, диспрозия, гольмия, эрбия, тулия, иттербия и иттрия
Концентрат примесей РЗЭ получают в экстракционно-хроматографической колонке диаметром 42 мм, заполненной сорбентом (280 г силикагеля с размером зерна 0,06-0,07 мм+195 см раствора 100%-ной Д2ЭГФК в толуоле, свободный объем сорбента 520 см
). Заполнение колонки см. п.3.6.
Навеску металлического лютеция массой 0,88 г или 1 г его окиси помещают в стакан вместимостью 50 см, добавляют 5-6 см
7 моль/дм
соляной кислоты, 0,5 см
пероксида водорода и нагревают до полного растворения. Раствор упаривают до влажных солей, которые растворяют в 30 см
5 моль/дм
соляной кислоты и пропускают через экстракционно-хроматографическую колонку. Техника работы на колонке по п.3.7.
Стакан, в котором растворялась проба, промывают 30 см 5 моль/дм
соляной кислоты. Промывной раствор пропускают через колонку. Далее колонку промывают 5 моль/дм
соляной кислотой. Первые 150 см
элюата, включая объем раствора пробы и промывного раствора, отбрасывают. Следующие 1000 см
собирают в мерный цилиндр вместимостью 2000 см
. Далее элюат собирают в пробирки порциями по 10 см
, в каждой из которых определяют наличие лютеция (см. п.3.8). Порции элюата, не содержащие лютеций, добавляют к основной порции элюата в мерном цилиндре, упаривают в испарителе до объема 15-20 см
и переносят в стакан вместимостью 50 см
(концентрат примесей РЗЭ). Затем через колонку пропускают 7 моль/дм
соляную кислоту. Первые 900 см
элюата собирают в стакан (раствор чистого лютеция), далее элюат собирают в пробирки порциями по 10 см
, в каждой из которых определяют наличие лютеция (см. п.3.8). Колонку промывают 7 моль/дм
соляной кислотой до полного удаления лютеция.
В концентрат примесей РЗЭ добавляют 40 мг окиси иттрия или окиси лютеция, нагревают до полного растворения и подготавливают к спектральному анализу по методике, приведенной в п.3.9. Полученные окиси иттрия или лютеция, обогащенные примесями РЗЭ, подвергают спектральному анализу по ГОСТ 23862.1-79.
Массовую долю окисей лантана, церия, празеодима, неодима, самария, европия, гадолиния, тербия, диспрозия, гольмия, эрбия, тулия, иттербия и иттрия () в процентах вычисляют по формуле
,
где - массовая доля окиси определяемого элемента в обогащенной окиси иттрия или окиси лютеция, %.
Расхождения результатов двух анализов (отношение большего результата к меньшему) не должны превышать значения допускаемого расхождения, равного 2,1.
4.14. Анализ иттрия или его окиси
Определение содержания окисей лантана, церия, празеодима, неодима, самария, европия
Концентрат примесей РЗЭ получают в экстракционно-хроматографической колонке диаметром 25 мм, заполненной сорбентом (50 г силикагеля с размером зерна 0,06-0,07 мм+30 см 100%-ной Д2ЭГФК свободный объем сорбента 80 см
). Заполнение колонки см. п.3.6.
Навеску металлического иттрия массой 0,79 г или 1 г его окиси помещают в стакан вместимостью 50 см, добавляют 5-6 см
7 моль/дм
соляной кислоты, 0,5 см
пероксида водорода и нагревают до полного растворения. Раствор упаривают до влажных солей, которые растворяют в 30 см
2,5 моль/дм
соляной кислоты и пропускают через экстракционно-хроматографическую колонку. Техника работы на колонке по п.3.7. Стакан, в котором растворялась проба, промывают 15 см
2,5 моль/дм
соляной кислоты. Далее колонку промывают 2,5 моль/дм
соляной кислотой. 85 см
элюата собирают в мерный цилиндр вместимостью 100 см
. Элюат собирают в пробирки порциями по 10 см
, в каждой из которых определяют наличие иттрия (см. п.3.8). Порции элюата, не содержащие иттрий, добавляют к основной порции элюата в мерном цилиндре, упаривают в испарителе до объема 15-20 см
и переносят в стакан вместимостью 50 см
(концентрат примесей РЗЭ). Затем через колонку пропускают 7 моль/дм
соляную кислоту. 250 см
элюата собирают в стакан (раствор чистого иттрия).
В концентрат примесей РЗЭ добавляют 20 мг окиси иттрия, нагревают до полного растворения и подготавливают к спектральному анализу по п.3.9. Полученную окись иттрия, обогащенную примесями РЗЭ, подвергают спектральному анализу по ГОСТ 23862.1-79.
Массовую долю окисей лантана, церия, празеодима, неодима, самария, европия () в процентах вычисляют по формуле
,
где - массовая доля окиси определяемого элемента в обогащенной окиси иттрия, %.
Расхождения результатов двух анализов (отношение большего результата к меньшему) не должны превышать значения допускаемого расхождения, равного 2,1.
4.15. Анализ иттрия или его окиси
Определение содержания окисей гадолиния, тербия, диспрозия, гольмия, эрбия, тулия, иттербия, лютеция
Концентрат примесей РЗЭ получают в экстракционно-хроматографической колонке диаметром 32 мм, заполненной сорбентом (116 г силикагеля с размером зерна 0,1 мм+70 см ТБФ, свободный объем сорбента 190 см
). Заполнение колонки по п.3.6.
Навеску металлического иттрия массой 0,79 г или 1 г окиси помещают в стакан вместимостью 100 см, добавляют 5-6 см
7 моль/дм
соляной кислоты, 0,5 см
пероксида водорода и нагревают до полного растворения. Раствор упаривают до влажных солей, растворяют в 60 см
0,8 моль/дм
раствора роданистого аммония и пропускают через экстракционно-хроматографическую колонку, предварительно промытую 800 см
дистиллированной воды до рН 4,4 и 300 см
0,8 моль/дм
раствора роданистого аммония. Техника работы на колонке по п.3.7. Выделение концентрата примесей РЗЭ проводят при комнатной температуре.
Стакан, в котором растворялась проба, промывают 60 см 0,8 моль/дм
раствора роданистого аммония. Далее колонку промывают 0,3 моль/дм
раствором роданистого аммония. Первые 400 см
, включая объем раствора пробы и промывного раствора, отбрасывают. Элюат собирают в пробирки порциями по 10 см
, в каждой из которых определяют наличие иттрия (см. п.3.8). Порции элюата, не содержащие иттрий, отбрасывают. 440 см
элюата собирают в стакан (раствор чистого иттрия), затем элюат собирают в пробирки порциями по 10 см
, в каждой из которых определяют наличие иттрия (см. п.3.8). Порции элюата, не содержащие иттрий, переносят в испаритель и в дальнейшем упаривают вместе с последующими порциями элюата. Последующие порции элюата получают, пропуская через колонку 300 см
1 моль/дм
соляной кислоты. Элюат упаривают в испарителе до объема 15-20 см
и переносят в стакан вместимостью 50 см
(концентрат примесей РЗЭ).
В концентрат примесей РЗЭ добавляют 20 мг окиси иттрия, нагревают до полного растворения и подготавливают к спектральному анализу по п.3.9. Полученную окись иттрия, обогащенную примесями РЗЭ, подвергают спектральному анализу по ГОСТ 23862.1-79.
Массовую долю окисей гадолиния, тербия, диспрозия, гольмия, эрбия, тулия, иттербия, лютеция () в процентах вычисляют по формуле
,
где - массовая доля окиси определяемого элемента в обогащенной окиси иттрия, %.
Расхождения результатов двух анализов (отношение большего результата к меньшему) не должны превышать значения допускаемого расхождения, равного 2,1.
4.13-4.15. (Измененная редакция, Изм. N 1).
4.16. Спектральный анализ концентратов РЗЭ, выделенных из окиси лантана (п.4.1.2) и из окиси гадолиния (п.4.6.3)
4.16.1. Приготовление образцов сравнения
Образцы сравнения (ОС) готовят непосредственно перед фотографированием спектров. Для этого образцы на графите порошковом (ОГП) смешивают в соотношении 1:1 со свежепрокаленными окисями иттрия или гадолиния, чистыми по определяемым примесям.
Образцы на графите порошковом (ОГПЛа и ОГПГа) готовят перемешиванием порошкового графита с окисями церия, празеодима, неодима, самария, диспрозия и эрбия (ОГПЛа) - при анализе окиси лантана; с окисями гольмия, эрбия и иттрия (ОГПГа) - при анализе окиси гадолиния.
Для приготовления ОГПЛа1, содержащего по 0,2% окисей церия, празеодима, неодима, самария, диспрозия и эрбия (по массе окисей) в яшмовую ступку помещают 19,76 г порошкового графита и по 0,04 г свежепрокаленных окисей церия, празеодима, неодима, самария, диспрозия и эрбия. Содержимое перемешивают в течение 30 мин, добавляя спирт до кашицеобразного состояния массы. После окончания перемешивания спирт выжигают и перемешивают массу в течение 3 мин.
Образцы ОГПЛа2-ОГПЛа8 готовят последовательным разбавлением соответственно ОГПЛа1, а затем каждого последующего образца порошковым графитом, повторяя каждый раз процедуру перемешивания и выжигания спирта, как описано при приготовлении образца ОГПЛа1.
Массовая доля каждой из определяемых примесей (окисей церия, празеодима, неодима, самария, диспрозия и эрбия) в образцах ОГПЛа1-ОГПЛа8 и вводимые в смесь навески порошкового графита и предыдущего образца указаны в табл.1.
Таблица 1
Обозначение образца | Массовая доля каждой из определяемых примесей в расчете на содержание окисей: церия, празеодима, неодима, самария; диспрозия, эрбия | Масса навески, г | |
порошкового графита | предыдущего образца (в скобках указано его обозначение) | ||
ОГПЛа1 | 2·10 | - | - |
ОГПЛа2 | 1·10 | 10,0 | 10,0 (ОГПЛа1) |
ОГПЛа3 | 5·10 | 10,0 | 10,0 (ОГПЛа2) |
ОГПЛа4 | 2·10 | 12,0 | 8,0 (ОГПЛа3) |
ОГПЛа5 | 1·10 | 10,0 | 10,0 (ОГПЛа4) |
ОГПЛа6 | 5·10 | 10,0 | 10,0 (ОГПЛа5) |
ОГПЛа7 | 2·10 | 12,0 | 8,0 (ОГПЛа6) |
ОГПЛа8 | 1·10 | 6,0 | 6,0 (ОГПЛа7) |
Для приготовления ОГПГа1, содержащего по 0,2% окисей гольмия, эрбия и иттрия (по массе окисей) в яшмовую ступку помещают 19,88 г порошкового графита и по 0,04 г свежепрокаленных окисей гольмия, эрбия и иттрия. Далее образец готовят так же, как ОГПЛа1.
Образцы ОГПГа2-ОГПГа8 готовят последовательным разбавлением ОГПГа1 и затем каждого последующего образца порошковым графитом, повторяя каждый раз процедуру перемешивания со спиртом.
Массовая доля каждой из определяемых примесей (гольмия, эрбия, иттрия) в образцах ОГПГа1-ОГПГа8 и вводимые в смесь навески порошкового графита и предыдущего образца указаны в табл.2.
Таблица 2
Обозначение образца | Массовая доля каждой из определяемых примесей гольмия, эрбия, иттрия в расчете | Масса навески, г | |
порошкового графита | предыдущего образца (в скобках указано его обозначение) | ||
ОГПГа1 | 2·10 | - | - |
ОГПГа2 | 1·10 | 10,0 | 10,0 (ОГПГа1) |
ОГПГа3 | 5·10 | 10,0 | 10,0 (ОГПГа2) |
ОГПГа4 | 2·10 | 12,0 | 8,0 (ОГПГа3) |
ОГПГа5 | 1·10 | 10,0 | 10,0 (ОГПГа4) |
ОГПГа6 | 5·10 | 10,0 | 10,0 (ОГПГа5) |
ОГПГа7 | 2·10 | 12,0 | 8,0 (ОГПГа6) |
ОГПГа8 | 1·10 | 6,0 | 6,0 (ОГПГа7) |
Образцы хранят в пакетах из кальки в эксикаторе.
4.16.2. Проведение спектрального анализа концентратов РЗЭ
15 мг обогащенной определяемыми примесями окиси иттрия, полученной по п.4.1.2, или обогащенной определяемыми примесями окиси гадолиния, полученной по п.4.6.3, смешивают на кальке с 15 мг порошкового графита в течение 1-2 мин. Полученную смесь делят на две равные части и помещают с помощью шпателя и металлического стержня в кратеры двух электродов.
По 15 мг каждого из образцов сравнения ОГП1-ОГП8 смешивают с 15 мг окиси РЗЭ, чистой по определяемым примесям (при анализе лантана - окисью иттрия; при анализе гадолиния - с окисью гадолиния). Полученную смесь (ОС) делят на две равные части и помещают в кратеры двух электродов. Электрод с анализируемой пробой или ОС служит анодом, а верхний электрод, заточенный на конус - катодом. Между электродами зажигают дугу постоянного тока силой 10 А. Время экспозиции от 60 до 120 с (до полного испарения материала). Спектры фотографируют на спектрографе ДФС-13 с решеткой 1200 штр/мм, работающей в первом порядке отражения, с трехлинзовой системой освещения. Ширина щели спектрографа 15 мкм. Спектры каждой пробы и каждого ОС фотографируют на фотопластинке по два раза. При анализе окиси лантана в области длин волн 390-425 нм при анализе окиси гадолиния 310-340 нм. Экспонированные фотопластинки проявляют 3 мин, промывают водой, фиксируют, промывают в проточной воде 15 мин и сушат.
4.16.3. Обработка результатов
В каждой спектрограмме фотометрируют почернения аналитической линии определяемого элемента и линии сравнения
(табл.3) и вычисляют разность почернений
.
Таблица 3
Основа | Определяемый элемент | Длина волны аналитической линии, нм | Длина волны линии сравнения, нм | Диапазон определяемых массовых долей окисей РЗЭ, % |
Окись лантана | Церий | 422,260 | 422,190 | 1·10 |
Празеодим | 422,533 | 422,190 | 1·10 | |
Неодим | 430,357 | 429,840 | 5·10 | |
Самарий | 428,078 | 427,265 | 5·10 | |
Диспрозий | 400,045 | 399,960 | 2·10 | |
Эрбий | 400,797 | 400,600 | 2·10 | |
Окись гадолиния | Гольмий | 339,898 | 340,380 | 1·10 |
Эрбий | 323,059 | 323,070 | 5·10 | |
Иттрий | 321,668 | 321,640 | 2·10 |
По двум параллельным значениям для и
, полученным по двум спектрограммам, снятым для каждого образца, находят среднеарифметическое значение
. По значениям
и
для образцов сравнения строят градуировочный график в координатах (
).
Массовую долю () окиси определяемой примеси в процентах в обогащенной окиси иттрия находят по градуировочному графику по значениям
.
Массовую долю окисей церия, празеодима, неодима, самария, диспрозия и эрбия в пробе окиси лантана () в процентах вычисляют по формуле
,
где - массовая доля окиси определяемого элемента в обогащенной окиси иттрия, %;
- масса пробы лантана, взятая для анализа, г;
- масса прокаленной окиси иттрия, обогащенной определяемыми примесями, г.
Массовую долю () окиси определяемой примеси в процентах в обогащенной окиси гадолиния находят по градуировочному графику по значению
.
Массовую долю окисей гольмия, эрбия и иттрия в окиси гадолиния () в процентах вычисляют по формуле
,
где - массовая доля окиси определяемого элемента в обогащенной окиси гадолиния, %.
Метод II
5. АППАРАТУРА, МАТЕРИАЛЫ И РЕАКТИВЫ
Мешалка магнитная типа ММ-3.
Цинк порошок по ГОСТ 12601-76 марки ПЦ 2.
Кислота соляная по ГОСТ 3118-77, разбавленная 1:1, и 0,25 моль/дм раствор.
Аммиак водный по ГОСТ 3760-79, концентрированный и разбавленный 1:1.
Фильтры "синяя лента".
Аргон газообразный по ГОСТ 10157-79.
Воронка Бюхнера диаметром 60 мм.
Тигли фарфоровые N 4.
Стаканы химические стеклянные вместимостью 100 см.
Цилиндры стеклянные вместимостью 25 см.
Колба для восстановления европия вместимостью 100 см.
(Измененная редакция, Изм. N 1, 2).
5.1. Проведение анализа
Навеску окиси европия массой 2 г помещают в колбу для восстановления европия, добавляют 10 см соляной кислоты, разбавленной 1:1, и растворяют при нагревании. Раствор упаривают до влажных солей, которые растворяют в 20 см
0,25 моль/дм
раствора соляной кислоты. Колбу помещают на магнитную мешалку, в раствор опускают стеклянную трубку, соединенную с баллоном, устанавливают скорость подачи аргона - 90 пузырьков в минуту и продувают раствор аргоном в течение 5 мин. Затем в колбу вводят 2 г цинкового порошка, включают магнитную мешалку и ведут восстановление европия в токе аргона в течение 10 мин. Затем отключают магнитную мешалку, в колбу вводят 12 см
концентрированного раствора аммиака, прекращают подачу аргона, переносят содержимое колбы на воронку Бюхнера и фильтруют через два слоя фильтров. Фильтрат отбрасывают. Колбу, в которой проводилось восстановление, промывают 15 см
соляной кислоты, разбавленной 1:1. Промывной раствор переносят на воронку Бюхнера, растворяют осадок гидроокисей, собирают раствор в чистую колбу, вводят туда 25 см
концентрированного раствора аммиака и отфильтровывают полученный осадок гидроокисей РЗЭ на чистой воронке Бюхнера через два слоя фильтров. Осадок промывают разбавленным раствором аммиака, переносят в предварительно взвешенный тигель, озоляют, прокаливают при температуре 900 °С в течение 1 ч и после охлаждения взвешивают.
Полученную окись европия, обогащенную примесями РЗЭ, подвергают спектральному анализу по ГОСТ 23862.2-79.
Массовую долю окисей неодима, самария, гадолиния () в процентах вычисляют по формуле
,
где - массовая доля окиси определяемого элемента в обогащенной окиси европия, %;
- масса навески анализируемой пробы, г;
- масса навески окиси европия, полученная после обогащения, г.
Расхождения результатов двух анализов (отношение большего результата к меньшему) не должны превышать значения допускаемого расхождения, равного 1,7.
(Введен дополнительно, Изм. N 1).
Электронный текст документа
и сверен по:
Редкоземельные металлы и их окиси. Методы анализа:
Сб. ГОСТов. ГОСТ 23862.0-79-ГОСТ 23862.36-79. -
М.: ИПК Издательство стандартов, 2003