ГОСТ 14339.1-82
Группа В59
МЕЖГОСУДАРСТВЕННЫЙ СТАНДАРТ
ВОЛЬФРАМ
Методы определения углерода
Tungsten. Methods for the determination of carbon
ОКСТУ 1709
Дата введения 1984-01-01
ИНФОРМАЦИОННЫЕ ДАННЫЕ
1. РАЗРАБОТАН И ВНЕСЕН Министерством цветной металлургии СССР
РАЗРАБОТЧИКИ
В.И.Вепринцев, С.Н.Суворова, Н.С.Бородин, Л.В.Михайлова, В.В.Султанян, Н.П.Аникеева, З.А.Исаева, В.И.Виноградов, В.Е.Чеботарев, В.А.Прилепская, Ю.А.Абрамов, Н.Б.Денисов, Л.М.Ефимов, З.К.Стегендо
2. УТВЕРЖДЕН И ВВЕДЕН В ДЕЙСТВИЕ Постановлением Государственного комитета СССР по стандартам от 30.09.82 N 3868
3. ВЗАМЕН ГОСТ 14339.1-74
4. ССЫЛОЧНЫЕ НОРМАТИВНО-ТЕХНИЧЕСКИЕ ДОКУМЕНТЫ
Обозначение НТД, на который дана ссылка | Номер пункта |
2.2 | |
2.2 | |
2.2 | |
2.2 | |
2.2 | |
2.2 | |
2.2, 3.2 | |
2.2, 3.2 | |
2.2 | |
1.2 |
5. Ограничение срока действия снято Постановлением Госстандарта от 27.09.91 N 1525
6. ПЕРЕИЗДАНИЕ (июнь 1999 г.) с Изменением N 1, утвержденным в апреле 1988 г. (ИУС 7-88)
Настоящий стандарт устанавливает потенциометрический и кулонометрический методы определения углерода в металлическом вольфраме, вольфрамовом ангидриде, паравольфрамате аммония и вольфрамовой кислоте (при массовой доле углерода от 0,0005 до 0,5%).
1. ОБЩИЕ ТРЕБОВАНИЯ
1.1. Общие требования к методам анализа - по ГОСТ 29103.
2. ПОТЕНЦИОМЕТРИЧЕСКИЙ МЕТОД ОПРЕДЕЛЕНИЯ УГЛЕРОДА
2.1. Сущность метода
Метод основан на сжигании анализируемого образца в токе кислорода в трубчатой печи при 1250-1350 °С с последующим поглощением образующейся двуокиси углерода раствором электролита.
Углекислый газ, поглощаясь электролитом, изменяет рН раствора и тем самым изменяет потенциал электродов, далее электролит титруют раствором гидрата окиси бария до первоначального значения рН (9,7-10).
(Измененная редакция, Изм. N 1).
2.2. Аппаратура, реактивы и растворы
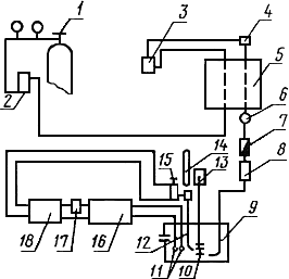
Установка для определения содержания углерода, приведенная на чертеже, состоит из баллона 1 с редукционным вентилем и кислородом (ГОСТ 5583); ротаметра типа РС-ЗЛ или РМ-А 2; склянки 3 с аскаритом; загрузочного затвора 4; двухтрубчатой печи 5 с селитовыми нагревателями, обеспечивающими нагрев до (1300±20) °С; пылевого фильтра 6; капиллярного дросселя 7; склянки 8, наполненной гранулированной двуокисью марганца; электролитической ячейки 9; мешалки 10; электродной системы 11; капельницы 12 для ввода в ячейку титранта; электромотора 13; бюретки 14 вместимостью 10-25 см; магнитного клапана 15; рН-метра 16 типа рН-340 или рН-121; нормального элемента 17; блока автоматического титрования 18 (БАТ-15, БАТ-12ЛМ).

Примечание. Вместо бюретки 14, магнитного клапана 15 можно использовать автоматическую бюретку - дозатор Б-701. Электролитическую ячейку 9 вместимостью 200 см можно заменить сосудом с пористым фильтром N 2 или 3 вместимостью 100 см
.
Допускается использовать анализатор, обеспечивающий точность не ниже указанной в стандарте.
Нормальный элемент подключают в случае использования рН-метра рН-340 и БАТ-12ЛМ.
Марганец сернокислый по ГОСТ 435.
Аммиак по ГОСТ 3760.
Гранулированная двуокись марганца: 200 г сернокислого марганца растворяют в 2500 см горячей воды, затем в раствор прибавляют 25 см
аммиака; добавляют 1000 см
22,5%-ного раствора надсернокислого аммония и смесь кипятят в течение 10 мин. Во время кипения прибавляют аммиак до щелочной реакции, после чего раствор выдерживают до полного выделения осадка двуокиси марганца. Осадок отфильтровывают, промывают и сушат при 110 °С.
Аскарит.
Известь натронная.
Аммоний надсернокислый по ГОСТ 20478, 22,5%-ный раствор.
Лодочки фарфоровые ЛС-2, ЛС-4 по ГОСТ 9147.
Трубки огнеупорные муллитокремнеземистые внутренним диаметром 20-21 мм.
Калий хлористый по ГОСТ 4234, насыщенный раствор.
Барий хлористый по ГОСТ 4108, раствор электролита: 10 г хлористого бария растворяют в 1000 см дистиллированной воды и к полученному раствору приливают 10 см
этилового спирта.
Бария гидрат окиси по ГОСТ 4107, насыщенный раствор: гидрат окиси бария растворяют в дистиллированной воде (предварительно прокипяченной в течение 2 ч и охлажденной до комнатной температуры). Полученный раствор разбавляют в 30 раз. Раствор хранят в бутылях, снабженных трубками с натронной известью.
Спирт этиловый ректификованный технический по ГОСТ 18300.
Стандартные образцы категории ГСО, ОСО, СОП, в которых содержание компонента не отличается от анализируемого более чем в два раза.
(Измененная редакция, Изм. N 1)
.
2.3. Подготовка к анализу
К выходу рН-метра подключают блок автоматического титрования через последовательно включенный нормальный элемент. Настраивают рН-метр и блок автоматического титрования по прилагаемым инструкциям к этим приборам.
Электродную систему настраивают по буферному раствору рН 9,18-9,22 (фиксанал 0,01М раствора тетраборнокислого калия).
Фарфоровые лодочки прокаливают в токе кислорода при 1280 °С в течение 3 мин.
Электролитическую ячейку заполняют электролитом 200 см, а в случае ячейки с пористой перегородкой 100 см
.
Устанавливают расход кислорода 700 см в 1 мин. Включают БАТ на титрование и доводят рН до 10.
Сжигая 3-4 навески стандартного образца, устанавливают титр гидрата окиси бария.
Образцы вольфрамовой кислоты прокаливают в течение 4 ч при (650±10) °С до вольфрамового ангидрида.
Образцы паравольфрамата аммония переводят в вольфрамовый ангидрид прокаливанием при (650±10) °С в течение 1,5 ч.
Вольфрамовый ангидрид сжигают в токе кислорода без предварительной обработки.
Образцы металлического вольфрама очищают от возможного загрязнения, промывая в 5-10 см спирта.
2.4. Проведение анализа
В зависимости от массовой доли углерода в анализируемой пробе берут различные навески в соответствии с табл.1.
Прокаленную лодочку с навеской анализируемой пробы помещают в трубку для сжигания, закрывают затвор и включают блок автоматического титрования на титрование.
Окончание анализа фиксируется блоком автоматического титрования и по бюретке отсчитывается количество раствора гидрата окиси бария, израсходованного на титрование.
Сжигание стандартного образца для установления титра проводят после каждой пятой проанализированной пробы.
Таблица 1
Массовая доля углерода, % | Масса навески, г |
От 0,0005 до 0,001 | 2,00 |
Св. 0,001 " 0,005 | 1,00 |
" 0,005 " 0,05 | 0,50 |
" 0,05 " 0,5 | 0,25 |
2.5. Обработка результатов
2.5.1. Массовую долю углерода () в процентах вычисляют по формуле
,
где - объем раствора гидрата окиси бария, израсходованный на титрование анализируемого раствора, см
;
- объем раствора гидрата окиси бария, израсходованный на титрование раствора в контрольном опыте, см
;
- титр раствора гидрата окиси бария, выраженный в г/см
углерода;
- масса навески, г
.
2.5.2. Абсолютные допускаемые расхождения результатов трех параллельных определений при доверительной вероятности =0,95 не должны превышать значений величин, указанных в табл.2.
Таблица 2
Массовая доля углерода, % | Абсолютное допускаемое расхождение, % |
От 0,0005 до 0,001 | 0,0003 |
Св. 0,001 " 0,003 | 0,0004 |
" 0,003 " 0,01 | 0,001 |
" 0,01 " 0,03 | 0,002 |
" 0,03 " 0,1 | 0,004 |
" 0,1 " 0,3 | 0,015 |
" 0,3 " 0,5 | 0,025 |
(Измененная редакция, Изм. N 1).
3. КУЛОНОМЕТРИЧЕСКИЙ МЕТОД ОПРЕДЕЛЕНИЯ УГЛЕРОДА
3.1. Сущность метода
Метод основан на сжигании анализируемого образца в токе кислорода в трубчатой печи при 1200-1250 °С с последующим поглощением образующейся двуокиси углерода раствором электролита.
Затем электролит электролизуется для восстановления исходного рН, и по количеству израсходованного электричества в процессе электролиза измеряют содержание углерода.
3.2. Аппаратура, реактивы, растворы
Кулонометрический анализатор АН-7560 или любого другого типа для данного диапазона определения содержания углерода.
Печь сопротивления, обеспечивающая нагрев до (1300±20) °С.
Баллон с редукционным вентилем с кислородом по ГОСТ 5583.
Лодочки фарфоровые ЛС-2 и ЛС-4 по ГОСТ 9147.
Трубки огнеупорные муллитокремнеземистые внутренним диаметром 20-21 мм.
Спирт этиловый ректификованный технический по ГОСТ 18300.
Стандартные образцы категории ГСО, ОСО, СОП, в которых содержание компонента не отличается от анализируемого более чем в два раза.
(Измененная редакция, Изм. N 1).
3.3. Подготовка к анализу
Фарфоровые лодочки прокаливают в токе кислорода при 1280 °С в течение 3 мин.
Включают анализатор в сеть и настраивают. Калибруют анализатор по стандартным образцам.
Образцы вольфрамовой кислоты обезвоживают и прокаливают в течение 4 ч при (650±10) °С до вольфрамового ангидрида.
Образцы паравольфрамата аммония переводят в вольфрамовый ангидрид прокаливанием при (650±10) °С в течение 1,5 ч.
Вольфрамовый ангидрид сжигают в токе кислорода без предварительной обработки.
Образцы металлического вольфрама очищают от возможного загрязнения, промывая в 5-10 см спирта.
3.4. Проведение анализа
В зависимости от массовой доли углерода в анализируемой пробе берут различные навески в соответствии с табл.1.
Лодочку с подготовленной пробой помещают в трубку для сжигания, закрывают затвор и включают прибор на титрование.
(Измененная редакция, Изм. N 1).
3.5. Обработка результатов
3.5.1. Массовая доля углерода в процентах за вычетом содержания углерода, найденного в контрольном опыте, соответствует показанию цифрового табло прибора.
3.5.2. Абсолютные допускаемые расхождения результатов параллельных определений при доверительной вероятности =0,95 не должны превышать значений величин, указанных в табл.2.
(Измененная редакция, Изм. N 1).
3.5.3. Метод применяют при разногласии в оценке качества вольфрама.
Электронный текст документа
и сверен по:
Вольфрам. Методы определения углерода
и серы: Сб. ГОСТов. -
М.: ИПК Издательство стандартов, 1999